Honda V4 Superbike, spunta il primo brevetto

Honda V4 Superbike, spunta il primo brevetto
I brevetti depositati da Honda svelano qualche aspetto in più sulla prossima supersportiva con propulsore V4 derivata dalla MotoGP
13 marzo 2014

Di poche moto si è saputo per certo l’arrivo come della nuova V4 con cui Honda promette di rivoluzionare il mondo delle supersportive. Alcune voci giravano già da qualche tempo – ma era successo anche in occasione della nascita della RC211V, complice un propulsore talmente raffinato nelle lavorazioni da sembrare un’unità pronta all’industrializzazione – ma a settembre 2012 qualunque dubbio è stato spazzato via dalle parole dell’AD Honda in persona, Takanobu Ito. Che senza mezzi termini ha parlato di una moto spinta da un V4 e dotata di tecnologie acquisite in MotoGP.

I paralleli fra questo modello e la “Production Racer” RCV1000R sono stati richiamati più volte (senza però mai sbilanciarsi in conferme ufficiali) da parte di diversi rappresentanti della Casa di Tokyo, dunque abbiamo dato per scontato diverse soluzioni architetturali quali l’angolo compreso fra i cilindri (90°) ma anche, banalmente, la cilindrata inferiore a 1.000 cc vista la più volte sottintesa partecipazione in Superbike del modello. Una moto che, nonostante un prezzo vociferato fuori scala, dovrebbe quindi essere veramente in grado di cambiare in maniera profondissima il panorama delle moto sportive anche se i ritardi accumulati (ce la aspettavamo per la scorsa edizione di EICMA) hanno un po’ raffreddato gli entusiasmi.

 

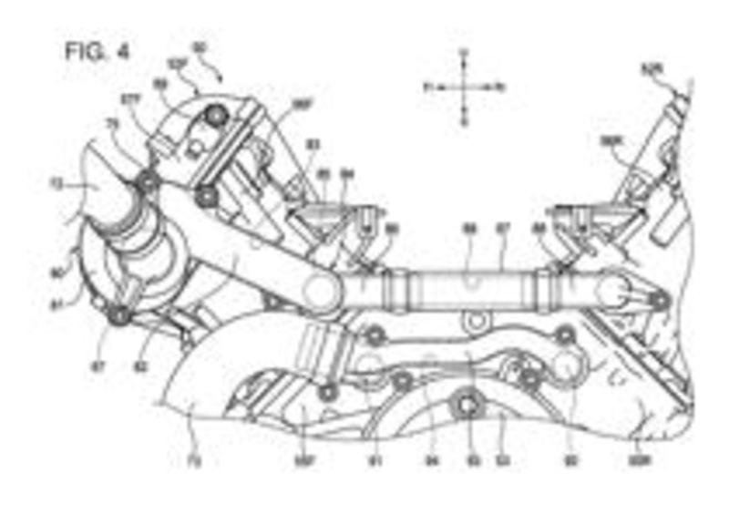
A tenere alto l’interesse ci pensano i brevetti scovati dalla rivista spagnola SoloMoto, che ha pubblicato i disegni (liberamente disponibili su Google Patents) relativi al motore depositati già da marzo 2012 e che erano evidentemente sfuggiti anche agli occhi più attenti della stampa motociclistica mondiale.

Ciò che balza subito all’occhio – a parte l’identità posizionale con la soluzione impiegata sulla RC213V, con il motore ruotato all’indietro di circa 45° per contenerne la lunghezza ed ottimizzare l’altezza del baricentro in ottica dei trasferimenti di carico in frenata ed accelerazione – è la compattezza verticale delle testate, che in assenza di altre indicazioni potrebbe lasciare intendere uno schema come quello Unicam utilizzato su CRF e VFR1200F. Si tratta però di una soluzione teoricamente poco consona ad un motore ad elevatissime prestazioni per il (limitato) sacrificio prestazionale che dovrebbe comportare, dunque aspettiamoci sorprese da questo punto di vista.

 

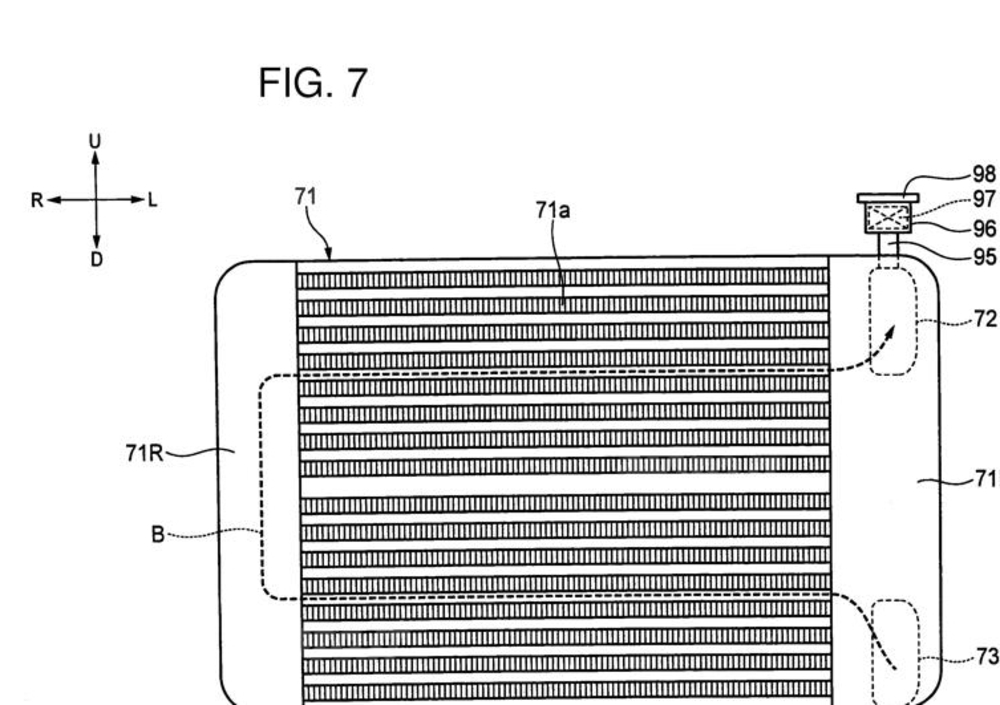
La collocazione del comando pompa acqua sull'asse a camme del cilindro anteriore
La collocazione del comando pompa acqua sull'asse a camme del cilindro anteriore
Naviga su Moto.it senza pubblicità
1 euro al mese

Il brevetto è relativo al sistema di raffreddamento, in cui la pompa dell’acqua viene comandata dall’albero a camme del cilindro anteriore. Non fatevi sviare quindi dall’uso della silhouette di una Fireblade (peraltro del modello precedente all’attuale) con relativi componenti ciclistici come riferimento per il posizionamento generale delle componenti: è prassi comune, nel deposito dei brevetti, usare simili escamotage, proprio per non dare indicazioni ad occhi indiscreti in merito a cosa bolla effettivamente in pentola.

 

Da parte nostra non possiamo che limitarci a scommettere sull’effettiva derivazione del modello stradale dalla RCV1000R, teoria che verrebbe confermata dal ritardo stesso del modello. Anche la Production Racer schierata nella classe Open ha infatti subito diversi ritardi in fase di progettazione (avrebbe dovuto venire svelata ben prima di quando in effetti è stata presentata) ed è abbastanza logico che tale ritardo abbia causato a sua volta un allungamento dei tempi nella definizione di un modello stradale da essa derivato. In quale misura, è ovviamente difficile da dire: ma se le indicazioni di prezzo circolate qualche tempo fa (oltre i 100.000 euro) dovessero rivelarsi fondate, si tratterebbe di un’ulteriore conferma di una parentela più stretta di quanto non si sia visto in tempi recenti in casa Honda.

A questo punto sarebbe quasi inevitabile giocare un’ulteriore scommessa, quella sul nome del modello. Non abbiamo idea della denominazione ufficiale, anche se dovendo puntare ci verrebbe da dire “RVF1000R”. Molto più sicura la puntata sul fatto che, a corollario di tale sigla, troveremo senza dubbio una sigla “RC” come già avvenuto per RC30 (VFR750R), RC45 (RVF750R) ed RC51 (VTR1000SP1). Voi che ne dite?

 

Argomenti

Caricamento commenti...