I gas di scarico possono migliorare maneggevolezza e trazione? Secondo Yamaha sì

I gas di scarico possono migliorare maneggevolezza e trazione? Secondo Yamaha sì
è la tesi di una richiesta di brevetto per un sistema di scarico dotato di deflettori dinamici in grado di sfruttare la spinta dei gas per influenzare il comportamento dinamico della moto. L'obiettivo? Meno impennate e più stabilità in piega
9 dicembre 2025

Davvero curiosa l'ultima idea proposta da un brevetto Yamaha nel quale si propone di trasformare l'impianto di scarico da semplice via d'uscita per i gas combusti a elemento attivo per migliorare handling e prestazioni. I recenti brevetti depositati dalla casa di Iwata descrivono sistemi capaci di direzionare strategicamente i flussi di gas per ottimizzare trazione e stabilità, cerchiamo di capire come.

Sfruttare la spinta dello scarico

Il concetto non è fantascientifico. I gas che escono dallo scarico hanno velocità e pressione elevate. Yamaha propone di sfruttare questa energia per generare una spinta direzionale che influenzi il comportamento della moto. Come? Con un sistema di deflettori mobili che cambiano la direzione del flusso in base alle condizioni di guida.

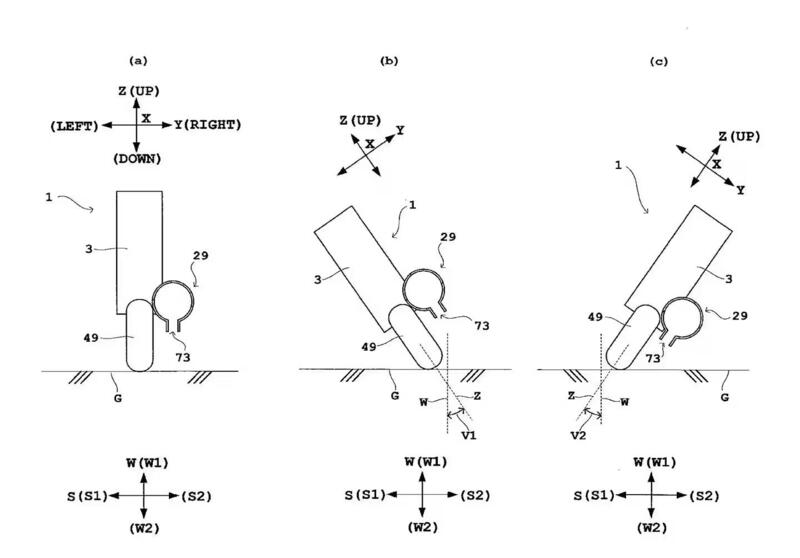
Il primo brevetto scovato da Cycle World descrive uno scarico a doppio terminale controllato da valvole. La prima uscita è ampia e con flusso libero per non soffocare il motore. La seconda è più stretta e angolata verso l'alto. La sezione ridotta accelera il getto di gas, creando una spinta verso il basso e all'indietro che preme la ruota anteriore sull'asfalto.

Naviga su Moto.it senza pubblicità
1 euro al mese

Meno impennate grazie allo scarico

L'applicazione più immediata è il controllo dell'impennata. In uscita di curva o durante accelerazioni brusche, la spinta dei gas diretta verso l'alto aiuterebbe a mantenere la ruota anteriore a terra, migliorando la trazione e consentendo di sfruttare meglio la potenza disponibile. Quando la velocità aumenta e il rischio di impennata si riduce, la valvola si riapre sul terminale principale per massimizzare le prestazioni.

Il secondo brevetto va oltre, proponendo terminali diretti verso il basso che entrano in funzione quando la moto è inclinata. Il ragionamento di Yamaha è pragmatico: agli angoli di piega estremi la moto non può comunque erogare tutta la potenza, quindi perché non redirigere parte dell'energia per stabilizzare il comportamento dinamico?

Una versione evoluta prevede due tubi diretti verso il basso e diagonalmente verso l'esterno, rendendo l'effetto utilizzabile indipendentemente dall'angolo di inclinazione. Il sistema funzionerebbe anche su curve più lente o con angoli di rollio moderati, dove un pizzico di stabilità extra può tradursi in maggiore confidenza e velocità di percorrenza.

L'aspetto più interessante è il contesto normativo. Con le crescenti restrizioni sugli appendici aerodinamici in MotoGP e WorldSBK, i costruttori cercano soluzioni alternative per ottimizzare le prestazioni. Un sistema integrato nello scarico non ricade nelle categorie vietate e sfrutta energia già disponibile, aggirando elegantemente i vincoli regolamentari. Certo, i vantaggi potrebbero essere marginali. Ma nelle competizioni moderne, dove i distacchi si misurano in millesimi, anche un piccolo guadagno in stabilità o trazione può spostare gli equilibri, no?

Due brevetti, un sistema

Sebbene Yamaha abbia depositato due brevetti separati, i disegni tecnici suggeriscono che l'obiettivo finale sia un sistema integrato. Un terminale principale per la massima potenza, affiancato da uscite secondarie per il controllo anti-impennata e la stabilità in piega. Deflettori multipli gestiti elettronicamente aprirebbero il percorso appropriato in base ai sensori di assetto, gas e velocità.

Come sempre con i brevetti, il deposito non garantisce l'arrivo in produzione o in gara. Tuttavia, l'approccio di Yamaha è interessante perché cerca di estrarre valore da un elemento esistente – lo scarico – piuttosto che aggiungere peso e complessità con nuovi sistemi. Potremmo quasi parlare di una "economia circolare dell'energia". Dovesse mai debuttare, è probabile che succederà prima nelle competizioni per vedere se ha un reale riscontro prestazionale o meno.

Credi che questa tecnologia possa davvero fare la differenza o si tratta solo di una complicazione inutile? Dicci la tua nei commenti.

Argomenti