Da supersportiva a turistica con un click: è vero. CFMOTO ci sta lavorando sul serio

CFMOTO starebbe sviluppando un sistema rivoluzionario per regolare la posizione del manubrio e delle pedane in modo elettronico, anche durante la guida. Il brevetto è stato depositato, ecco come funziona
26 giugno 2025

Dopo anni di concept e prototipi mai arrivati in produzione CFMOTO potrebbe sorpenderci realizzando una moto capace di trasformarsi istantaneamente da sportiva a touring, semplicemente premendo un pulsante.

Sì, avete letto bene: il costruttore cinese ha depositato brevetti per un sistema che permette di modificare la posizione del manubrio e delle pedane anche durante la guida, senza compromessi sulla sicurezza.

L'idea tuttavia non è nuova nel mondo delle due ruote. Già nel 1989 Yamaha aveva presentato il concept Morpho, che prometteva esattamente questa innovativa funzionalità. Tuttavia, la complessità tecnica e i costi abbastanza elevati avevano sempre impedito la commercializzazione di una soluzione simile.

Yamaha Morpho
Yamaha Morpho
Naviga su Moto.it senza pubblicità
1 euro al mese

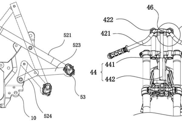
Manubrio regolabile elettronicamente

Il sistema si basa su due componenti principali: un manubrio regolabile elettronicamente in altezza e pedane che si spostano automaticamente per adattarsi alla nuova postura del pilota.

Il manubrio utilizza una soluzione ingegnosa che non richiede modifiche strutturali al telaio esistente. Montato su una staffa in alluminio che scorre su guide verticali integrate nella piastra di sterzo superiore, il manubrio può alzarsi o abbassarsi grazie a un attuatore elettromeccanico comandato dalla centralina della moto. Quando è in posizione bassa, la moto assume la configurazione tipica di una sportiva, mentre in posizione alta offre l'ergonomia di una moto più turistica.

https://amcn.com.au/editorial/cfmoto-creating-variable-riding-position-bike/

Anche le pedane si regolano in modo elettronico

Le due pedane hanno un proprio attuatore elettromeccanico che può essere montato sui telai esistenti che utilizzano il sistema standard di montaggio con i classici due punti di fissaggio, soluzione che troviamo appunto sulla maggior parte delle moto moderne.

Nel brevetto CFMOTO il meccanismo sfrutta il punto di fissaggio superiore come fulcro di rotazione per una sostegno in lega più lungo, con la pedana all'estremità posteriore e l'attuatore nella parte anteriore. Quando l'attuatore si estende verso l'alto, la pedana si abbassa spostandosi in avanti e seguendo un movimento ad arco, offrendo di conseguenza una posizione più rilassata. Al contrario, quando l'attuatore si retrae, la pedana sale e arretra, assumendo di conseguenza una configurazione più sportiva.

https://amcn.com.au/editorial/cfmoto-creating-variable-riding-position-bike/
I segreti di CFMOTO: ci siamo infiltrati nella fabbrica in Cina. Ecco come funziona la catena di montaggio e il loro metodo di lavoro [VIDEO]

Ok, ma le leve di cambio e frizione?

I brevetti CFMOTO non prevedono lo spostamento simultaneo della leva del cambio o del pedale del freno posteriore, operazione che complicherebbe enormemente il sistema. Tuttavia, con la crescente diffusione dei cambi semi-automatici, delle frizioni automatiche e del freno posteriore integrato al manubrio, i comandi a pedale teoricamente possono essere eliminati completamente.

Putroppo il cambio automatico CFMOTO ancora non è in produzione e senza questo grande tassello pedane e manubrio "variabili" non possono - al momento - esistere. Dovremo quindi aspettare ancora un po'. Rimane poi un altro punto interrogativo, quanti cm differenziano le varie impostazioni di guida? In conceto, quanto cambia?

L'idea è sicuramente intrigante: avere una moto con varie anime e assetti. C'è da dire, però, che per avere una moto realmente versatile e così polivalente una forcella elettronica semiattiva unita a un bell'ammortizzatore elettronico sono più che un dovere un reale obbligo. Oltre a cambiare la geometria della posizione di guida anche l'assetto ciclistico della moto dovrebbe seguire il tipo di guida adottato. Aggiungiamo poi il cambio automatico e una bella piattaforma inerziale per gestire al meglio il tutto.

Di carne ce n'è fin troppa sulla brace, ci vorrà tempo.

BMW Riscrive le regole dell'aerodinamica con ventole attive: depositato il brevetto
Suzuki punta sulla fasatura variabile; ora per i motori di piccola cilindrata, domani chissà...
Honda al lavoro sul nuovo sistema di allerta per il cambio di corsia involontario

Fonte, immagini: Australian Motor Cycle

Immagini gerate da IA

Argomenti

Caricamento commenti...