Honda al lavoro sul nuovo sistema di allerta per il cambio di corsia involontario

Honda al lavoro sul nuovo sistema di allerta per il cambio di corsia involontario
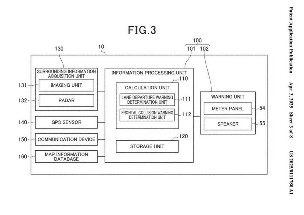
Il sistema sarà integrato nei futuri modelli della produzione giapponese, utilizza una combinazione di telecamere e sensori per monitorare la posizione della moto rispetto alle strisce stradali
15 aprile 2025

Come accade nel mondo delle auto, se il sistema rileva uno spostamento non segnalato dall’attivazione delle frecce, emette un avviso acustico e visivo sul cruscotto, invitando il conducente a correggere la traiettoria. Honda ha svelato questo sistema di allerta per il cambio involontario di corsia, progettato per aumentare la sicurezza stradale e prevenire incidenti causati da distrazioni o manovre improvvise. 

Naviga su Moto.it senza pubblicità
1 euro al mese

Si tratta di una tecnologia che si inserisce nel più ampio impegno di Honda verso la mobilità più sicura e intelligente, affiancandosi ad altri sistemi avanzati come il cruise control adattivo e la frenata automatica d’emergenza. L’obiettivo è ridurre gli errori umani, responsabili della maggior parte degli incidenti. Honda all’opera per arricchire la propria gamma con questo dispositivo di assistenza alla guida, mentre gli esperti del settore sottolineano come simili innovazioni possano contribuire a raggiungere l’ambizioso traguardo "Zero Collision" entro il 2050. Restano da valutare le reazioni dei consumatori, ma una cosa è certa, Honda accelera sulla sicurezza, anticipando le future normative globali. 

Foto: SoyMotero.net

Argomenti

Ultime da News

Caricamento commenti...

Hot now