Honda pensa allo sterzo "assistito"

Honda pensa allo sterzo "assistito"
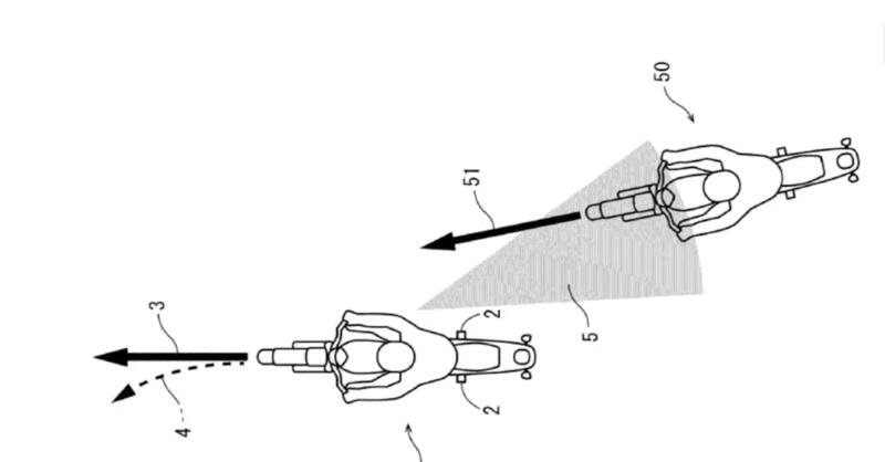
Si potrebbe definire "l'angelo custode di Honda". L'idea è semplice quanto rivoluzionaria: la moto smette di essere un oggetto passivo e inizia a "guardarti le spalle", grazie a una serie di telecamere e sensori che monitorano costantemente gli angoli ciechi
19 dicembre 2025

Immagina di essere in sella alla tua moto, concentrato sulla strada davanti a te, quando improvvisamente senti il manubrio fare un piccolo movimento autonomo, come se una mano invisibile ti stesse dando un colpetto per correggere la traiettoria. È esattamente questa l’idea dietro al nuovo brevetto di Honda, ed è facile capire perché stia facendo sollevare più di un sopracciglio tra i motociclisti.

In pratica, Honda sta cercando di portare sulle due ruote quello che sulle auto chiamiamo "mantenimento della corsia" o "frenata d'emergenza", ma con una sfida tecnica enorme: la moto sta in piedi grazie a un equilibrio precario e dinamico.

Come funziona questo "angelo custode" elettronico?
Il sistema non si limita a far brillare una spia sullo specchietto. Utilizza telecamere e sensori che sorvegliano gli angoli ciechi e, se rilevano un veicolo che sta per venirti addosso, attivano un piccolo motore elettrico (un attuatore) montato sullo sterzo.

Questo motorino imprime una forza sul manubrio per indurre la moto a spostarsi lateralmente e schivare il pericolo. La parte incredibile è che il sistema deve "capire" la fisica della moto: per farti scartare a destra, deve applicare un micro-impulso a sinistra (il famoso controsterzo), il tutto in frazioni di secondo.

Il nodo della questione: chi guida davvero?

La vera complessità non è tecnologica, ma psicologica e tattile. Per un motociclista, il manubrio è il principale sensore di ciò che accade sotto le ruote. Honda sa bene che se il sistema fosse troppo invasivo, il pilota rischierebbe di spaventarsi e reagire in modo brusco, peggiorando la situazione.

Per questo hanno previsto dei sensori di coppia ultra-sensibili:

  • Se tu decidi di sterzare, il sistema lo capisce immediatamente e si fa da parte.

  • Se il sistema interviene, lo fa con una forza che puoi comunque contrastare se ritieni che la manovra sia sbagliata.

Perché se ne parla tanto?

Da un lato c’è l’obiettivo nobile di Honda: arrivare a zero vittime su strada entro il 2050. Dall'altro c'è il timore che la moto perda quella connessione pura tra uomo e macchina. Guidare una moto è un esercizio di controllo totale; l'idea che la moto possa "prendere l'iniziativa" rompe un po' quell'incantesimo di libertà che cerchiamo quando saliamo in sella.

C'è anche un aspetto pratico non indifferente: cosa succede se il sistema rileva un falso ostacolo mentre sei in piega massima a 100 km/h? È questo genere di scenari che i tecnici giapponesi stanno cercando di risolvere prima di portare questa tecnologia su strada.

Naviga su Moto.it senza pubblicità
1 euro al mese