Kawasaki ibrida. Spunta il brevetto della batteria

Cominciano a trapelare dettagli tecnici del progetto Kawasaki di una moto spinta da un motore tradizionale a benzina e da uno elettrico
18 gennaio 2021

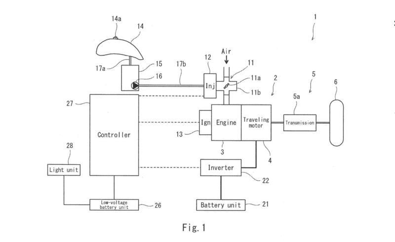
Kawasaki già tempo fa ha annunciato l'idea di produrre una moto ibrida, con propulsione combinata a benzina ed elettrica. Ovviamente ci sono pro e contro, ma è sicuramente un progetto molto interessante. Tempo fa abbiamo parlato dell'approccio teorico e abbiamo visto gli schemi funzionali depositati dalla casa giapponese.  Dai disegni si deduce come la moto possa utilizzare il motore elettrico singolarmente oppure affiancato a quello endotermico. In alternativa il motore a benzina può essere attivato per generare elettricità e ricaricare le batterie. Il risultato è un mezzo con lo spunto di un veicolo elettrico e l'autonomia di un benzina, sarebbe ecologico e versatile.

 

Naviga su Moto.it senza pubblicità
1 euro al mese

Più recentemente abbiamo anche visto un teaser con la moto al banco prova dove oltre a un'anticipazione "acustica" è illustrata l'idea che sta alla base del motore ibrido: propulsione a benzina dei tratti extraurbani come superstrade o autostrade, esclusivamente elettrico in città e combinato nell'extra urbano misto, sfruttando la coppia dell'elettrico e l'autonomia del termico.

 

Ora, grazie ad un nuovo brevetto, cominciano ad emergere anche caratteristiche tecniche della moto ibrida Kawasaki. Nello specifico si tratta in particolare della batteria e del sistema che gli permetterà di immagazzinare l'energia prodotta dal motore termico. In dettaglio si distingue lo schema secondo cui verranno disposte le celle agli ioni di Litio e il sistema di gestione della batteria, i relè, i fusibili, ecc. Il progetto ha inoltre un elevato grado di dettaglio e arriva a mostrare persino le alette di raffreddamento integrate nell'involucro.

Certamente un simile stato di avanzamento del progetto fa pensare che ci si trovi in fase avanzata di prototipazione. Difficile fare previsioni su quando vedremo in strada la prima Kawasaki ibrida, ma non ci sarebbe da stupirsi se succedesse già nel 2021.

 

Foto: paddock-gp.com

Caricamento commenti...