Kawasaki pensa ad una moto ibrida con il boost

Kawasaki pensa ad una moto ibrida con il boost
La casa di Akashi ha brevettato una soluzione dove accoppia un motore endotermico ad uno elettrico
15 ottobre 2020

Il mondo dei brevetti non manca mai di offrire qualche spunto interessante riguardo le strade che i vari costruttori intendono seguire per affrontare le sfide della mobilità.

Non è certamente un mistero che praticamente tutti i più importanti marchi abbiano studi in corso sulla propulsione elettrica, e Kawasaki è tra questi. Oltre ad essere piuttosto avanti sul suo progetto Endeavor, appaiono adesso altri brevetti che spostano il focus dalla propulsione elettrica a quella ibrida.

Il sito bennets.com pubblica infatti alcuni disegni relativi a dei brevetti richiesti da Kawasaki che sono molto espliciti in tal senso: al motore endotermico viene abbinata una piccola power unit elettrica, e mantenendo il cambio a sei rapporti. La moto usata nei disegni per esemplificare il funzionamento della soluzione appare piuttosto convenzionale: è proprio questa la forza della propulsione ibrida, mantenere il layout della motocicletta simile ad una moto a motore endotermico grazie all'assenza di un pacco batterie di dimensioni esagerate.

I brevetti Kawasaki mostrano che i due motori sono collegati tramite una frizione unidirezionale, consentendo di avere in presa o soltanto il motore termico, o solo quello elettrico o entrambi insieme. Il motore elettrico è anche concepito per funzionare come generatore, ricaricando la batteria quando il motore a benzina è in uso.

Naviga su Moto.it senza pubblicità
1 euro al mese

Ma se sulla Endeavor il pacco batterie è gigantesco e pesante, la soluzione ibrida pone il motore elettrico in una condizione tale da non aver bisogno di accumulatori ingombranti e potrebbe veramente risultare l'uovo di colombo.

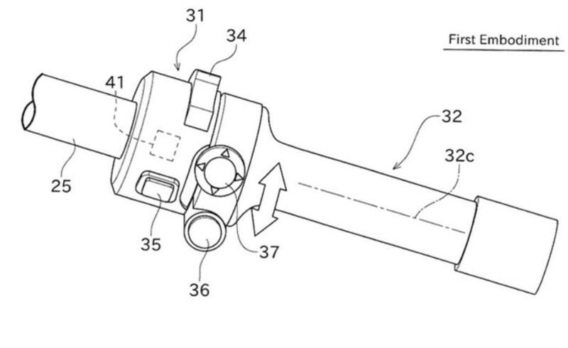
Inoltre, le possibilità di interazione tra il motore a scoppio e quello elettrico, supportate da un cambio meccanico, possono dare vita a differenti riding mode (che immaginiamo abbiano riflessi sui consumi e sulle prestazioni complessive) che nel caso dei brevetti Kawasaki vengono gestiti dal pulsante a quattro vie accanto alla manopola del gas; in più, come possibile anche su altre realizzazioni green, potrebbe essere possibile avere un boost elettrico durante la marcia con il propulsore termico.

Peculiarità del sistema è quello di avere questi pulsanti solidali alla manopola del gas e rotanti con essa, mantenendo così sempre i comandi dei riding mode e del boost a portata di pollice.

Vedremo se e quanto questi brevetti saranno trasferiti in un prodotto di larga produzione.

Fonte e foto: bennets

Caricamento commenti...