Yamaha al lavoro su un forcellone a geometria variabile

Yamaha al lavoro su un forcellone a geometria variabile
Un sistema rivoluzionario che modifica dinamicamente passo e assetto per adattarsi alle esigenze di guida e migliorare le prestazioni. Un sistema che consente al retrotreno Yamaha di trasformarsi in tempo reale, aprendo nuove frontiere nella ciclistica delle moto
10 febbraio 2026

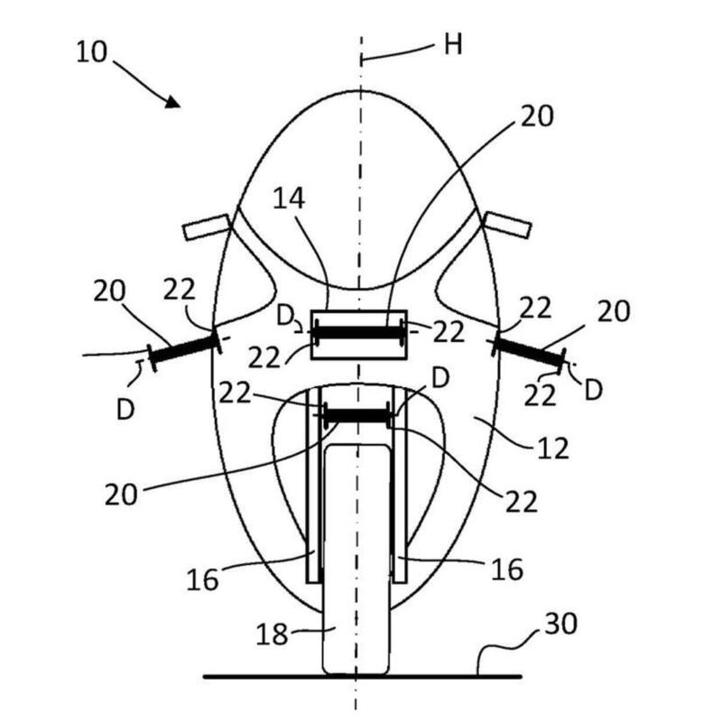
Yamaha sta lavorando a un forcellone posteriore “a geometria variabile”, un’idea che punta a riscrivere il modo in cui la ciclistica delle moto reagisce alle diverse condizioni di guida. Secondo il brevetto, l’obiettivo è modificare in modo controllato parametri chiave come passo, interasse del forcellone e assetto generale, senza stravolgere il telaio principale.

Il sistema prevede componenti mobili e snodi studiati per cambiare la posizione del forcellone rispetto al telaio, intervenendo così sul comportamento dinamico della moto in accelerazione, in frenata e in percorrenza di curva. Senza dubbi una soluzione che apre scenari interessanti.

Naviga su Moto.it senza pubblicità
1 euro al mese

Fino ad oggi la geometria variabile del forcellone era un miraggio per la produzione motociclistica di serie, con pochi modelli che si avvicinano al concetto grazie a regolazioni manuali o design semi-adattivi puntando su pivot eccentrici regolabili, ma nessuno fino ad ora offre un sistema automatico brevettato da Yamaha, capace di modificare dinamicamente la posizione del forcellone

Superbike come la Ducati Panigale V4 permettono di alzare o abbassare il forcellone, riducendo l'anti-squat e migliorando le prestazioni in uscita di curva. L'Aprilia RSV4 segue lo stesso principio, così come la BMW S1000RR M Competition. Si tratta di soluzioni manuali, tipiche del racing, che richiedono un know-how specifico e esigono un lavoro d’officina o da “box”.

Al momento l’idea formalizzata sulla carta da Yamaha non ha conferme su un debutto in produzione o nei campionati. Ma il fatto che un costruttore di peso come Yamaha investa tempo e risorse su un concetto di forcellone “intelligente” suggerisce che il tema della geometria variabile sia destinato a tornare al centro della progettazione motociclistica nei prossimi anni.

Argomenti

Caricamento commenti...