BMW rivoluziona le winglets: arrivano i rotori Flettner sulle moto

BMW rivoluziona le winglets: arrivano i rotori Flettner sulle moto
Un brevetto fresco di BMW porta l’aerodinamica a un nuovo livello: via le classiche winglets fisse, spazio a minuscoli rotori ispirati ai mitici Flettner, per domare deportanza e drag con l’effetto Magnus
27 gennaio 2026

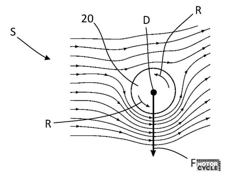
La genesi di questa tecnologia risale al 1920, quando l’inventore Anton Flettner ideò cilindri rotanti verticali per spingere le navi senza vele. Funziona così: un rotore che gira veloce crea una differenza di pressione nell’aria grazie all’effetto Magnus scoperto nel 1853 dal fisico Heinrich Gustav Magnus e già noto a Newton per le traiettorie curve delle palle da tennis. Oggi, nel 2026, le navi lo usano di nuovo per efficienza energetica e ora BMW lo adatta alle due ruote.

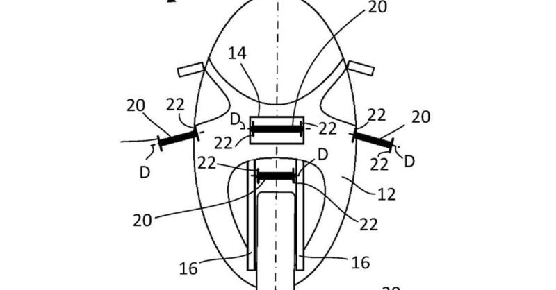
Il progetto prevede rotori compatti (circa 20 cm di lunghezza, 4-5 cm di diametro) posizionati come winglets laterali, più altri tra le forche anteriori, nel musetto per l’aspirazione e sul codino posteriore. Giri da capogiro: 50.000-100.000 rpm, con l’ideale a 80.000, azionati da motori elettrici. L’obiettivo? Risolvere il limite delle winglets statiche, che generano deportanza su moto in costante mutazione tra velocità, imbardate e rollii.

Perché scegliere i rotori? Tre i vantaggi: 1. Insensibilità al beccheggio. Ciò deriva dal fatto che il sistema continua a spingere l’aria indipendentemente dall’angolazione della moto. 2. Velocità regolabile. più grip in accelerazione lenta da curva, zero drag in rettifilo a manetta spegnendo la rotazione. 3. Rotazione inversa in piega. Ciò si traduce in un Topspin esterno e un backspin interno per attirare la moto all'interno della curva.

Naviga su Moto.it senza pubblicità
1 euro al mese

Rispetto alle winglet variabili, come quelle brevettate da CFMoto sulla sua V4 1000, i rotori promettono controllo più semplice e meccanica leggera, senza attuatori capaci di muovere le ali sfidando la resistenza aerodinamica.

BMW non ha svelato date, ma questo brevetto sembra poter garantire una piccola grande rivoluzione in termini di aerodinamica delle moto da competizione più evolute.

Foto: Australian Motorcycle News

Caricamento commenti...