Honda al lavoro sul design aerodinamico della coda

Honda al lavoro sul design aerodinamico della coda
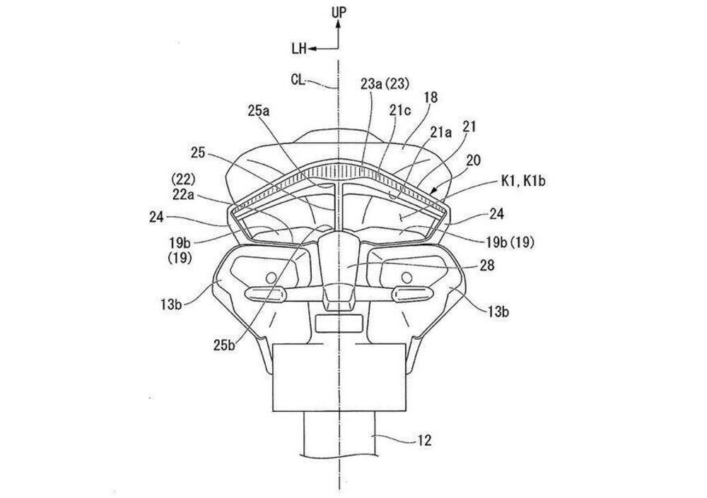
Una recente domanda di brevetto Honda riguarda ali aerodinamiche poste questa volta dietro la sella del pilota e non nella parte frontale della moto
10 aprile 2020

Lo studio aerodinamico finalizzato a dare maggiore deportanza, e quindi superiore stabilità, ha ormai sconfinato il mondo delle competizioni: Ducati, così come Aprilia e ancor più di recente Honda hanno già messo in vendita delle sportive dotate di “ali” nella zone anteriore della carenatura.
Ovvero là dove è utile un maggior carico per stabilizzare l'avantreno in velocità senza ricorrere a quelle modifiche ciclistiche che sarebbero controproducenti in altre circostanze della guida.

Naviga su Moto.it senza pubblicità
1 euro al mese

Il sempre attento sito britannico bikesocial ha scovato e pubblicato i disegni che accompagnano la richiesta di un brevetto Honda.
Riguarda la forma di un particolare spoiler posteriore abbinato a una sella monoposto.

Le “ali” in questione dovrebbero servire a pulire i flussi dietro al pilota e a ottenere anche un carico deportante. Qualcosa che ricorda, estremizzando però, la forma del codino delle Ducati Panigale V4 e Streetfighter e, se volete, che si può notare anche appena accennato sulla Yamaha R1M.

La coda della Ducati V4
La coda della Ducati V4

Questa soluzione aerodinamica è illustrata da disegni di brevetto che hanno come veicolo tipo una moto con motore a quattro cilindri in linea e scarico posto sotto la coda.
Quest'ultima soluzione è stata abbandonata da tempo, superata la moda e superata soprattutto dal fatto che lo scarico siffatto per lo schema a quattro cilindri in linea finisce per essere più pesante e alla fine poco utile (se non forse per un teorico beneficio aerodinamico) rispetto alla tradizionale soluzione inferiore: la MotoGP in questo senso insegna.

Tuttavia la vecchia CB1000R che compare è alla fine un semplice pretesto esplicativo utile a fissare alcuni punti oggetto del brevetto.
Fra questi c'è anche una sorta di borsa portaoggetti, integrata alla sella monoposto, che può essere estratta alla bisogna.
Pazienza se poi si perde la forma aerodinamicamente efficiente della coda.

Comunque la vediate si tratta di idee interessanti che Honda ha registrato, e chissà che non arrivino in futuro su un modello di serie.

Fonte bikesocial

Ultime da News

Hot now

Caricamento commenti...
Honda CB 1000 R ABS (2011 - 17)
Honda

Honda
Via della Cecchignola, 13
00143 Roma (RM) - Italia
848846632
https://www.honda.it/motorcycles.html

  • Prezzo 10.795 €
  • Cilindrata 998 cc
  • Potenza 125 cv
  • Peso 204 kg
  • Sella 825 mm
  • Serbatoio 18 lt
Honda

Honda
Via della Cecchignola, 13
00143 Roma (RM) - Italia
848846632
https://www.honda.it/motorcycles.html

Scheda tecnica Honda CB 1000 R ABS (2011 - 17)

Cilindrata
998 cc
Cilindri
4 in linea
Categoria
Naked
Potenza
125 cv 92 kw 10.000 rpm
Peso
204 kg
Sella
825 mm
Pneumatico anteriore
120/70 ZR17M/C (58W)
Pneumatico posteriore
180/55 ZR17M/C (73W)
Inizio Fine produzione
2010 2017
tutti i dati

Maggiori info