Yamaha brevetta il cambio seamless: prepariamoci a una prossima R1 da MotoGP

Ormai fanno parte del bagaglio tecnico di una MotoGP e non se ne parla più. Ma i cambi seamless, senza soluzione di continuità ancora mancano nella produzione di serie (sistema Honda DCT a parte). Yamaha ha depositato il suo brevetto sportivo
30 maggio 2022

Qualche anno fa il cambio seamless era al centro dell'evoluzione motoristica in MotoGP, le prime marche che lo adottarono ne beneficiarono e gli altri dovettero adeguarsi rapidamente se volevano recuperare decimi preziosi nei tempi sul giro.

Ora si danno per scontati, quasi come le ali aerodinamiche con il loro potenziale sviluppo peraltro superiore, e nella produzione delle moto di serie abbiamo al massimo i comandi rapidi di cambiata.

Ridurre i tempi di cambiata ha il duplice scopo di comprimere i cali di giri al minimo possibile, per non perdere accelerazione nel passaggio al rapporto successivo, e secondariamente di limitare i trasferimenti di carico nell'assetto della moto.

Honda vende da diversi anni modelli dotati di trasmissione DCT a doppia frizione, e con attuatori elettronici, per il cambio marcia. Il vantaggio di questo sistema è nel poter rendere la cambiata automatica e gestita elettronicamente, con differenti mappe a seconda delle necessità d'uso.
Non si tratta di un sistema sviluppato in ottica sportiva ovviamente, anche se i benefici ci sono anche in quel senso, e comporta un aggravio di peso rispetto a una trasmissione tradizionale.

Naviga su Moto.it senza pubblicità
1 euro al mese

In MotoGP sono vietati i comandi elettronici e anche la doppia frizione, per cui i progettisti hanno ideato sistemi meccanici altamente efficienti e per i quali la frizione è necessaria solamente quando si tratta di innestare la prima marcia in partenza oppure quanto occorre mettere il cambio in folle.
Se vi sarà capitato di sentire l'onboard di una MotoGP avrete notato la notevole velocità nel passaggio tra una marcia e l'altra. A questo punto la domanda è: sarebbe utile trasferire la tecnologia seamless su una sportiva di serie?

Al di là delle questioni commerciali e di immagine resta la validità di una soluzione che taglia i tempi di cambiata anche rispetto al migliore quick-shifter in circolazione e che non aggiunge peso o ingombro a un cambio tradizionale.

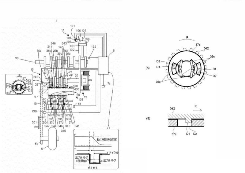
Ducati ha depositato un suo sistema nel 2020 e ora dal Giappone arriva la notizia che Yamaha ha registrato, con data 24 maggio scorso, un cambio seamless meccanico.

La cosa interessante è che per illustrarlo ha utilizzato l'immagine di una YZF-R1. E' ben vero che l'oggetto del brevetto è il cambio e non il mezzo impiegato a scopo dimostrativo, tuttavia indica la volontà di utilizzarlo su una sportiva di serie. Se e quando è naturalmente da vedere.

Da quello che mostrano i disegni si nota il principio del meccanismo di innesto dell'albero del cambio sui rispettivi ingranaggi. Si dovrebbe trattare di un albero sdoppiato in grado di comandare alternativamente le marce pari e quelle dispari, con l'ingranaggio della marcia successiva che ingrana prima che venga staccato quello del rapporto precedente.

I cambi delle MotoGP hanno dimostrato di reggere potenze dell'ordine dei 300 cavalli, ma è vero che hanno costi elevati causati dalla qualità costruttiva e dei materiali impiegati. E poi c'è la questione di affidabilità nel tempo, anche questa una caratteristiche da considerare nella produzione di serie.

Argomenti

Caricamento commenti...

Hot now

Yamaha YZF R1 (2020 - 25)
Yamaha

Yamaha
Via Tinelli 67/69
20050 Gerno di Lesmo (MI) - Italia
848 580 569
https://www.yamaha-motor.eu/it/it/

  • Prezzo 20.699 €
  • Cilindrata 998 cc
  • Potenza 200 cv
  • Peso 199 kg
  • Sella 855 mm
  • Serbatoio 17 lt
Yamaha

Yamaha
Via Tinelli 67/69
20050 Gerno di Lesmo (MI) - Italia
848 580 569
https://www.yamaha-motor.eu/it/it/

Scheda tecnica Yamaha YZF R1 (2020 - 25)

Cilindrata
998 cc
Cilindri
4 in linea
Categoria
Super Sportive
Potenza
200 cv 147 kw 13.500 rpm
Peso
199 kg
Sella
855 mm
Pneumatico anteriore
120/70 ZR17M/C (58W)
Pneumatico posteriore
200/55 ZR17M/C (75W)
Inizio Fine produzione
2019 2025
tutti i dati

Maggiori info