Honda studia un sistema attivo anti-collisione?

Honda studia un sistema attivo anti-collisione?
Tra i molteplici brevetti della Casa giapponese sull'assistenza alla guida, ne appare uno su un sistema attivo di cambio di traiettoria in caso di pericolo
19 aprile 2023

La guida autonoma o assistita in campo auto non è ormai una novità: dai sistemi più avanzati ai "semplici" mantenitori di corsia, moltissime auto moderne vantano efficaci dispositivi elettronici capaci di salvare da situazioni di pericolo o, ancora meglio, di evitarle del tutto.

Questi sistemi vanno diffondendosi, almeno per quanto riguarda alcuni essi come il Cruise Control Adattivo, il Forward Collision Warning e il Blid Spot Detection, anche sulle motociclette ma non si contano più i brevetti richiesti da moltissime Case per tutelare altri e ancora più innovativi sistemi e dispositivi in grado di fornire assistenza alla guida.

 

Naviga su Moto.it senza pubblicità
1 euro al mese

Premessa tecnologica indispensabile per tutti questi ausilii è la piattaforma inerziale e un ecosistema di sensori come telecamere, radar o lidar, in grado di leggere l'ambiente circostante e di attivare le strategie di "protezione" adeguate in base alla situazione. Ma si può andare ancora oltre: come alcuni prototipi hanno mostrato, è possibile che la moto si diriga da sola verso una direzione, resti in piedi anche da ferma o compia tutta una serie di manovre senza il diretto intervento del pilota. Non si vuole, con ogni probabilità, in questi casi mostrare una moto dalla guida totalmente autonoma ma - per esempio - l'Honda Riding Assist che la Casa di Tokio studia fin dal 2017 è finalizzato alla creazione di tutte quelle assistenze alla guida, magari da implementare una alla volta veicolo per veicolo o per sviluppare tecnologie da applicare successivamente.

 

Honda Riding Assist
Honda Riding Assist

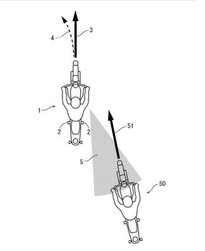
Uno dei punti nodali di tutti questi ausili è il loro modo di relazionarsi con il pilota: la moto è un insieme dinamico e l'intervento autonomo su uno dei comandi (freno, accelleratore, sterzo) potrebbe sorprendere il pilota, con conseguenze imprevedibili. Probabilmente anche per queste ragioni Honda sta sviluppando dei sistemi per la sterzata autonoma o per il recupero della traiettoria ideale in caso di perdita di aderenza, mentre quello che vi presentiamo oggi è un sistema scovato dai nostri colleghi spagnoli di motorbikemag.es che punta ad evitare che un oggetto o un veicolo ci sorprenda alla spalle e causi un incidente.

Di fatto è una versione evoluta dello Blind Spot Detection, del quale sfrutta i sensori che usualmente avvisano con una spia triangolare negli specchietti l'avvicinarsi di un veicolo nell'angolo cieco. In questo caso però, secondo il brevetto, la moto agisce autonomamente se il pilota non attua alcuna manovra: utilizzando la sterzata autonoma, l'accelleratore e il freno la moto può in questi casi individuare il modo per evitare la collisione con il veicolo che arriva da dietro e agire di conseguenza in modo autonomo.

 

Non è detto che un dispositivo di questo tipo raggiunga la produzione così come viene presentato e brevettato: come abbiamo accennato prima, ci sono certo da integrare le criticità sulle reazioni del pilota - ma ricordiamo che Honda ha anche allo studio sensori per valutare la postura del pilota e la sua "reattività" -  ma sicuramente un sistema di questo genere al suo stadio di sviluppo ideale potrebbe essere molto utile per incrementare la sicurezza di guida nella marcia autostradale o in città e, per il tipo di sensori e accessori necessari (ma anche per lo spazio da impegnare a bordo dei veicoli), immaginiamo che le moto capaci di accoglierlo siano almeno in un primo momento le top di gamma.

 

Fonte e foto: motorbikemag.es

Argomenti

Caricamento commenti...