Brevetto Honda per una elettrica a basso costo

Brevetto Honda per una elettrica a basso costo
Honda punta alla massa: il brevetto della moto elettrica "ultra-low cost"
2 febbraio 2026

Mentre i brand occidentali si sfidano a colpi di e-bike di lusso e motociclette elettriche da oltre 30.000 euro, Honda ha deciso di cambiare rotta, puntando dritto al cuore pulsante della mobilità globale: la fascia economica. Un nuovo brevetto depositato dalla casa dell'Ala Dorata rivela il progetto di una motocicletta elettrica "ultra-base", concepita per la produzione in serie e destinata a mercati cruciali come l'India e l'Africa.

L'idea è semplice quanto dirompente: smettere di rincorrere la tecnologia estrema per offrire, invece, un mezzo che sfrutti l'efficienza elettrica per abbattere i costi di gestione per le masse.

Naviga su Moto.it senza pubblicità
1 euro al mese

Il design trapelato dai documenti tecnici non lascia spazio a fronzoli. Honda ha scelto la via della massima semplicità costruttiva per garantire un prezzo d'acquisto estremamente contenuto:

  • Ciclistica "Old School": Il telaio è un classico tubolare a trave portante in acciaio, abbinato a una coppia di ammortizzatori posteriori e — dettaglio quasi anacronistico per l'Occidente ma funzionale allo scopo — un freno a tamburo anteriore azionato a cavo.

  • Powertrain: Al posto del tradizionale monocilindrico raffreddato ad aria, trova posto un piccolo motore elettrico centrale con trasmissione a velocità singola, eliminando la complessità del cambio.

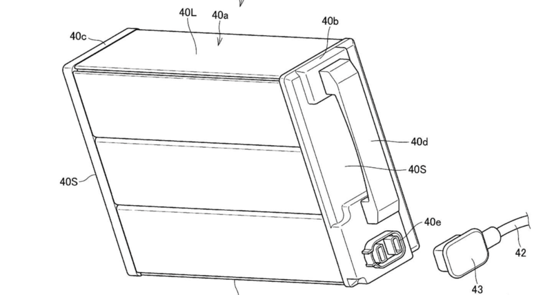
Il vero fulcro del brevetto risiede nel sistema di alloggiamento dell'energia. Honda ha progettato un metodo ingegnoso per gestire le due batterie rimovibili:

  1. Gabbie metalliche laterali: Le batterie sono inserite in due telai metallici posizionati sui fianchi della moto, lì dove solitamente si trova il serbatoio.

  2. Meccanismo a cerniera: Queste gabbie sono incernierate nella parte anteriore e possono ruotare verso l'esterno. Questo movimento "a forbice" permette all'utente di estrarre e inserire le batterie con estrema facilità.

  3. Blocco di sicurezza: Una volta chiuse, le gabbie si allineano perfettamente alla silhouette del mezzo e si bloccano in posizione, proteggendo le batterie dai furti e dalle vibrazioni.

Il successo degli scooter elettrici in Cina ha dimostrato che la rivoluzione elettrica non passa necessariamente per le prestazioni da urlo, ma per l'accessibilità. Con questo progetto, Honda mira a sostituire le indistruttibili 125cc da lavoro che oggi motorizzano intere nazioni, offrendo un mezzo che non richiede benzina e ha una manutenzione quasi nulla.

Se questo modello dovesse arrivare sul mercato, potrebbe rappresentare la vera svolta per la mobilità sostenibile, dimostrando che l'energia elettrica può (e deve) essere uno strumento di risparmio per tutti, non solo un giocattolo costoso per pochi.

Caricamento commenti...