Honda brevetta la frenata anteriore rigenerativa per moto 2WD

Un interessante brevetto che si presta a diverse applicazioni. La ruota anteriore aggiunge le funzioni di trazione e di recupero di energia in frenata con una razionale trasmissione idraulica. E nel principio c'è un pizzico di creatività italiana
14 luglio 2021

Lo scorso mese di aprile Toshihiro Mibe, presidente e CEO di Honda Motor Co., ha dichiarato che entro il 2024 la casa giapponese presenterà tre veicoli elettrici a due ruote.

Il brevetto di cui ci occupiamo qui non si sa se vedrà la luce in quell'occasione o mai, come sempre accade in questi casi, tuttavia ha le caratteristiche per essere giudicato in linea con applicazioni future. Riguarda il recupero di energia in frenata e può essere applicato a motori termici/ibridi come a elettrici puri.

Sfruttare la decelerazione servendosi del generatore di corrente al posto dei freni per produrre energia elettrica è già realtà in campo moto e scooter.

Tuttavia la sua applicazione relegata alla ruota posteriore, quella preposta alla trazione e quindi collegata al motore che diventa generatore durante la frenata, fornisce un apporto ridotto poiché l'inerzia fa sì che la massa del veicolo vada a gravare in maniera preponderante sulla ruota anteriore. Dove infatti i freni sono dimensionati in maniera notevolmente superiore rispetto al retrotreno.

Sulle automobili il problema è affrontato efficacemente con la trazione anteriore, sulle moto la faccenda è più complessa perché aggiungere motricità all'avantreno significa peggiorare la dinamica di guida.
Gli esperimenti fatti finora hanno comportato influenze sulla sterzata, sulla maneggevolezza e sull'aumento delle masse non sospese.

Naviga su Moto.it senza pubblicità
1 euro al mese
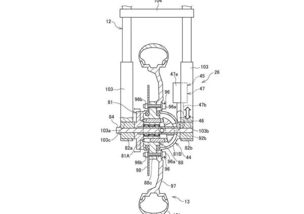
Il mozzo con il motore/pompa
Il mozzo con il motore/pompa

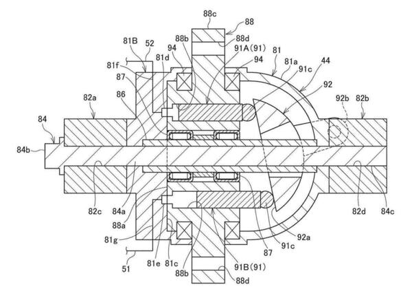
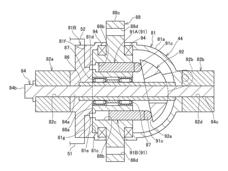
Il brevetto Honda demanda la trazione/rigenerazione anteriore a un motore/pompa idraulico che è integrato nel mozzo della ruota e ha dimensioni compatte.
Il mozzo reca dei fori disposti come il tamburo di un revolver, fori nei quali scorre l'olio idraulico spinto da pistoncini mossi da un piatto oscillante. E' la diversa inclinazione di questo disco, a seconda che si tratti di imprimere spinta alla ruota o invece di riceverne, a far sì che in frenata si inverta in flusso dell'olio.
Durante la frenata l'unità funziona quindi come una pompa e semplici tubazioni idrauliche portano il flusso al generatore di corrente che può essere posizionato nella maniera più opportuna.

Vista la compattezza e la posizione del sistema l'influenza sulle masse non sospese è contenuta e inoltre questo dispositivo è versatile perché può equipaggiare anche veicoli con motore termico a doppia trazione.

Il sistema Badalini

Qualcuno forse ricorderà la trasmissione ideata dall'italiana Badalini e che la stessa Honda utilizzò già nel 1962 sullo scooter Juno e riprese successivamente.

Il sistema di variazione continua della velocità meccanico/idraulico, progettato dall'industria italiana di macchine agricole Badalini, sfruttava proprio l'idea del piatto inclinabile offrendo una migliore efficienza rispetto ad altri convertitori di coppia.

Ma certo all'epoca non esisteva l'elettronica di controllo oggi disponibile che ha permesso di sviluppare ulteriormente quel principio.

La trasmissione Honda HMT era stata successivamente adottata dalla Honda RC250MA che vinse il campionato cross giapponese del 1991, ha equipaggiato come “Hondamatic” alcuni ATV prodotti da Honda dopo il 2000.
Infine nel 2008 venne presentata la stradale Honda DN-01 dotata di un sistema di variazione continua della velocità, sempre idraulica e meccanica, denominato HFT.

fonte Japan Patent Office

 

La RC250MA del 1991
La RC250MA del 1991
Caricamento commenti...