Brevetto motore Honda V4. A volte V2

Si tratta di un nuovo propulsore V4 caratterizzato dall'attivazione dei cilindri posteriori in base alla potenza richiesta
4 giugno 2021

Questo brevetto Honda è stato registrato in Giappone e Stati Uniti nel 2013, ma adesso è stato depositato anche in Europa.
A distanza di molto tempo perché forse la casa nipponica non ha accantonato quel progetto, oltre a proteggerlo anche nel nostro continente.

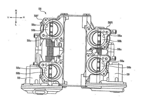
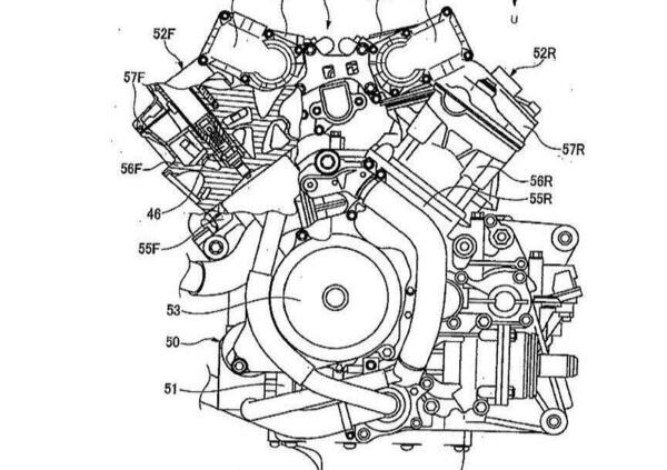
Si tratta di un motore con schema V4 e angolo fra i cilindri apparentemente di 90° e l'oggetto del brevetto riguarda la disattivazione/attivazione dei cilindri posteriori.

Questa possibilità trova già applicazioni sui modelli di serie, a due e a quattro cilindri, e spegne la bancata posteriore nelle soste con il motore al regime di minimo per diminuire il calore trasmesso e ridurre bel contempo consumi ed emissioni. Viene utilizzato ad esempio su alcuni motori Harley-Davidson, Indian e anche sull'ultimo V4 Ducati, oltre che in campo automobilistico.
Questo sistema funziona soltanto ai regimi più bassi anche per non influire negativamente sui catalizzatori (eccesso di ossigeno).

Naviga su Moto.it senza pubblicità
1 euro al mese

Il concetto introdotto da Honda supera tutto ciò perché modifica la consueta circolazione dei gas, ma soprattutto perché ha l'obiettivo di far funzionare il motore anche a regimi più alti avendo i cilindri attivi completamente o parzialmente a seconda della domanda di potenza che arriva dall'acceleratore.

I disegni mostrano la circolazione dei gas freschi in aspirazione e quelli di scarico quando la bancata dei cilindri posteriori è disattivata. Questi ultimi ritornano all'air box dopo che il circuito è stato aperto da una valvola azionata elettronicamente.

Il V4 della MotoGP replica RC213V-S
Il V4 della MotoGP replica RC213V-S

In questo modo sotto tenute sotto controllo anche le emissioni.

Il motore V4, per decenni fiore all'occhiello della capacità tecnica Honda, è di fatto uscito dai listini del colosso giapponese a causa dei passaggi alle normative anti inquinamento, ma anche per via del suo maggior costo rispetto a un quattro cilindri in linea.
Per lungo tempo si è parlato del ritorno di una supersportiva V4 Honda in ottica superbike, ma non si è andati oltre ai rumor, e l'ultima creazione è stata la RC213V-S derivata dalla MotoGP Open.

Tuttavia per un modello di fascia alta, non soltanto sportivo ovviamente, il V4 avrebbe ancora le carte da giocare. Tanto per non lasciarlo solamente a Ducati o ad Aprilia magari...

Caricamento commenti...

Hot now

Honda VFR 800 F (2017 - 20)
Honda

Honda
Via della Cecchignola, 13
00143 Roma (RM) - Italia
848846632
https://www.honda.it/motorcycles.html

  • Prezzo 13.290 €
  • Cilindrata 782 cc
  • Potenza 106 cv
  • Peso 242 kg
  • Sella 789 mm
  • Serbatoio 22 lt
Honda

Honda
Via della Cecchignola, 13
00143 Roma (RM) - Italia
848846632
https://www.honda.it/motorcycles.html

Scheda tecnica Honda VFR 800 F (2017 - 20)

Cilindrata
782 cc
Cilindri
4 a V
Categoria
Gran Turismo
Potenza
106 cv 78 kw 10.250 rpm
Peso
242 kg
Sella
789 mm
Pneumatico anteriore
120/70-ZR17M/C (58W)
Pneumatico posteriore
180/55-ZR17M/C (73W)
Inizio Fine produzione
2017 2020
tutti i dati

Maggiori info

Ultimi articoli su Honda VFR 800 F (2017 - 20) e correlati