Brevetto Honda, dalla Formula 1 alla Superbike

Brevetto Honda, dalla Formula 1 alla Superbike
Una soluzione di scuola F1 applicata a un motore sportivo e brevettata da Honda. Punta all'incremento del rendimento termodinamico e quindi delle prestazioni. Ma serve anche a ridurre consumi ed emissioni
15 dicembre 2020

Honda ha depositato un brevetto motoristico che attinge alla tecnica di Formula 1 e che punta ad aumentare il rendimento termodinamico e a ridurre i consumi.

Il concetto può essere applicato in funzione di contenimento delle emissioni, oppure per incrementare le prestazioni. Il fatto che sia stato trattato su una moto che ricorda l'ultima CBR1000RR Fireblade propende per una applicazione di tipo sportivo.

Come è noto, la combustione completa si ha con un determinato rapporto fra comburente e carburante, ovvero fra l'aria aspirata (che contiene appunto l'ossigeno) e la benzina. E' il famoso rapporto stechiometrico, che i manuali di ingegneria ci spiegano essere di 14,7 kg di aria per 1 kg di benzina.

Naviga su Moto.it senza pubblicità
1 euro al mese

Quando si ha un eccesso di carburante si ha la cosiddetta miscela grassa (o ricca), se l'eccesso è d'aria si ha invece una miscela magra.

Generalmente i motori girano con miscele ricche per mantenere più basse le temperature in camera di combustione ed evitare l'insorgere di detonazioni, con gli inevitabili danni ai pistoni.
Le miscele magre riducono le emissioni, i consumi e in una certa misura possono aumentare le prestazioni.

Nella produzione di serie, Honda già nei primi anni Settanta aveva sviluppato un sistema di combustione controllata sui motori d'auto (il sistema CVCC), ma è nei moderni motori di Formula 1 che l'accensione in precamera ha conosciuto lo sviluppo più spinto: ha permesso di far funzionare i motori con miscele più magre e con rapporti di compressione più elevati, aumentando quindi le prestazioni senza penalizzare l'affidabilità e i consumi.

In pratica, la candela accende una prima piccola porzione di miscela (più ricca di benzina) in una precamera prossima alla candela stessa, e quella miscela accende a sua volta il resto della miscela aria-benzina più magra senza rischiare la detonazione.

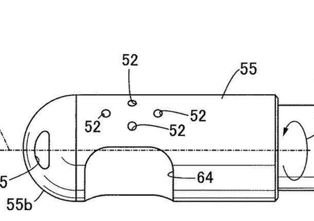
Il brevetto Honda, pubblicato da Ben Purvis su Bennetts.co.uk, si avvantaggia inoltre del doppio iniettore per cilindro (che in F1 è vietato) in un sistema di iniezione mista diretta e indiretta.

In pratica, il primo iniettore agisce tradizionalmente a valle della valvola a farfalla nel condotto di aspirazione, mentre il secondo iniettore opera in una precamera arricchendo la miscela fresca aspirata e compressa. 

La precamera è a ridosso della candela, sopra quella di combustione principale. Le due camere sono messe in comunicazione da un otturatore rotante azionato dalla catena di distribuzione. L'otturato ha dei fori di diversa misura e orientamento, in modo da gestire i passaggi dei gas freschi e innescati dalla scintilla durante le diverse fasi.


Quali applicazioni avrà questo brevetto non lo sappiamo, ma la Formula 1 una strada l'ha nel frattempo segnata.

fonte bennetts.co.uk

Ultime da News

Hot now

Caricamento commenti...
Honda CBR 1000 RR-R Fireblade SP (2020 - 21)
Honda

Honda
Via della Cecchignola, 13
00143 Roma (RM) - Italia
848846632
https://www.honda.it/motorcycles.html

  • Prezzo 26.990 €
  • Cilindrata 1.000 cc
  • Potenza 218 cv
  • Peso 201 kg
  • Sella 830 mm
  • Serbatoio 16 lt
Honda

Honda
Via della Cecchignola, 13
00143 Roma (RM) - Italia
848846632
https://www.honda.it/motorcycles.html

Scheda tecnica Honda CBR 1000 RR-R Fireblade SP (2020 - 21)

Cilindrata
1.000 cc
Cilindri
4 in linea
Categoria
Super Sportive
Potenza
218 cv 160 kw 14.500 rpm
Peso
201 kg
Sella
830 mm
Pneumatico anteriore
120/70 -ZR17"
Pneumatico posteriore
200/55 -ZR17" 
Inizio produzione
2019
tutti i dati

Maggiori info