Honda CBR1000RR Fireblade. Arriva l'aerodinamica attiva?

Honda CBR1000RR Fireblade. Arriva l'aerodinamica attiva?
Dopo gli specchietti, un nuovo brevetto anticipa la possibilità che arrivino rivoluzionarie soluzioni attive in zona fiancate
9 settembre 2019

E meno male che il segmento delle sportive è in costante calo e che le corse della MotoGP - ormai estreme oltre ogni limite - non servono più a sviluppare il prodotto di serie. Ci riferiamo - ironicamente, è ovvio - al fatto che l'aerodinamica sta iniziando a diffondersi anche sulle sportive in versione stradale: la prossima Honda CBR 1000RR con cui la Casa di Tokyo punterà al rilancio in Superbike potrebbe essere dotata di soluzioni aerodinamiche addirittura più avanzate rispetto a quelle utilizzate nella massima categoria.

Come avevamo infatti ipotizzato nel pezzo originale (che trovate qui a seguire) infatti, in Casa Honda non si stanno limitando a lavorare sugli specchietti - che dovrebbero avere funzione deportante - ma ci sono novità ancora più interessanti poco più sotto, sulle fiancate della carenatura, dove un nuovo brevetto colloca addirittura una soluzione aerodinamica attiva.

Naviga su Moto.it senza pubblicità
1 euro al mese

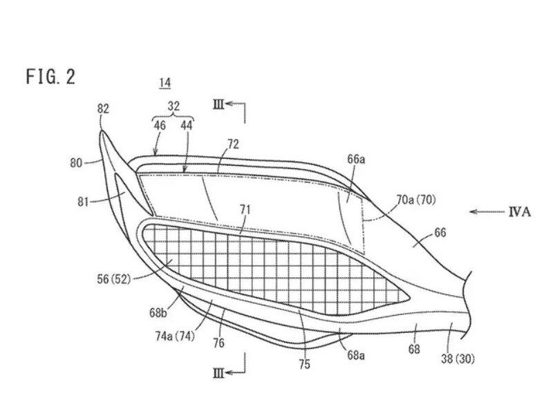
La soluzione appare, a prima vista, molto simile a quella utilizzata l'anno scorso sulla RC213V ufficiale: con una "falsa carenatura" che avvolge le winglets capaci di generare deportanza, rientrando così nel regolamento della MotoGP che esclude la possibilità di utilizzare le più performanti unità aperte che, ad esempio, Ducati ha fatto rientrare "dalla finestra" sulla V4R stradale.

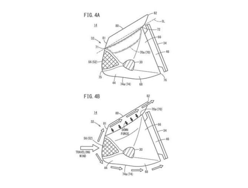
Allo stesso modo, Honda utilizzerebbe qui sulla nuova CBR 1000RR Fireblade (che, a quanto ne sappiamo, sarà una quattro cilindri in linea, deludendo ancora chi, come noi, sperava in una V4) attesa per EICMA 2019 una soluzione non ammessa in MotoGP. Una soluzione di aerodinamica attiva basata su molle di ritorno e cavi che di fatto renderebbe retrattili le alette.

Le due configurazioni attuabili dalla nuova CBR1000RR 2020
Le due configurazioni attuabili dalla nuova CBR1000RR 2020

In questo modo è possibile avere il meglio dei due mondi: una configurazione ad alette estratte che massimizzi il carico aerodinamico in frenata, accelerazione o in percorrenza, e una invece ad alette ritratte che, alle alte velocità, non penalizzi la prestazione di punta.

Curiosi? Noi lo siamo di più. Perchè quando a Tokyo decidono di far vedere cosa sanno fare, da lì escono moto da leggenda.

Articolo originale (26 aprile 2019)

Che Honda sia al lavoro su una nuova supersportiva con propulsore a V, che probabilmente affiancherà senza sostituire la Fireblade, non è sicuramente un mistero. I primi brevetti risalgono al 2014, e da allora, regolarmente, qualche soluzione tecnica viene regolarmente depositata dalla Casa di Tokyo fino a quella distribuzione a fasatura variabile spuntata ad inizio anno. D'altra parte, la scelta del team Moriwaki nel Mondiale Superbike confermerebbe, applicando la teoria di corsi e ricorsi storici alle strategie Honda, l'arrivo di un modello tutto nuovo da portare in gara.

Un altro tassello si aggiunge con il brevetto che vediamo in queste immagini: specchietti retrovisori con funzione aerodinamica. Invece di affidarsi a superfici applicate sulla carenatura come avviene su Aprilia RSV4 e su Ducati V4R (o forse in affiancamento a soluzioni del genere) a Tokyo hanno pensato di generare deportanza servendosi degli specchietti retrovisori, soluzione quantomeno curiosa per un modello che verrà impiegato poi nelle competizioni dove... gli specchietti sicuramente non ci saranno.

Honda non è del resto nuova a questo tipo di applicazioni, anche sul piano aerodinamico: i meno giovani ricorderanno sicuramente la carenatura forata della prima CBR 900RR Fireblade del 1992 all'epoca inutilizzabile in gara. Una cosa è sicura. Ormai ci siamo...

Argomenti

Caricamento commenti...