Honda, brevetto per fasatura variabile. In arrivo la nuova V4?

I documenti depositati mostrano un sistema molto sofisticato. I tempi sono maturi per il ritorno al V4 nelle supersportive di serie
14 gennaio 2019

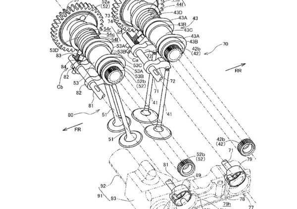
Honda ha depositato presso l’ufficio brevetti americano la documentazione relativa a un nuovo sistema capace di gestire una fasatura variabile per il comando della distribuzione. Non certo una novità in casa Honda, visto che proprio il marchio dell’Ala dorata è stato fra i primi a proporre questa soluzione con il suo VTEC su auto e moto. Quello che però fa riflettere sono la sofisticatezza del dispositivo e la destinazione d’uso, che i disegni sembrerebbero indicare in un modello supersportivo.

Andiamo con ordine: il sistema ricorda abbastanza da vicino nell’operatività il BMW ShiftCam, utilizzando però un sistema idraulico ed agendo anche sul lato scarico. Un sistema quindi più raffinato e complesso rispetto al già citato BMW, al Suzuki Racing VVT o al Ducati DVT, almeno nelle loro implementazioni attuali.

Un sistema quindi intrinsecamente più costoso, e ovviamente destinato ad un modello top di gamma. I disegni del brevetto utilizzano le linee di una CBR 1000 RR Fireblade, modello che già quest’anno è stato oggetto di un aggiornamento di dettaglio limitato alle strategie elettroniche. Come però sappiamo, si tratta di una scelta non indicativa visto che le Case spesso utilizzano altri modelli per sviare l’attenzione della stampa, soprattutto in caso di modelli completamente nuovi, che in questo caso verrebbero svelati in anteprima.

Da parte nostra pensiamo che un sistema del genere, che pure da un punto di vista tecnico sarebbe forse più utile su un quadricilindrico in linea, possa andare a valorizzare ulteriormente un propulsore V4, magari per un nuovo VFR o per quella supersportiva che rappresenterebbe il ritorno ad una vera, raffinatissima Homologation Special per il Mondiale Superbike, da affidare alla nuova squadra Althea-Moriwaki. Attendiamo con ansia nuovi sviluppi.

Naviga su Moto.it senza pubblicità
1 euro al mese
Caricamento commenti...

Hot now