Harley-Davidson e il sistema giroscopico che salva la moto dalle cadute

Harley-Davidson e il sistema giroscopico che salva la moto dalle cadute
La Casa di Milwakee brevetta una nuova tecnologia destinata a rivoluzionare la sicurezza applicata alle moto
10 giugno 2020

Mai come in questi ultimi mesi Harley-Davidson è in una fase di rilancio e di svolta per quanto riguarda la sua filosofia di approccio al mercato, ma senza dubbio alcuni punti rimarranno fermi nella sua produzione e tra questi potremo certamente segnalare le imponenti tourer Road Glide o Ultra Limited, tanto per fare un esempio. Moto belle, riccamente dotate e, nel loro ambito, divertenti ma oggettivamente costruite senza lesinare con l'acciaio e non semplicissime da gestire - per massa e dimensioni - dai principianti o da chi non è avvezzo alla guida di moto così peculiari.

Naviga su Moto.it senza pubblicità
1 euro al mese

È altrettanto vero che saliti in sella alle tourer di Milwaukee bastano poi pochi metri per sentirsi a proprio agio e godere di eccellenti doti dinamiche, ma resta il fatto che alle bassissime velocità o da fermi un'incertezza o una disattenzione potrebbero far inclinare la moto quel tanto che basta per non riuscire più a reggerla con la sola forza delle gambe e delle braccia e costringerci ad abbandonarla appoggiandola a terra, con il collaterale problema poi di rimettere in piedi un bestione da oltre 400 kg, magari da soli o in condizioni poco favorevoli.

Harley-Davidson deve averci pensato e deve, parallelamente, avere pensato anche che - forse - una remora dei motociclisti nell'acquisto di una delle sue sibaritiche tourer potrebbe essere proprio il timore di avere a che fare nel migliore dei casi con situazioni imbarazzanti, o pericolose in quello meno piacevole, e ha appena brevettato un sistema basato su un giroscopio che permette di mantenere la moto in equilibrio a bassissima velocità e da fermo.

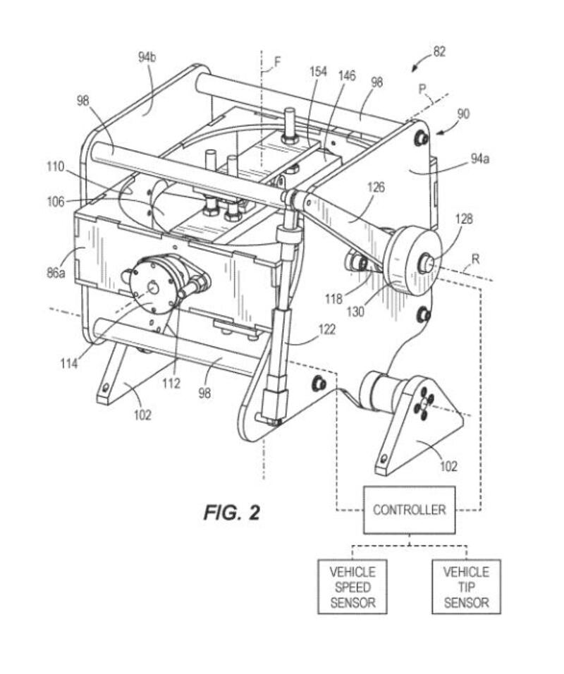
Il "gyroscopic rider assist device" di cui alla richiesta di brevetto 16/196067 dell'ufficio brevetti americano, è un semplice dispositivo giroscopico meccanico che prevede un volano rotante - grazie ad un motore elettrico - ad una velocità tra i 10000 e i 20000 giri/min, ma viene citata anche una variante che ruota tra i 30000 e i 40000 giri/min. Lo stesso giroscopio durante la marcia normale è libero di muoversi nei sensi di rollio e beccheggio, senza influenzare in alcun modo la guida se non per il suo peso. Sono presenti anche dei sensori di inclinazione e di velocità collegati ad un controller che, nel momento in cui la velocità scende sotto le tre miglia orarie e l'angolo di piega rispetto alla verticale viene ritenuto eccessivo, attiva una frizione e un giunto per far inclinare il giroscopio e applicare così alla moto una forza che la riporti in posizione verticale.

I disegni di brevetto si riferiscono ad un alloggiamento dentro bauletto posteriore, il cosidettto Tour-Pak, e in effetti posizionarlo dentro il baule dovrebbe essere il modo più razionale di disporre del massimo effetto della massa rotante e, insieme, di rendere facilmente installabile il sistema anche su le moto già in circolazione o come optional; fermo restando che sarebbe possibile rimuoverlo quando non reputato più necessario o se si volesse disporre di più spazio. Ma approfondendo la descrizione allegata al brevetto scopriamo che viene ipotizzato un suo alloggiamento, a seconda dei modelli, al posto della sella del passeggero, tra la ruota posteriore e la sella proprio sotto il passeggero o al posto del serbatoio (e qui pensiamo all'utilizzo sulla LiveWire).

Non è ancora certa, ovviamente, l'entrata in produzione del "gyroscopic rider assist device", ma ipotizziamo che il recente cambio di direzione strategica in seno ad Harley-Davidson non metterà nel cassetto una soluzione tutto sommato semplice che potrebbe allargare il bacino di utenza del mondo bar&shield.

 

Caricamento commenti...
Cambia moto
  • Prezzo 31.300 €
  • Cilindrata 1.868 cc
  • Potenza 90 cv
  • Peso 399 kg
  • Sella 740 mm
  • Serbatoio 23 lt
Harley-Davidson

Harley-Davidson
Via Privata Bastia, 5
20139 Milano (MI) - Italia
0286886811
hdicustomercare@harley-davidson.com
https://www.harley-davidson.com/it/it/index.html

Scheda tecnica Harley-Davidson 114 Electra Glide Ultra Limited (2020) - FLHTK

Cilindrata
1.868 cc
Cilindri
2 a V
Categoria
Gran Turismo
Potenza
90 cv 67 kw 5.500 rpm
Peso
399 kg
Sella
740 mm
Pneumatico anteriore
BW 130/70B18 63H
Pneumatico posteriore
BW 180/55B18 80H
Inizio Fine produzione
2020 2020
tutti i dati

Maggiori info

Ultimi articoli su Harley-Davidson 114 Electra Glide Ultra Limited (2020) - FLHTK e correlati