BMW, un brevetto di sicurezza passiva in caso di incidente

BMW, un brevetto di sicurezza passiva in caso di incidente
Una zona di deformazione per assorbire l’energia d’impatto negli incidenti motociclistici. E’ l’oggetto di un brevetto di BMW
17 febbraio 2020

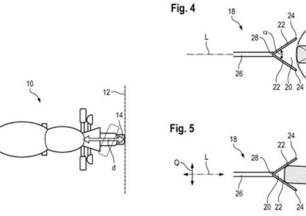
Stando ad alcuni disegni di brevetto, BMW starebbe sviluppando un sistema capace di assorbire una parte dell’energia d’impatto nel più tipico degli incidenti motociclistici: la collisione con un veicolo che sta attraversando la nostra direzione di marcia.

In questi casi solitamente la ruota sterza di lato al momento dell’impatto, riducendo ulteriormente la distanza fra il pilota e l’ostacolo/veicolo: una condizione che lascia meno spazio al pilota per passare sopra all’ostacolo, ed anche una frazione di tempo inferiore all’apertura di un eventuale sistema air-bag.

Naviga su Moto.it senza pubblicità
1 euro al mese

Una struttura aggiuntiva a V, aperta in direzione della ruota anteriore, permette la normale rotazione dello sterzo durante la guida. Ma in caso di impatto frontale la ruota arretra leggermente con una prima deformazione dell’avantreno, per rimanere in posizione diritta "guidata" dalla V: in tal modo, diversamente da come accade altrimenti, la deformazione della sospensione anteriore e del cerchio prosegue ancora, assorbendo energia. Inoltre la stessa struttura che sostiene la “V” è a sua volta deformabile.

Naturalmente la capacità di assorbimento di questa zona di impatto non può essere che limitata, ma rappresenta comunque un piccolo passo in avanti sul fronte della sicurezza passiva. Inoltre richiederebbe una modesta complicazione costruttiva, e potrebbe adattarsi a moto come a scooter.

Ricordiamo che in passato BMW produsse lo scooter C1, dotato di una vera a propria cella di sicurezza, e recentemente sono circolati i disegni di una struttura aggiuntiva dedicata a uno scooter elettrico (vedi qui sotto).

Argomenti

Caricamento commenti...