Bmw: depositata la richiesta di brevetto per la regolazione delle pedane, ecco come funziona

Bmw: depositata la richiesta di brevetto per la regolazione delle pedane, ecco come funziona
Nessun attrezzo, la regolazione della posizione avviene senza l’ausilio di utensili. Un sistema inedito che rende la regolazione della posizione davvero semplice
29 febbraio 2024

Semplice e geniale, questo sistema che riguarda la regolazione della posizione delle pedane, fa parte della richiesta di brevetto di Bmw e che forse vedremo su qualche futuro modello della gamma. Normalmente questo aspetto è stato storicamente relegato a viti e bulloni, una pratica un tantino noiosa che a volte (anche per pigrizia da parte di alcuni utenti) non è andata a segno nel modo più preciso possibile. Grazie a questo sistema le cose potrebbero cambiare, almeno in parte.

 

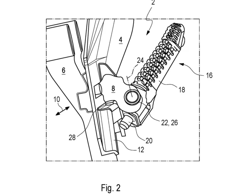
indicato con il numero 20 il perno per l'incastro
indicato con il numero 20 il perno per l'incastro
Naviga su Moto.it senza pubblicità
1 euro al mese

In questa realizzazione il poggia piedi conserva il suo naturale snodo che gli consente di chiudersi verso l’alto come una qualsiasi pedana da moto; tuttavia, dai disegni emerge che questa possiede un prolungamento. Si tratta di un perno posizionato nella parte più interna del poggia piede e il suo ruolo è quello di “agganciarsi” e prendere posizione in una delle sedi di un canale dentato. Il resto lo fa la slitta capace di far scorrere in avanti o indietro l’intera pedana.

dalla parte interna, le sedi possibili per il perno (20)
dalla parte interna, le sedi possibili per il perno (20)

In questo modo sembra davvero semplice ed immediato poter trovare la posizione preferita della pedana, un po' come si farebbe cercando di sistemare la posizione di un sedile d’auto. Anche se è verosimile pensare che la slitta, se posta in modo inclinato, possa fornire anche una regolazione in altezza, non è invece possibile regolarne la posizione in modo totalmente libero, tuttavia il sistema sembra un ottimo compromesso. Vedremo se la cosa andrà avanti, intanto occorre dare atto che il sistema è davvero tanto semplice quanto geniale ed è curioso pensare che fino ad ora nessuno ci aveva mai pensato.

Foto: Cycle World

Argomenti

Caricamento commenti...

Hot now