Bimota: un nuovo progetto anticonvenzionale

Bimota: un nuovo progetto anticonvenzionale
Nuovo anno... nuovo progetto! Bimota ha diffuso un'immagine che riguarda una componente ciclistica non convenzionale: qualcosa che va oltre alla Tesi che conosciamo
17 gennaio 2022

Un sasso gettato nelle calme acque di uno stagno. E' risultato di un post pubblicato da Bimota sui propri canali social: una immagine-indovinello con il breve messaggio “Anno nuovo... nuovo progetto! #therevolutioncontinues”.

La foto mostra un doppio link sovrapposto che non ha nulla a che fare con una sospensione tradizionale. Potrebbe avere a che fare con una struttura a quadrilatero deformabile, e da qui si aprono molteplici possibilità, oppure con l'articolazione di forcellone oscillante anteriore.

Naviga su Moto.it senza pubblicità
1 euro al mese

Molti dubbi e poche certezze, l'effetto di un sasso nello stagno c'è stato.

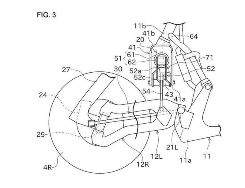
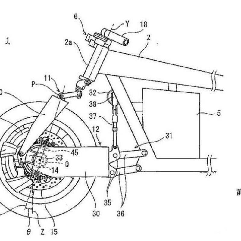
Si possono tentare delle congetture scovando brevetti depositati da Kawasaki, come quello che vedete qui sopra, oppure quell'altro che trovate qui sotto e la cui pubblicazione risale a un periodo successivo all'ingresso nella proprietà della Casa riminese, ma che riguarda un avantreno con doppia ruota simile a quello intravvisto sul Kawasaki Concept-J del 2013.

In ogni caso sebbene tutte le maggiori case hanno mostrato prototipi di multiruota (Yamaha vende da tempo la Niken), va ricordato che Bimota affonda la sua storia proprio nello sviluppo di ciclistiche avanzate, delle quali la Tesi è l'esempio più eclatante e noto ma non è l'unico.

E se la promessa di qualcosa di nuovo arriva dagli uomini dell'ingegner Marconi c'è da star certi che non si rimarrà delusi.
Aspettiamo con curiosità i prossimi sviluppi...

 

Argomenti

Caricamento commenti...
Bimota Tesi H2 (2020 - 25)
Bimota

Bimota
Via Ausa 118
47900 Cerasolo Ausa di Coriano (RN) - Italia
0541 082822
info@bimota.it
https://bimota.it/

  • Prezzo 64.000 €
  • Cilindrata 998 cc
  • Potenza 242 cv
  • Peso 207 kg
  • Sella 830 mm
  • Serbatoio 17 lt
Bimota

Bimota
Via Ausa 118
47900 Cerasolo Ausa di Coriano (RN) - Italia
0541 082822
info@bimota.it
https://bimota.it/

Scheda tecnica Bimota Tesi H2 (2020 - 25)

Cilindrata
998 cc
Cilindri
4 in linea
Categoria
Super Sportive
Potenza
242 cv 178 kw 11.500 rpm
Peso
207 kg
Sella
830 mm
Pneumatico anteriore
120/70ZR17M/C (58W)
Pneumatico posteriore
200/55ZR17M/C (78W)
Inizio produzione
2020
tutti i dati

Maggiori info

Ultimi articoli su Bimota Tesi H2 (2020 - 25) e correlati