Per Yamaha potrebbe essere finalmente arrivato il momento della moto sportiva elettrica

Per Yamaha potrebbe essere finalmente arrivato il momento della moto sportiva elettrica
Una richiesta di brevetto della Casa di Iwata mostra chiaramente una moto sportiva a propuplsione elettrica e riaccende i riflettori su progetti che giacciono da un decennio. Ecco cosa sappiamo
7 agosto 2024

L'entusiasmo di una decina d'anni fa per le prime moto sportive elettriche ad alte prestazioni sembra essersi ultimamente affievolito, ma è destinato a ridestarsi molto presto. Proprio le Case giapponesi, in particolare Honda e Yamaha, sembravano già sul punto di lanciare delle moto a batteria potenti e raffinate tanto che proprio quest'ultima, nel 2013, parlava di lanciare entro un paio d'anni delle moto ispirate al prototipo PES1 presentato a Tokyo ed evoluto poi anche nel PES2 del 2015. Per vari motivi - che ora non approfondiremo - l'attesa di quei modelli persiste ancora oggi nonostante altre Case abbiano cercato di creare questo mercato come Energica, Zero Motorcycles e LiveWire. In molti continuano a chiedersi come mai proprio le giapponesi che hanno sempre avuto il pallino dell'avanguardia siano invece più attendiste, almeno apparentemente, su questa tecnologia. E come mai Yamaha che sembrava sul punto di lanciare la moto sportiva elettrica di lì a poco invece ha rinviato tutto?

Naviga su Moto.it senza pubblicità
1 euro al mese

Cosa mostra il brevetto di Yamaha?

Molti interrogativi rimangono ancora aperti e di fatto ad oggi nel catalogo Yamaha di elettrico troviamo lo scooter Neo's EV e le tre ebike. Come possiamo facilmente immaginare però non si è mai smesso di lavorare negli angoli bui dei sottoscala giapponesi e di tanto in tanto questo minuzioso lavoro segreto viene a galla per merito (o per colpa) delle richieste di brevetto. Poco tempo fa abbiamo parlato di Kawasaki che sarebbe al lavoro, tra le altre cose, su una cross elettrica così come Suzuki e la stessa Yamaha. Ma finora è stato più raro imbattersi nei progetti di moto elettriche stradali e sportive come quello di cui parliamo in questo caso. Proprio la Casa di Iwata ha recentemente depositato una richiesta di brevetto che mostra una moto elettrica chiaramente focalizzata sulle prestazioni. Il brevetto mostra una moto sportiva con un telaio dall'aspetto convenzionale con una parte anteriore a traliccio e una piastra per il perno forcellone che potrebbe essere in alluminio. E la mostra con e senza carena. Questo ci permette di notare come al centro del telaio non ci sia un motore a combustione ma una grossa cassa alettata che contiene batterie ed elettronica. Il motore elettrico è montato più indietro possibile, proprio a cavallo del perno forcellone e la trasmissione sfruterebbe prima un riduttore e poi una finale a catena. Questo comporta una posizione particolare dell'ammortizzatore posteriore che proprio per lasciare spazio al motore, si trova molto in alto.

Nella domanda di brevetto Yamaha la moto viene mostrata anche completamente carenata
Nella domanda di brevetto Yamaha la moto viene mostrata anche completamente carenata

Ma cosa riguarda il brevetto?

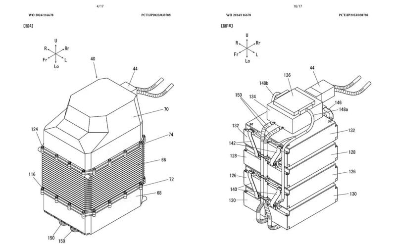
La richiesta di brevetto di Yamaha è relativa alla custodia della batteria. Mentre alcune motociclette elettriche ad alte prestazioni utilizzano batterie raffreddate a liquido, il progetto di Yamaha mostra un raffreddamento ad aria con l'obiettivo di una struttura più semplice e di un peso inferiore. Come stiamo ormai imparando, le batterie dei veicoli elettrici sono sensibili alla temperatura e funzionano al meglio entro un intervallo ristretto richiedendo talvolta il riscaldamento quando sono fredde o il raffreddamento quando sono calde per poter sfruttare il loro potenziale. Come avviene proprio per i motori endotermici, anche per le batterie il raffreddamento a liquido aiuta a mantenerle in quel punto ottimale, ma ovviamente comporta radiatori, tubi, pompa e sensori. Insomma maggior complessità e peso. Il raffreddamento ad aria, al contrario, ha il vantaggio di ridurre questi aspetti e contenere anche i costi. In ciò è importante considerare che si prevede che le future generazioni di batterie saranno in grado di far fronte a una più ampia gamma di temperature. Non dimentichiamoci, infatti, che è proprio sulle batterie che si stanno concentrando gli sforzi di ricerca. Se nelle auto il problema dello spazio e della complessità appare come relativo, nelle moto come sappiamo non lo è affatto.

Oggetto del brevetto è l'involucro della batteria
Oggetto del brevetto è l'involucro della batteria

Il progetto di Yamaha punta dunque a semplificare come dicevamo la custodia della batteria e lo fa utilizzando una fusione centrale e sezioni superiori e inferiori a forma di vasca. Le giunture sono limitate al massimo per ridurre le possibilità di infiltrazioni d'acqua. All'interno troviamo quattro piattaforme, ciascuna delle quali ospita due moduli batteria. Il fondo e i lati della custodia della batteria così come le parti inferiori di ciascuna delle piattaforme interne sono alettati per dissipare il calore e ottenere maggior rigidità senza aumentare il peso. Nella parte superiore troviamo l'elettronica di controllo mentre l'inverter è appeso sotto. Altro particolare importante: c'è un caricabatterie di bordo ed è posizionato sotto la sella. 

 

Quando la vedremo?

Difficile sbilanciarsi su una data precisa. Riteniamo che Yamaha abbia tutto ciò che serve per poter uscire anche subito o quasi ma l'impressione è che, come altre Case, stia attendendo il momento più propizio per farlo. In questi anni ha sviluppato internamente moto elettriche delle quali però non sappiamo praticamente nulla o quasi. Non dimentichiamoci, inoltre, che ha accumulato esperienza con i motori elettrici non solo nel mondo ebike dove è uno dei principali costruttori di motori al mondo, ma anche costruendo per altri motori che vanno dai 35 kW fino ai 350 kW! 

Fonte: Cycle World.

Hot now

Caricamento commenti...