BMW e il boxer del futuro: guardate che brevetti sorprendenti

BMW e il boxer del futuro: guardate che brevetti sorprendenti
Dal passato prende l'intuizione della forma, dal presente la tecnologia del futuro. Ecco il boxer elettrico di BMW
15 giugno 2022

Lo abbiamo già visto il Boxer di BMW. L'abbiamo visto sulla Vision DC Roadster, un modello che sembrava uscire direttamente da un film cyberpunk. Ma d'altra parte anche il CE 04 non era da meno, ma poi eccolo che già circola in strada. BMW non fa mistero di credere nell'elettrico, i progetti lo dimostrano e le dichiarazioni parlano di un nuovo veicolo a zero emissioni entro il 2023 e altri seguiranno ogni 18-24 mesi. In ultimo arrivano anche i brevetti di un power train in grado di raccogliere l'eredità del boxer.

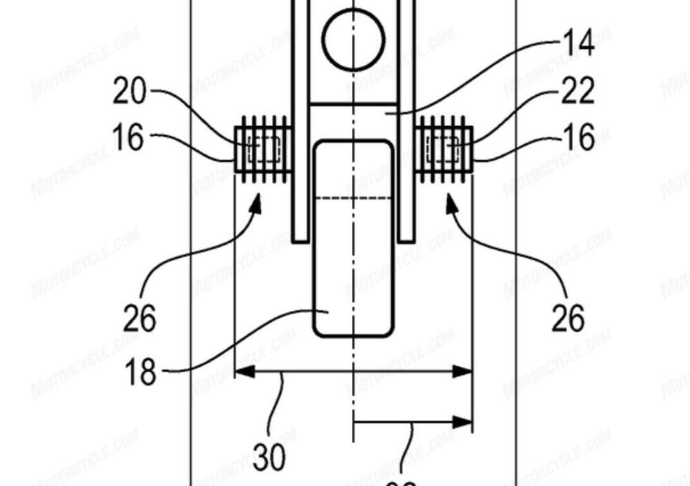
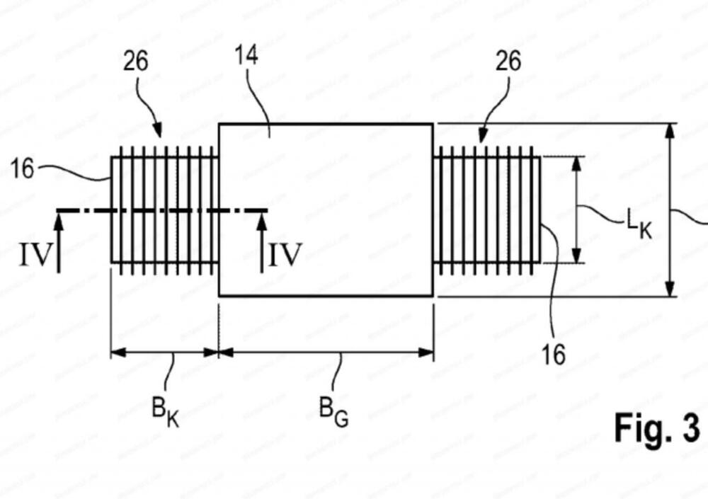
L'idea nel progetto è quella già vista nel Vision DC Roadster: un grande corpo centrale con al lato due gruppi di raffreddamento in grado di convogliare i flussi d'aria e alloggiare elementi funzionali. L'estetica dei dissipatori in alluminio richiama moltissimo quella di un boxer. Stando alla descrizione, un cilindro conterrà inverter e apparati di ricarica, mentre l'altro un sistema di raffreddamento a liquido.
 

Naviga su Moto.it senza pubblicità
1 euro al mese

Uno dei “cilindri” ospiterebbe componenti come l'inverter e l'elettronica di carica. L'altro conterrebbe parti di un sistema di raffreddamento a liquido interno per la batteria e il motore. 

Ogni cilindro è grande circa il 40-50% della larghezza della larghezza del corpo centrale e saranno collocati a circa un terzo dell'altezza. La posizione, per farla breve, sarà la stessa dei boxer, davanti alle gambe del pilota e a un'altezza da terra sufficiente per consentire di piegare. 
 

Non è chiaro se il motore vero e proprio sarebbe collocato nella parte bassa della parte centrale o più arretrato. 

Caricamento commenti...