Brevetto moto BMW ...chiusa

Brevetto moto BMW ...chiusa
Il ritorno di BMW al concetto di motocicletta chiusa (o a cabina) non è più solo una suggestione per nostalgici dello sfortunato C1, ma una realtà tecnica che sta prendendo forma nei centri di ricerca e sviluppo di Monaco.
10 aprile 2026

La domanda che poni è al centro del dibattito: perché riprovarci ora? La risposta risiede nella transizione elettrica, dove l'efficienza aerodinamica è l'unica vera chiave per aumentare l'autonomia senza appesantire il mezzo con batterie enormi.

Il problema principale di una moto completamente chiusa è l'impossibilità per il pilota di mettere i piedi a terra al semaforo. Il brevetto BMW 2026 propone un sistema inedito:

  • Niente Giroscopi: BMW scarta l'idea dei giroscopi (troppo pesanti ed energivori).

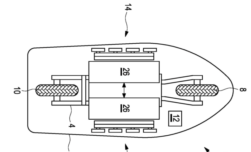
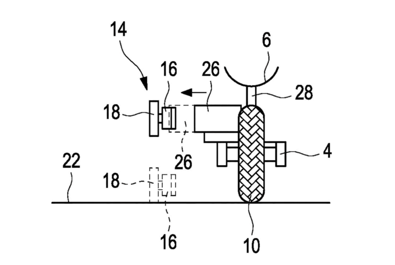
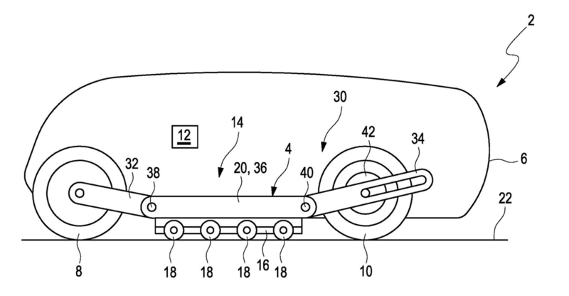
  • Sistema a 8 Ruote stabilizzatrici: Invece delle classiche due ruote laterali estraibili, il brevetto mostra due file da quattro ruotini ciascuna.

  • Il vantaggio: Questa configurazione permette al veicolo di rimanere estremamente stretto (fondamentale per il filtraggio nel traffico) garantendo stabilità anche su fondi sconnessi o irregolari.

Naviga su Moto.it senza pubblicità
1 euro al mese

Il design mostrato nei disegni tecnici richiama la forma di una goccia d'acqua, il profilo aerodinamico più efficiente in natura. Questo permetterebbe a un'ipotetica "CE-Enclosed" di fendere l'aria con una resistenza minima, abbattendo i consumi energetici del 30-40% rispetto a uno scooter elettrico tradizionale come il CE 04.

Il brevetto BMW recentemente emerso non è solo un esercizio di stile, ma un tentativo di industrializzare un concetto che la svizzera Peraves porta avanti con successo di nicchia da oltre quarant'anni. Se la Monoracer ha dimostrato che una "moto-cabina" può superare i 250 km/h con un'efficienza aerodinamica imbattibile, BMW punta ora a risolvere l'ultimo tabù: la stabilità urbana per le masse.

La Peraves Monoracer, con il suo motore da 130 kW e una batteria da soli 28,5 kWh, percorre 400 km e vola a 250 km/h. Un miracolo reso possibile dalla forma a goccia, che BMW ora vuole democratizzare.
È ironico notare come la Peraves Ecomobile del 1984 fosse spinta proprio dal motore a quattro cilindri della BMW K100. Dopo aver fornito per decenni "il cuore" ai pionieri svizzeri, BMW sembra ora intenzionata a riprendersi il primato, unendo l'efficienza della Monoracer alla praticità d'uso quotidiano che mancava allo sfortunato C1.

Il punto critico di ogni moto chiusa è il "fermo al semaforo".

  • La soluzione Peraves: Utilizza due ruote stabilizzatrici estensibili, simili al carrello di un aereo. Un sistema efficace ma che richiede una certa perizia e un meccanismo di attuazione robusto e ingombrante.

  • Il Brevetto BMW 2026: Qui risiede la vera stranezza ingegneristica. BMW scarta i giroscopi (come il celebre Gyro-X del '67) perché troppo pesanti e complessi da gestire elettronicamente. La casa bavarese propone invece due file da quattro ruotini ciascuna.

A prima vista, otto ruote stabilizzatrici sembrano un'esagerazione, ma la logica brevettuale suggerisce tre vantaggi strategici:

  1. Ingombro Ridotto: Più ruote piccole permettono di occupare meno spazio in larghezza quando sono estratte, consentendo alla moto di rimanere snella anche durante le soste o nelle manovre a bassa velocità.

  2. Adattabilità al Terreno: Una fila di quattro ruotini può adattarsi meglio a superfici irregolari, buche o binari del tram rispetto a una singola ruota stabilizzatrice di grandi dimensioni.

  3. Ridondanza e Sicurezza: In caso di guasto a un attuatore, la presenza di più punti di appoggio garantisce che il veicolo (e il pilota bloccato all'interno) non si ribalti.

Caricamento commenti...