Yamaha Turbo tre cilindri da 180 cavalli, nuovi dettagli svelati

Yamaha Turbo tre cilindri da 180 cavalli, nuovi dettagli svelati
Con 850 cc raggiunge i 180 cavalli e soprattutto i 18 kgm di coppia a soli 5.000 giri. Dal brevetto emergono altri dettagli costruttivi
22 dicembre 2020

Del motore tre cilindri turbo intercooler, che Yamaha sta testando su una ciclistica MT-10, abbiamo scritto di recente.

Altri disegni di brevetto contribuiscono a chiarirne meglio un progetto che punta al raggiungimento delle prestazioni e al contemporaneo contenimento delle emissioni inquinanti. Quest'ultimo tema sarà infatti sempre più vincolante nello sviluppo delle future moto, soprattutto prestazionali.

Naviga su Moto.it senza pubblicità
1 euro al mese

Ricordiamo che il tre cilindri in linea di 847 cc, stessa cilindrata del'MT-09 aspirato, si serve di un turbocompressore piazzato davanti ai cilindri assieme al suo intercooler ed erogherebbe 180 cv di potenza (212 cv/litro) al regime di 8.500 giri. E' dotato di distribuzione a fasatura variabile e di iniezione diretta: grazie a questa tecnologia le emissioni sono ridotte del 30% nel caso della CO2 e più che dimezzate nel caso di monossido di carbonio e degli ossidi di azoto rispetto ai limiti Euro 5.

In termini di prestazioni è ancora più importante la curva di coppia che sfiora i 18 kgm nel range di utilizzo che va dai 3.000 ai 7.000 giri, e questo dà un'idea delle doti di ripresa e accelerazione del tre cilindri turbo Yamaha che genera circa un terzo di coppia in più rispetto a motori di pari potenza e a regimi notevolmente inferiori.

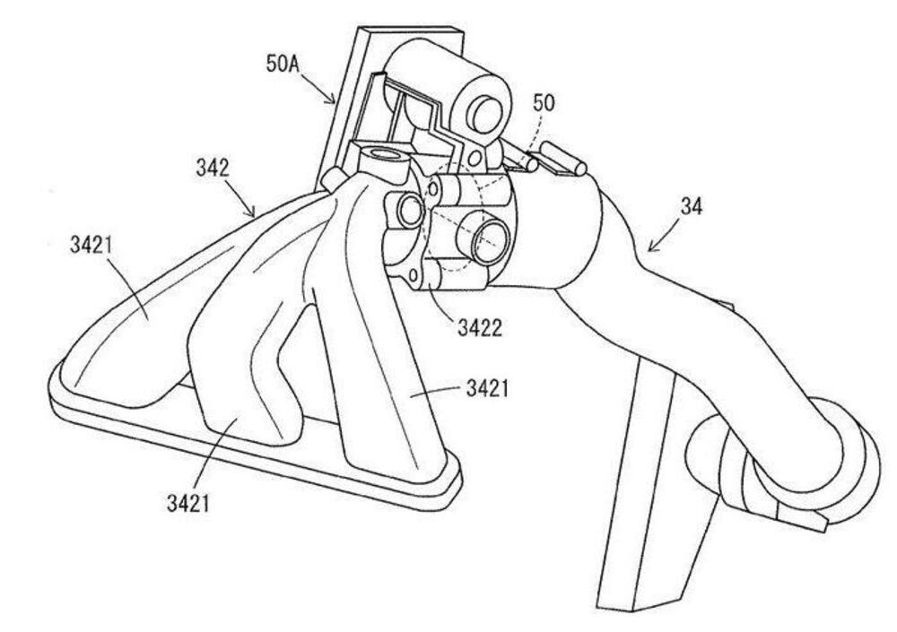
I nuovi disegni di brevetto, pubblicati da Bikesocial, si riferiscono al posizionamento di alcune parti e a un paio di soluzioni tecniche.
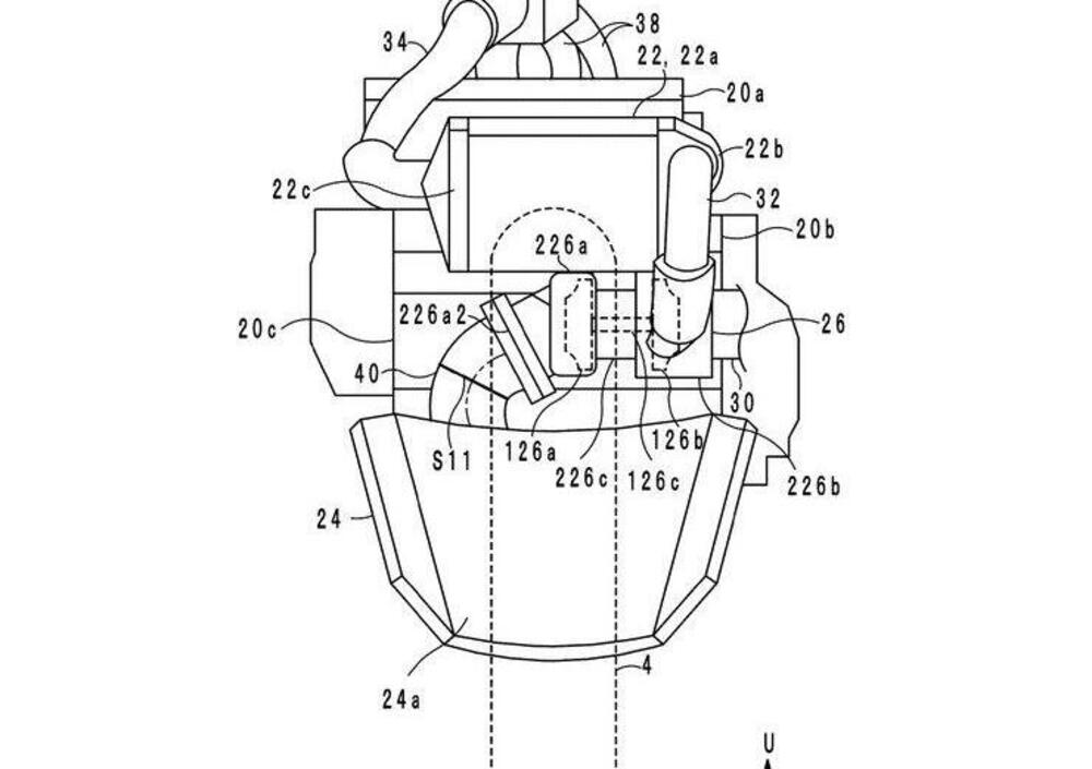
Il collettore di aspirazione è molto compatto e impiega una sola valvola a farfalla ad azionamento elettrico gestita dall'acceleratore elettronico.

Poiché l'intercooler e la turbina sono alloggiati davanti al blocco cilindri, dove solitamente si trova il radiatore, quest'ultimo è montato più in basso e ha una forma curva e vicina al pneumatico anteriore, oltre ad avere una particolare disposizione delle ventole posteriori.

Il grosso collettore di scarico a valle della turbina contiene il primo catalizzatore, il secondo si trova sotto al motore e un'altra espansione silenziatrice si trova sotto l'attacco del forcellone.

Chiaramente, in questa fase, non ci sono certezze sull'arrivo in produzione di questa moto. Staremo a vedere in curiosa attesa.

Caricamento commenti...