Yamaha tre cilindri Turbo: 180 cavalli e super coppia

Yamaha tre cilindri Turbo: 180 cavalli e super coppia
Un motore 850 tre cilindri con turbo intercooler e iniezione diretta. Lo sta testando Yamaha su una ciclistica MT-10
5 novembre 2020

Prodotti dai quattro costruttori giapponesi negli anni Ottanta, i motori sovralimentati sono presto usciti di scena in campo motociclistico.

Fino al 2015, quando Kawasaki è arrivata con la sua Ninja H2 riaprendo le danze e convincendo i più scettici.
Tanto che da quella prima moto ne sono scaturite altre, e si sa che la Casa di Akashi sta sviluppando anche una versione sovralimentata di cilindrata inferiore.

Anche Honda, Suzuki e Yamaha hanno mostrato attenzione verso l'argomento, se non altro a livello di Concept (Suzuki Recursion) e più spesso depositando brevetti di vario genere.
Kawasaki anche quello di un due tempi dotato di valvole a fungo, oltre a un quattro cilindri a quattro tempi, BMW ha depositato il brevetto di un compressore elettrico per la S1000RR e, sempre recentemente, Honda quello del bicilindrico utilizzato dalla Africa Twin 1100 con un compressore a doppia vite e iniezione mista indiretta/diretta.

Naviga su Moto.it senza pubblicità
1 euro al mese

L'anno scorso sono circolate le immagini di brevetto di un motore Yamaha a due cilindri dotato di turbo tradizionale. Questa volta c'è in ballo un altro brevetto, ma con anche l'immagine di un modello reale usato per i test.

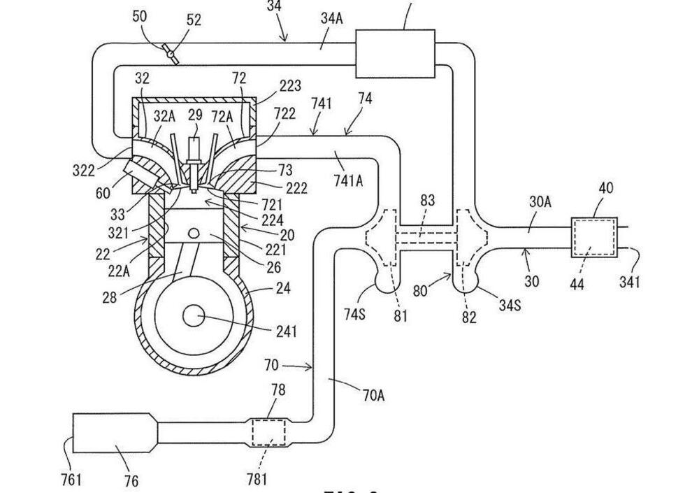
Il motore è in questo caso un tre cilindri in linea di 847 cc (come quello della MT-09 di serie) ma con un rapporto alesaggio/corsa differente: le misure sono di 73x67,5 mm invece di 78x59,1.
La corsa più lunga favorisce la coppia, mentre il compressore può far rinunciare a valvole di grande diametro e quindi alla necessità di avere un alesaggio maggiore.

L'ammissione d'aria è in pressione per effetto di una turbina azionata dai gas di scarico, e viene utilizzato un intercooler per il raffreddamento dell'aria in aspirazione. Tutto nella più classica delle soluzioni diffuse in campo automobilistico.
Altra particolarità è l'iniezione del carburante direttamente in camera di combustione (anche questa è una soluzione già impiegata sui motori auto), resa possibile dal fatto che il regime di rotazione massimo rimane entro livelli abbordabili da questa tecnologia.

In termini di prestazioni si parla di 180 cavalli a soli 8.500 giri (ovvero 212 cavalli/litro, come sui migliori 1.000 a quattro cilindri, che però devono raggiungere regimi di rotazione dell'ordine dei 13.500 giri), mentre ancora più impressionante è il valore della coppia massima di quasi 18 kgm, che si estende in pratica dai 3.000 ai 7.000 giri. Il che si traduce in accelerazioni e in doti di ripresa inavvicinabili dai motori aspirati.

Inoltre la distribuzione si serve della fasatura variabile per le valvole di aspirazione e di scarico.

Grazie soprattutto all'iniezione diretta, le emissioni sono drasticamente tagliate: Yamaha scive -30% nel caso della CO2 e valori più che dimezzati (in rapporto ai limiti dell'attuale Euro 5) nel caso di monossido di carbonio e ossidi di azoto.

Il ritardo di risposta all'acceleratore, determinato dal turbo, pare sia stato notevolmente ridotto grazie a una nuova strategia elettronica.

Come mostra la foto allegata alla domanda di brevetto, il motore è stato montato su una moto che utilizza parte della struttura ciclistica, e non solo, della quattro cilindri MT-10. Ma possiamo essere certi che se questo motore arriverà in produzione finirà su un modello totalemente inedito.

Di sicuro la sovralimentazione è una direzione tecnica che diventerà più conveniente quando ci troveremo ad affrontare il rispetto di limiti inquinanti ancora più bassi della futura Euro 5 Plus.

Minore cilindrata, minore frazionamento, prestazioni elevate ed emissioni inferiori sono argomenti convincenti.

Fonte CycleWorld

Caricamento commenti...
Yamaha MT-10 SP (2017 - 20)
Yamaha

Yamaha
Via Tinelli 67/69
20050 Gerno di Lesmo (MI) - Italia
848 580 569
https://www.yamaha-motor.eu/it/it/

  • Prezzo 16.499 €
  • Cilindrata 998 cc
  • Potenza 160 cv
  • Peso 210 kg
  • Sella 825 mm
  • Serbatoio 17 lt
Yamaha

Yamaha
Via Tinelli 67/69
20050 Gerno di Lesmo (MI) - Italia
848 580 569
https://www.yamaha-motor.eu/it/it/

Scheda tecnica Yamaha MT-10 SP (2017 - 20)

Cilindrata
998 cc
Cilindri
4 in linea
Categoria
Naked
Potenza
160 cv 118 kw 11.500 rpm
Peso
210 kg
Sella
825 mm
Pneumatico anteriore
120/70 ZR17 M/C (58W)
Pneumatico posteriore
190/55 ZR17 M/C (75W)
Inizio Fine produzione
2017 2020
tutti i dati

Maggiori info