BMW brevetta la sovralimentazione elettrica. Sarà per la S1000RR?

BMW brevetta la sovralimentazione elettrica. Sarà per la S1000RR?
Già adottata in campo automobilistico,e già brevettata a suo tempo da BMW, la sovralimentazione elettrica mancava però fra le moto. Ma adesso a Monaco l’hanno depositata e il disegno mostra una S1000RR
19 agosto 2019

E’ noto che le aziende depositano un numero elevato di brevetti rispetto a quanto entrerà in produzione: fa parte della tutela del lavoro di ricerca e progettazione per il quale vengo investite risorse importanti.

La notizia che riguarda una moto sovralimentata con un compressore azionato elettricamente merita però attenzione, specialmente se arriva da una Casa come BMW che questa soluzione l’ha già affrontata in campo automobilistico.
La domanda di brevetto depositata all’ufficio competente tedesco riguarda "Motociclo sovralimentato con motore a combustione interna".

Guardando le immagini a corredo si evince quindi l’utilizzo di un compressore elettrico, lo schema di funzionamento è assai semplice, e l’applicazione su una attuale super sportiva S1000RR. Naturalmente il modello “di stile” è un pretesto, importante è la soluzione di cui è stata fatta domanda di brevetto.

Il compressore ad azionamento elettrico è già una realtà in campo automobilistico, la recente Audi SQ7 TDI ad esempio, mentre BMW già nel 2011 ha depositato il primo brevetto per una sua auto.

Naviga su Moto.it senza pubblicità
1 euro al mese
Compressore elettrico Range Rover
Compressore elettrico Range Rover

A differenza dei sistemi meccanici, vedi il compressore centrifugo della Kawasaki H2, o di quelli azionati dai gas di scarico, ovvero quelli adottati dalle moto Turbo giapponesi negli anni Ottanta, il compressore elettrico non assorbe energia e quindi potenza.
Inoltre riduce notevolmente l’effetto ritardo (turbo-lag), può migliorare i consumi e contribuire a ridurre le emissioni. Questo perché gestisce meglio la portata d’aria al compressore e ai cilindri, e lo fa in tempi rapidissimi.
In campo auto è visto come una ideale soluzione da affiancare al compressore tradizionale: in questo modo oltre a incrementare potenza e coppia migliora infatti anche l’erogazione ai transitori.

Il compressore elettrico necessita però di una alimentazione a 48V, quindi di un circuito elettrico e di una batteria indipendente che, opportunamente, potrebbe essere ricaricata soltanto a determinati regimi assorbendo potenza quando la prestazione massima non è necessaria.
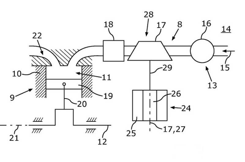
Lo schema mostrato da BMW (disegno qui sopra) illustra la relazione fra le diverse componenti.
Il compressore (numero 28) è azionato dal motore elettrico (24) e uno scambiatore di calore (18) raffredda l’aria a monte delle valvole di aspirazione.

Impossibile prevedere frazionamento e destinazione di un motore siffatto, tuttavia l’applicazione più ragionevole può andare nella direzione delle prestazioni (senza incrementare la cilindrata), come verso un downsizing di cilindrata, frazionamento e peso che offra in cambio una potenza interessante. Oppure, ancora, al fine di incrementare le doti di coppia ai regimi medi e bassi senza ricorrere alle alte cilindrate.

Non va infine scordato che i nuovi Boxer BMW, così come l’ultima S1000RR hanno la fasatura di distribuzione variabile che è azionata elettricamente. Anche in questo caso si è trattato di una soluzione mutuata dal settore automobilistico.

Schema di funzionamento dell'eBooster in commercio
Schema di funzionamento dell'eBooster in commercio

Argomenti

Caricamento commenti...
Bmw S 1000 RR (2019 - 20)
Bmw

Bmw
Via dell'Unione Europea, 1
200097 San Donato Milanese (MI) - Italia
02 51883200
info@bmw.it
https://www.bmw-motorrad.it/

  • Prezzo 19.550 €
  • Cilindrata 999 cc
  • Potenza 207 cv
  • Peso 175 kg
  • Sella 824 mm
  • Serbatoio 17 lt
Bmw

Bmw
Via dell'Unione Europea, 1
200097 San Donato Milanese (MI) - Italia
02 51883200
info@bmw.it
https://www.bmw-motorrad.it/

Scheda tecnica Bmw S 1000 RR (2019 - 20)

Cilindrata
999 cc
Cilindri
4 in linea
Categoria
Super Sportive
Potenza
207 cv 152 kw 13.500 rpm
Peso
175 kg
Sella
824 mm
Pneumatico anteriore
120/70 ZR 17"
Pneumatico posteriore
190/55 ZR 17"
Inizio Fine produzione
2018 2020
tutti i dati

Maggiori info

Ultimi articoli su Bmw S 1000 RR (2019 - 20) e correlati