Kawasaki brevetta un 4 cilindri a due tempi sovralimentato

Kawasaki brevetta un 4 cilindri a due tempi sovralimentato
Soluzioni inconsuete perché finalizzate ad aumentare il rendimento e a ridurre le emissioni. Ha valvole a fungo e albero motore crossplane, è pensato come generatore per motocicli ibridi
4 luglio 2020

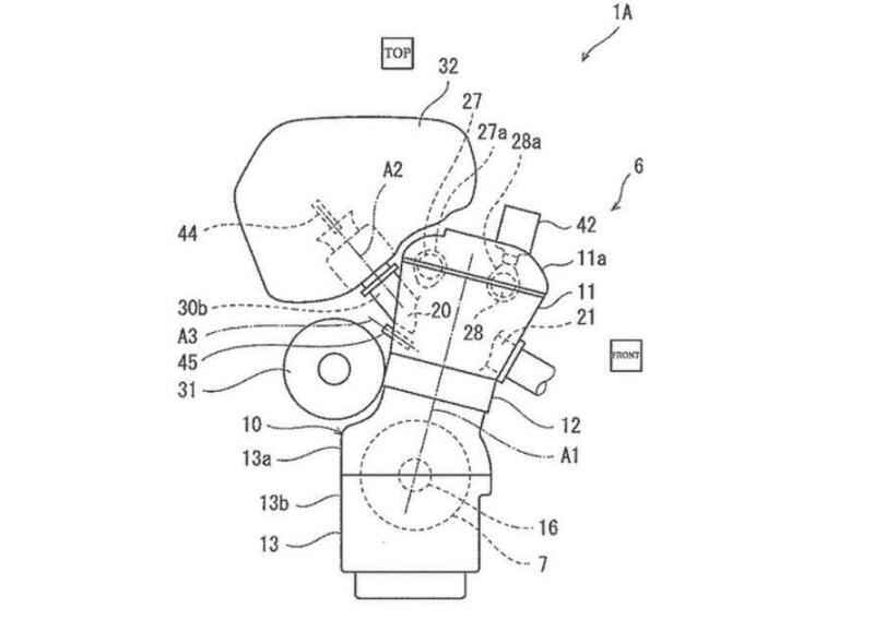
Arrivano dall'ufficio dei brevetti giapponesi i disegni di un motore Kawasaki innovativo. Si tratta di un quattro cilindri a due tempi, dotato di distribuzione bialbero e quattro valvole per cilindro, di compressore e di fasatura crossplane.

Perché tutte queste “strane” cose assieme?

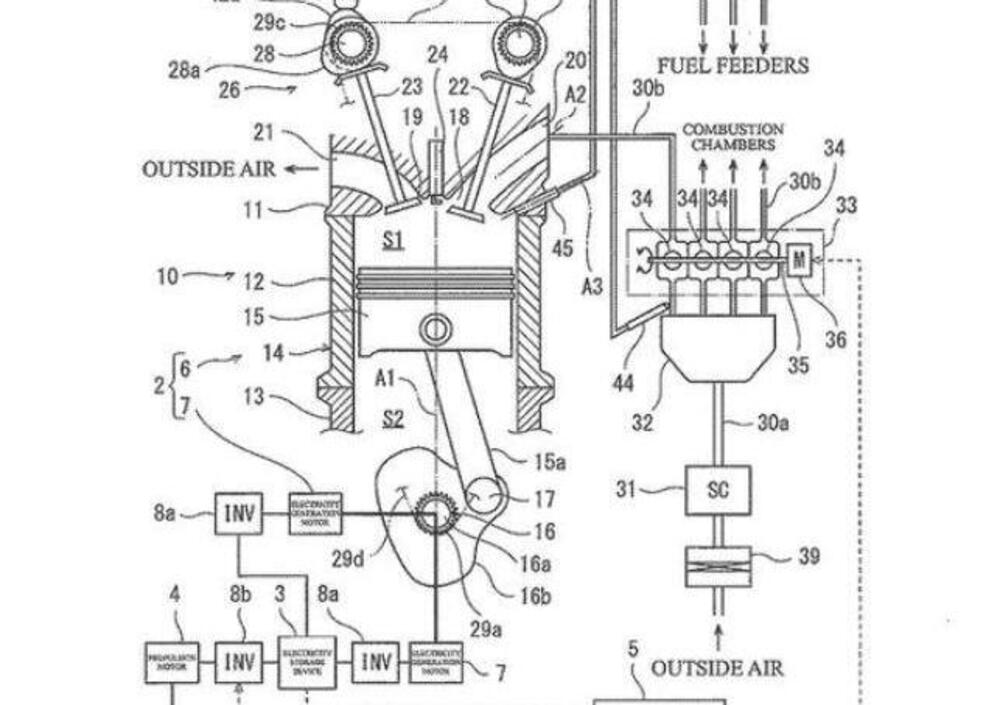
Il brevetto si riferisce a un'applicazione per veicoli ibridi, moto piuttosto che tre ruote o quadricicli, in cui il motore termico serve appunto da generatore di corrente per la trazione ibrida. Significa che lavora sempre in un arco di giri vantaggioso in termini di efficienza e che permette una lunga autonomia.

Il due tempi, grazie alla fase utile ogni ogni giro dell'albero motore invece che ogni due come il quattro tempi, come è noto fornisce una potenza superiore a parità di cilindrata, oppure permette di ridurre la cubatura.

Ma ora immaginiamo una costruzione differente da quella solita, più simile a quella dei diesel a due tempi sovralimentati per applicazioni navali. Che sono fra i più efficienti in assoluto.

Naviga su Moto.it senza pubblicità
1 euro al mese

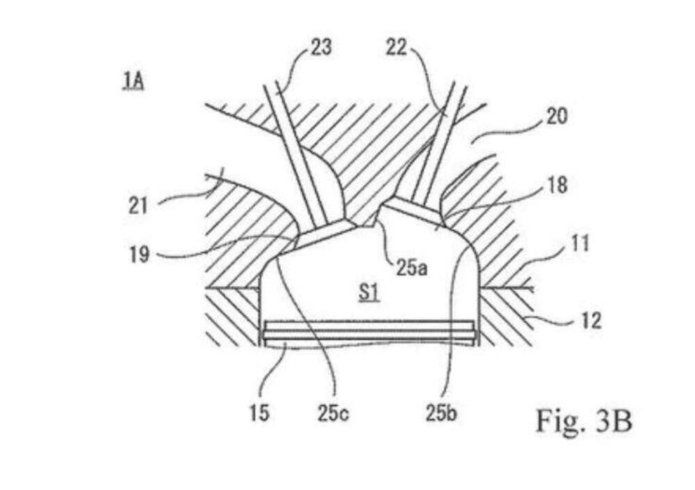
Per rendere più pulito il due tempi come lo conosciamo, che in mancanza dell'iniezione diretta rilascia idrocarburi incombusti dalla luce di scarico, Kawasaki ha eliminato le luci di travaso e scarico aggiungendo una testata - potremmo dire - da quattro tempi, dove aspirazione e scarico sono controllati appunto dall'apertura e dalla chiusura delle valvole a fungo. Che sono quattro per cilindro e azionate da due alberi camme.

Mancando l'immissione generata dal movimento verso il punto morto inferiore del pistone (come avviene nei 2T), l'aria è immessa forzatamente con utilizzo di un compressore mentre termina l'espulsione dei gas combusti.
L'iniezione di carburante, diretta, avviene quando le valvole sono tutte chiuse. Il limite è nel range di utilizzo che è poco ampio, ma questo conterebbe poco perché il quattro cilindri si occupa di generare corrente al regime corretto e non di offrire direttamente la trazione.

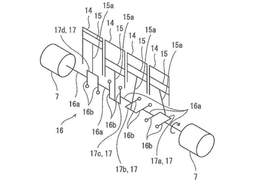
Per ottenere la migliore rotondità di funzionamento (un ciclo completo avviene ogni 360°) e ridurre le sollecitazioni meccaniche l'albero motore ha una fasatura non a 180° (tipica del 4T) ma crossplane, con i perni di biella sfalsati di 90°.

Perché tutte queste complicazioni? Perché teoricamente il rendimento termico sarebbe più elevato rispetto a quello di un comune 4 tempi, addirittura superiore al 50%: fino al 70% secondo stime piuttosto ottimistiche.
Se così fosse significherebbe doppiare il migliore 4T, e significherebbe non essere troppo distanti dall'efficienza del motore elettrico, almeno dopo che  siano state considerate le perdite legate a produzione, distribuzione e stoccaggio dell'energia nelle batterie.

Vedremo presto una Kawasaki ibrida con questa soluzione? Impossibile saperlo senza una conferma dei diretti interessati.
I dubbi restano, ma il brevetto, intanto, è stato depositato.

Hot now

Caricamento commenti...