Piaggio deposita un brevetto per un riflettore radar

Piaggio deposita un brevetto per un riflettore radar
Allo studio un riflettente radar attivo per rendere più visibili i veicoli a due ruote
5 febbraio 2022

Il futuro della sicurezza stradale passa sempre di più attraverso l'intelligenza dei nostri veicoli. Per pensare e agire correttamente però è indispensabile che siano in grado di vedere e - nel caso delle due ruote - di essere visti. Gli oggetti di minor dimensione avendo una minor superficie riflettente non sempre vengono individuati correttamente. Uno studio condotta da Dynamic Research Inc. nel 2016 dimostrò che nel 40% dei casi i radar rilevavano in modo inadeguato le moto. Da allora le case automobilistiche (e i loro fornitori) hanno fatto tanto per aguzzare la vista dei loro sistemi ADAS, ma il problema è che devono vedere un oggetto troppo piccolo.

Un problema che da oltre un secolo si presenta anche in mare dove grandi navi devono essere in grado di individuare anche piccole barche. Sono state le piccole barche a risolvere il problema, rendendosi più visibili grazie a dei riflettori radar. Cilintri o sfere che agevolano il lavoro dei radar. Il principio è quello dei catarifrangenti ma invece che riflettere la luce riflettono le onde radio.
 

Naviga su Moto.it senza pubblicità
1 euro al mese

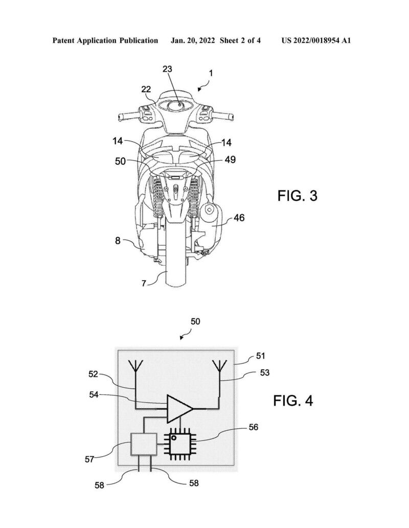
Ovviamente installare oggetti di questo tipo su una moto o uno scooter è impossibile per forma e dimensione. C'è però una seconda via. Piaggio ha infatti brevettato un riflettore radar che non si basa sulle proprietà fisiche dell'oggetto, ma che dopo aver ricevuto l'onda radio la ritrasmette amplificata. Questo apparato potrebbe facilmente essere installato ad esempio all'interno dei fanali anteriori e posteriori, coprendo così quasi 360°. Il sistema è composto da pochi componenti elettronici relativamente economici e quindi è auspicabile che venga presto installato nel maggior numero di veicoli possibile.

Argomenti

Hot now

Caricamento commenti...