Dopo i radar, Honda brevetta le telecamere nei fari

Un recente brevetto depositato da Honda riguarda sensori ottici miniaturizzati piazzati all'interno dei fari. Niente che influenzi l'estetica, un incremento della sicurezza e un possibile abbinamento con il radar
23 settembre 2021

Se il mondo dell'automobile guida le applicazioni di radar, telecamere e lidar - ai fini dell'assistenza alla guida e della sicurezza - in campo moto siamo appena alle prime applicazioni radar.
Nella produzione di serie sono al momento disponibili per alcuni modelli Ducati, BMW e KTM.

Tuttavia i maggiori costruttori stanno sviluppando e brevettando nuove tecniche di supporto alla guida (cruise control adattivi) e di aumento della sicurezza attiva (controllo dell'angolo cieco e frenata automatica).

Honda, che non vende ancora moto dotate di radar, ha brevettato però un suo sistema per modelli equivalenti all'Africa Twin e alla Gold Wing (vedi qui sotto).

Naviga su Moto.it senza pubblicità
1 euro al mese

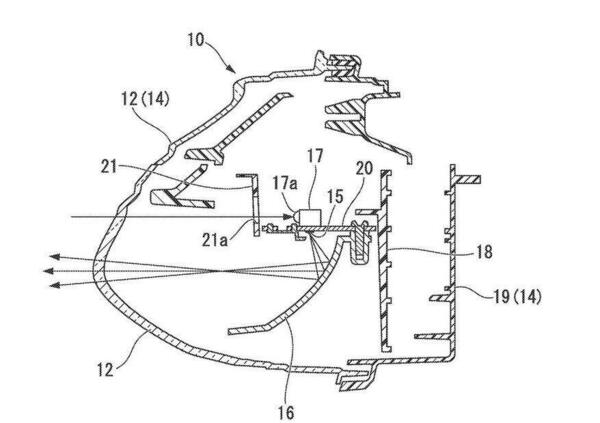
Un suo recente brevetto riguarda l'utilizzo di telecamere, presumibilmente in abbinamento ai sistemi radar e lidar (il telerilevamento della distanza con il laser). Nei disegni sono prese a modello una naked (NC) e una sportiva (CBR) come sempi.

La novità è nella compattezza, semplicità ed economicità del dispositivo in quando all'interno dei fari – protetti e senza intaccare l'estetica e gli ingombri – sono montati sensori ottici paragonabili a quelli presenti nelle fotocamere digitali o negli smartphone.
Sono schermati dai led dell'illuminazione e possono vedere ciò che i radar non sono in grado di rilevare, ad esempio luci di stop, di semafori o cartelli che indicano limiti e divieti.

Quello che insomma già accade su molte automobili. A loro volta i radar riconoscono gli oggetti in movimento e lidar ne misurano con precisione la distanza. E va aggiunto che i sensori ottici possono essere utilizzati anche per rilevare le distanze.

Tutte queste informazioni devono naturalmente essere adoperate nel modo più opportuno da software in grado poi di visualizzare le informazioni, così come di agire sul comportamento del veicolo. Velocità e frenata sicuramente, ma anche sterzata come altri brevetti Honda suggeriscono.

Per ritornare all'inizio del discorso, dal mondo auto arrivano la ricerca e la tecnologia delle componenti come lo studio dei software finalizzati infine alla guida assistita.
In campo moto c'è bisogno di rispondere a esigenze particolari, dovute alla dinamica del veicolo certamente, ma anche alle differenti dimensioni o all'isolamento da vibrazioni, eccetera.

Argomenti

Caricamento commenti...