Nuove soluzioni innovative per la supersportiva Honda Superbike

Almeno un paio di brevetti riguardano applicazioni per una nuova quattro cilindri della serie CBR1000RR. Si tratta della fasatura variabile di distribuzione e di radiatori più compatti
29 ottobre 2021

Pochi giorni fa vi abbiamo aggiornato sul brevetto Honda dedicato a una nuova super sportiva che potrebbe essere la base per la futura versione superbike.

Sempre dall'ufficio brevetti giapponese arrivano altri brevetti depositati da Honda nel 2020, ma pubblicati appunto quest'anno, relativi a un motore a quattro cilindri in linea che potrebbe rimpiazzare l'attuale unità presente sulla serie CBR1000RR.

Il primo brevetto riguarda un sistema a fasatura variabile per la distribuzione. Interviene sia sui diagrammi di apertura e chiusura e sia sull'alzata delle valvole ed è applicato alle otto valvole di aspirazione e alle otto di scarico.

Ogni valvole dispone di due eccentrici secondo un principio visto ad esempio nel sistema BMW Shiftcam. Ma ci sono importante differenze.
Ogni cilindro ha una propria unità scorrevole di comando e a seconda dei parametri motoristici impostati una centralina elettronica aziona una elettrovalvola. Quest'ultima regola il flusso d'olio che determina lo spostamento di appositi perni nei manicotti di scorrimento dell'asse a camme che supporta i due lobi: vengono così attivate la prima o la seconda camma di ciascuna valvola.
Una offre un digramma più spinto dell'altra, sia per quanto riguarda il diagramma, l'incrocio e l'alzata.

Naviga su Moto.it senza pubblicità
1 euro al mese

Questo dispositivo offre un miglioramento delle doti di erogazione, importante per lo sfruttamento della coppia in un campo di utilizzo più elevato, e permette di controllare meglio le emissioni inquinanti quando il motore lavora con determinati carichi.
Nei disegni depositati questo motore è stato inserito in una ciclistica simile a quella dell'attuale CBR, ma si tratta solo di esigenze formali.

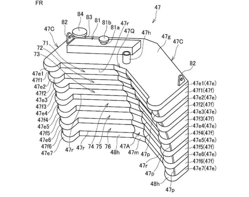
Il secondo brevetto è dedicato a nuovi radiatori per il liquido di raffreddamento.

Ve ne sono due che hanno una forma a V e spessore differenziato, maggiore superiormente e che si riduce scendendo verso il limite inferiore, per poter avere una superficie ampia, ridurre la sezione frontale e non interferire con la ruota per avere anche il motore in posizione più avanzata.

Il terzo radiatore ha una innovativa forma circolare, anche in questo caso il suo spessore è maggiore nella parte superiore e si riduce verso quella inferiore, e reca al centro un foro per l'alloggiamento per il motore della ventola di raffreddamento. Anche questa è una soluzione studiata per contenere gli ingombri.

Come sempre è difficile prevedere se e quando questi brevetti vedranno un'applicazione, rimane però l'impegno di Honda nello sviluppare sistemi innovativi dedicati ai modelli super sportivi.

fonte Cycle World

Honda CBR 1000 RR-R Fireblade SP (2020 - 21)
Honda

Honda
Via della Cecchignola, 13
00143 Roma (RM) - Italia
848846632
https://www.honda.it/motorcycles.html

  • Prezzo 26.990 €
  • Cilindrata 1.000 cc
  • Potenza 218 cv
  • Peso 201 kg
  • Sella 830 mm
  • Serbatoio 16 lt
Honda

Honda
Via della Cecchignola, 13
00143 Roma (RM) - Italia
848846632
https://www.honda.it/motorcycles.html

Scheda tecnica Honda CBR 1000 RR-R Fireblade SP (2020 - 21)

Cilindrata
1.000 cc
Cilindri
4 in linea
Categoria
Super Sportive
Potenza
218 cv 160 kw 14.500 rpm
Peso
201 kg
Sella
830 mm
Pneumatico anteriore
120/70 -ZR17"
Pneumatico posteriore
200/55 -ZR17" 
Inizio produzione
2019
tutti i dati

Maggiori info

Ultimi articoli su Honda CBR 1000 RR-R Fireblade SP (2020 - 21) e correlati