Honda e il brevetto di una supersportiva radicale

Registrato in Giappone, questo brevetto riguarda quella che ha tutta l'aria di essere una futura CBR più estrema. Che sia la prossima arma anche per la Superbike?
25 ottobre 2021

Nel mondiale Superbike Honda continua a faticare e a poco è servita la riedizione della CBR1000RR-R SP per migliorare un andamento inferiore al blasone del marchio.
Certo, per vincere in SBK la moto di serie di partenza non è tutto, ma un progetto avanzato certamente aiuta. 

Ed è quello che pare trasparire da un brevetto depositato in Giappone e che ha tutta l'aria di essere una nuova quattro cilindri in linea molto sportiva.
I disegni sono così dettagliati, scendendo in particolari solitamente non menzionati nei brevetti, da farla sembrare una moto pronta per la produzione di serie.

Tuttavia la cosa che ci pare più interessante è l'insieme di soluzioni tecniche atte a ridurre pesi e dimensioni proponendo una sostenuta integrazione delle funzioni.

Naviga su Moto.it senza pubblicità
1 euro al mese

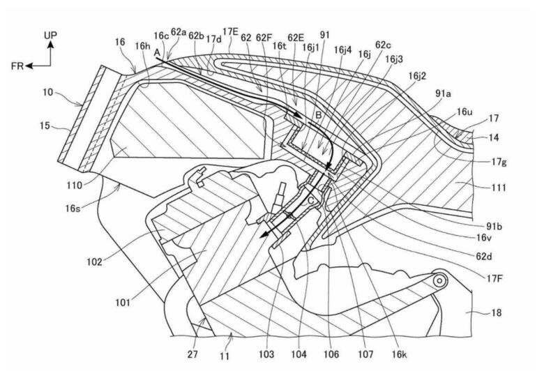
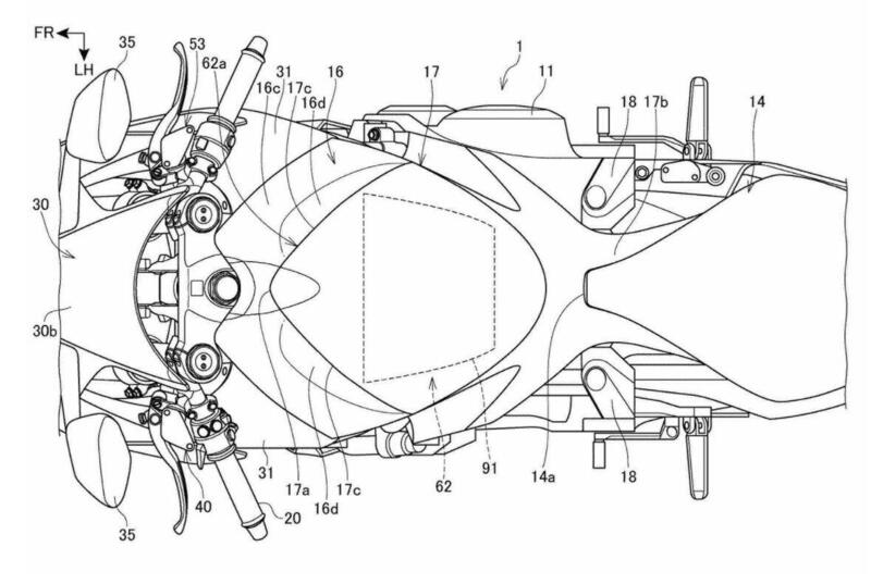
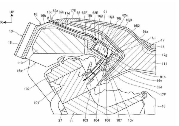
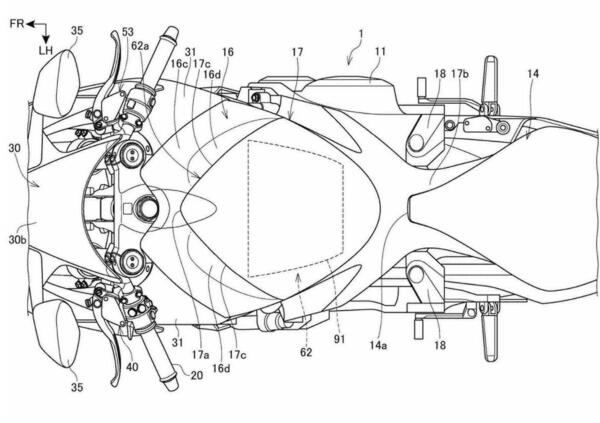
Il motore in linea frontemarcia assume una funzione portante e il telaio assolve anche ad altri compiti oltre a quello strutturale.

Quest'ultimo è una fusione di lega leggera a forma di U rovesciata che compone la sede del cannotto di sterzo e che sostiene il motore anteriormente per poi girare sopra i cilindri e scendere verso il basso fissandosi al blocco cilindri.
Questa struttura reca al suo interno l'air box e fa da sede per il filtro dell'aria a pannello; inoltre ospita alcune componenti elettriche e la batteria agli ioni di litio.

Altre due parti in lega di alluminio sono fissate nella zona posteriore del motore e contribuisco a reggere il forcellone (potrebbe essere di tipo monobraccio) che di fatto è sostenuto dal blocco motore.

Un'altra soluzione di integrazione e alleggerimento è la struttura monoscocca, in fibra di carbonio, che compone il serbatoio carburante e sostiene la sella terminando nel codino a sostenere il portatarga.

La carenatura è composta di quattro parti: cupolino, pannelli laterali e sottomotore; il cavalletto laterale si fisserebbe direttamente al motore o a una piccola appendice inferiore del telaio.

I disegni si spingono ad illustrare la strumentazione, la forcella Showa e comandi elettrici di nuovo disegno con tasti a pulsante.

Caricamento commenti...

Hot now

Honda CBR 1000 RR-R Fireblade SP Carbon (2021)
Honda

Honda
Via della Cecchignola, 13
00143 Roma (RM) - Italia
848846632
https://www.honda.it/motorcycles.html

  • Prezzo 28.990 €
  • Cilindrata 1.000 cc
  • Potenza 218 cv
  • Peso 201 kg
  • Sella 830 mm
  • Serbatoio 16 lt
Honda

Honda
Via della Cecchignola, 13
00143 Roma (RM) - Italia
848846632
https://www.honda.it/motorcycles.html

Scheda tecnica Honda CBR 1000 RR-R Fireblade SP Carbon (2021)

Cilindrata
1.000 cc
Cilindri
4 in linea
Categoria
Super Sportive
Potenza
218 cv 160 kw 14.500 rpm
Peso
201 kg
Sella
830 mm
Pneumatico anteriore
120/70 -ZR17"
Pneumatico posteriore
200/55 -ZR17" 
Inizio produzione
2020
tutti i dati

Maggiori info