Il 2 tempi non morirà mai! Kawasaki deposita un brevetto, ma non per le moto

Il 2 tempi non morirà mai! Kawasaki deposita un brevetto, ma non per le moto
Dotato di turbina, iniezione diretta e valvole di aspirazione è il motore che potrebbe servire in diversi campi di applicazione, ma forse non nelle moto. Ecco cosa sappiamo
12 luglio 2024

Ebbene si, lo strillo sull’immortalità del motore a due tempi ha una nuova fonte di speranza. Questa volta è Kawasaki che deposita un nuovo brevetto per sfruttare questa tipologia di motori, però attenzione, a quanto pare l’idea sembra essere orientata verso la produzione destinata agli aerei o qualcosa che necessiti di una coppia continua e non l’elasticità tipica ed essenziale dei motori destinati al trasporto su gomma.

Naviga su Moto.it senza pubblicità
1 euro al mese

Con questa invenzione, Kawasaki vorrebbe sfruttare i vantaggi del motore a 2 tempi senza i difetti che si porta dietro, ovvero maggiore consumo di carburante e maggiori emissioni nocive, il tutto dovuto al cosiddetto “lavaggio” e le sue tipiche perdite di miscela incombusta. Ma il 2 tempi ha una resa eccezionale, fa lo stesso lavoro di un 4t con la metà dello sforzo e con poche parti in movimento; quindi, vale la pena metterci la testa.

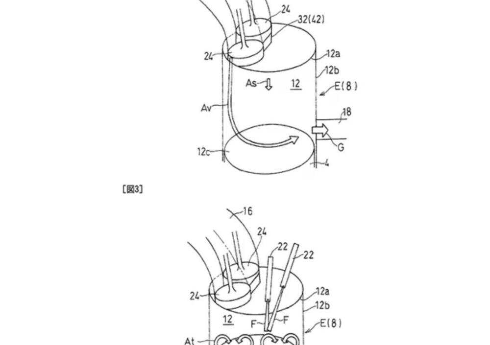
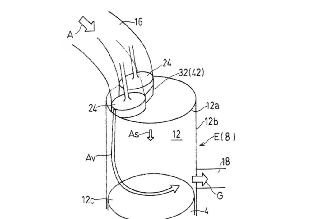
Sfruttando un sistema già utilizzato su alcuni motori marini a 2t, il brevetto mette in luce l’utilizzo di una valvola di aspirazione azionata da un albero a camme, che sovralimentano l'aria aspirata e effettuano l'iniezione diretta. Nel ciclo di compressione, il pistone comprime ulteriormente l'aria precompressa durante la sua salita e solo poco prima del PMS Kawasaki inietta la benzina direttamente nella camera di combustione e poi scatta la scintilla della candela

Non sappiamo per quale applicazione Kawasaki vorrà utilizzare questa tecnologia eppure le sue caratteristiche lo rendono ideale soprattutto per scenari che richiedono una coppia costante come motori per generare energia elettrica, range extender per aumentare l’autonomia di veicoli ibridi oppure aeromobili. Una cosa è certa, il motore a 2T non morirà mai!

Foto: Motorradonline.de

Argomenti

Caricamento commenti...