Honda, brevetto di una "quattro cilindri" raffreddata ad aria: futura CB1100?

Honda, brevetto di una "quattro cilindri" raffreddata ad aria: futura CB1100?
Disegni di brevetto depositati da Honda farebbero supporre che in Giappone abbiano sviluppato una moto plurifrazionata e raffreddata ad aria nonostante l’arrivo della normativa Euro5. Una nuova CB1100 per il 2020 o 2021?
11 luglio 2019

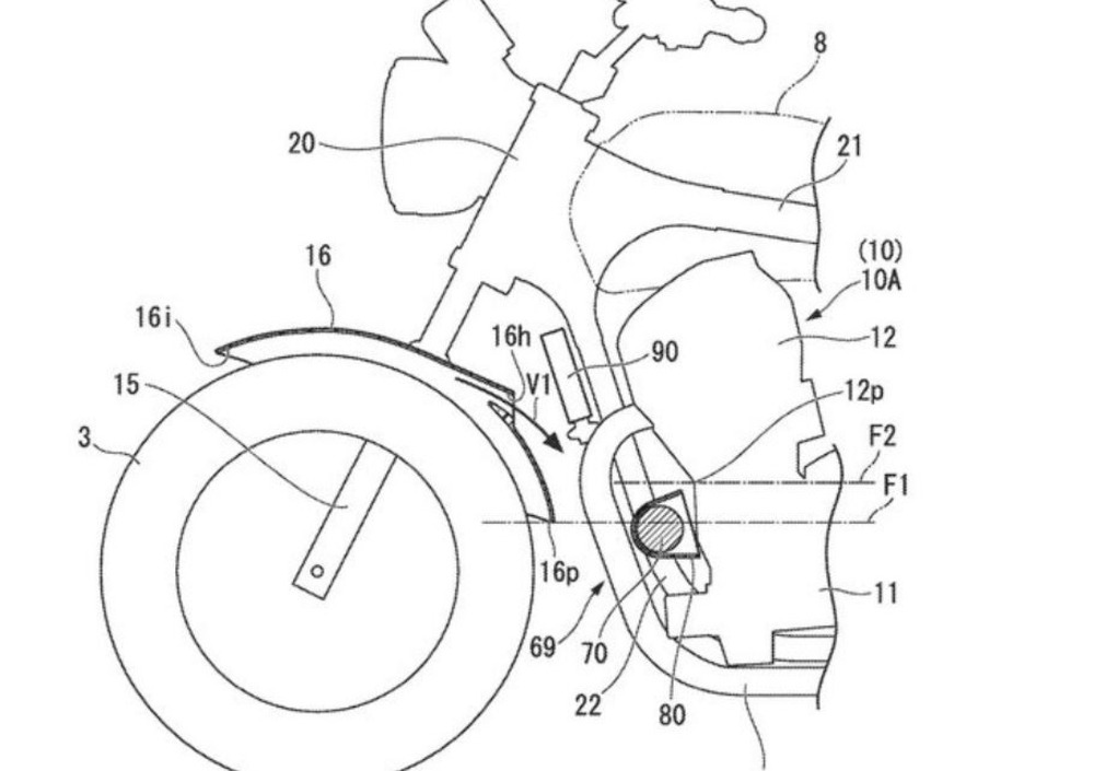
I colleghi inglesi di bikesocial hanno pubblicato alcuni disegni di brevetto Honda. Da quello che si evince esaminandoli, si tratterebbe di una stradale a quattro cilindri assimilabile all’attuale CB1100, ma evoluta nel motore quanto nel telaio.

Quest’ultimo lascia intendere una moto ancora classica, ma più moderna, nel senso che la struttura rimane a doppia culla in tubo d’acciaio a sezione tonda, ma superiormente c’è una soluzione monotrave (come sulla prima CB 750 Four ad esempio), mentre anche il disegno posteriore è più snello, poiché al posto della sospensione con due ammortizzatori laterali compare un sistema con mono centrale.

A far propendere per l’erede della CB1100, nata per il mercato giapponese dove ha sbancato, ma che ha saputo raccogliere un discreto successo anche all’estero, c’è soprattutto la motorizzazione a quattro cilindri, ma con raffreddamento ad aria.

Vedi il listino delle attuali CB 1100

Vedi le offerte del nuovo delle CB 1100

Naviga su Moto.it senza pubblicità
1 euro al mese

Una soluzione che più classica non si può, e che prosegue la storia iniziata nel 1969 con la famosa CB 750 Four. Honda è rimasta l’unica a proporre questo schema quando si è trattato di affrontare i limiti imposti dalla normativa Euro3 e poi Euro4, che ha pensionato altri modelli importanti della concorrenza quali Yamaha XJR e Suzuki Bandit.

Misurarsi con i limiti più stringenti della imminente normativa anti inquinamento e anti rumore Euro5 è una sfida ancora più dura se non si dispone del raffreddamento a liquido, che mantiene sotto controllo le temperature (leggi stabilità nelle emissioni allo scarico) e assorbe parte della rumorosità.

Vedi la nostra prova della CB 1100

Vedi le offerte dell'usato della CB 1100

E’ possibile che Honda abbia sviluppato ulteriormente il circuito lubrificante nella funzione di asportazione del calore, e da quello che i disegni di brevetto mostrano c’è stata attenzione nel canalizzare l’aria dal parafango anteriore ai cilindri 2 e 3, quelli centrali che soffrono di maggiore instabilità termica.
Un’altra simulazione termica mostra i flussi d’aria fresca che raffreddano anche il canister carburante (il filtro a carboni che assorbe i vapori di benzina), posto ora nella zona anteriore della moto.

I disegni mostrano peraltro un motore tutto nuovo e più compatto, sempre con distribuzione bialbero e catena di comando centrale, ma con la trasmissione (frizione e cambio) rialzata rispetto all’albero motore. L’impianto di scarico non ha più andamento 4 -1- 2 (con terminali di scarico su entrambi i lati della moto), ma un solo terminale sul lato destro e collettori raggruppati come sulle CB 650 e 1000R.

Se sarà così la prossima CB 1100, 2020 o 2021 che sia, è presto per dirlo. Anche perché “l’abito” scelto potrebbe essere volutamente fuorviante. Staremo a vedere.

 

Ultime da News

Caricamento commenti...
Honda CB 1100 EX (2017 - 20)
Honda

Honda
Via della Cecchignola, 13
00143 Roma (RM) - Italia
848846632
https://www.honda.it/motorcycles.html

  • Prezzo 13.290 €
  • Cilindrata 1.140 cc
  • Potenza 90 cv
  • Peso 255 kg
  • Sella 790 mm
  • Serbatoio 17 lt
Honda

Honda
Via della Cecchignola, 13
00143 Roma (RM) - Italia
848846632
https://www.honda.it/motorcycles.html

Scheda tecnica Honda CB 1100 EX (2017 - 20)

Cilindrata
1.140 cc
Cilindri
4 in linea
Categoria
Naked
Potenza
90 cv 66 kw 7.500 rpm
Peso
255 kg
Sella
790 mm
Pneumatico anteriore
110/80-18”
Pneumatico posteriore
140/70-18”
Inizio Fine produzione
2016 2020
tutti i dati

Maggiori info

Ultimi articoli su Honda CB 1100 EX (2017 - 20) e correlati