Ci risiamo: un'altra soluzione che manda in pensione la forcella

Ci risiamo: un'altra soluzione che manda in pensione la forcella
Il Gruppo Piaggio deposita un brevetto per una sospensione anteriore alternativa
16 agosto 2022

Ci sono molte ragioni che possono spingere verso l'abbandono della familiare sospensione anteriore a forcella telescopica. Ma se nessuna di queste ha fino ad adesso ne ricevuto la stessa diffusione universale, probabilmente una ragione ci sarà. La forcella telescopica infatti rispetta tutta una serie di requisiti non facili da trovare tutti insieme in un meccanismo ammortizzante/sterzante: è semplice, è efficace, si lega bene con la dinamica della moto, è relativamente economica da produrre e, tra le tante cose, è oggi una tecnologia pienamente rodata ed esplorata.

Naviga su Moto.it senza pubblicità
1 euro al mese

Eccezioni? Molte, tante partono dal brevetto di Norman Hossack: il Telelever e il Duolever BMW per esempio funzionano benissimo, la sospensione anteriore della Honda GL 1800 Gold Wing a quadrilatero articolato, per non della Bimota Tesi dei primi anni '80 (sistema ripreso dalla attuale Tesi H2) e della successiva e indimenticata Yamaha GTS con telaio a Omega e monobraccio anteriore, ma a chi scrive piace anche ricordare la geniale Britten V1000. Tutte soluzioni che cercano di rimediare ad alcuni dei limiti della forcella, come la variazione dell'avancorsa e dell'interasse in frenata, la rigidezza non differenziabile in senso laterale data la sezione circolare degli steli e il compromettere la la piena efficacia della funzione ammortizzante quando si verifica il trasferimento di carico.

I reparti R&D delle case sono in costante sviluppo di soluzioni alternative che spesso vengono brevettate ma che non sempre hanno poi una ricaduta diretta sulla produzione, tuttavia c'è anche un altro ambito dove le sospensioni anteriori “alternative” possono avere e hanno qualche possibilità in più di venire adottate: nei veicoli a tre ruote, segmento dove il Gruppo Piaggio è presente da molti anni con il suo MP3 che riscuote un buon successo di vendite in Europa.

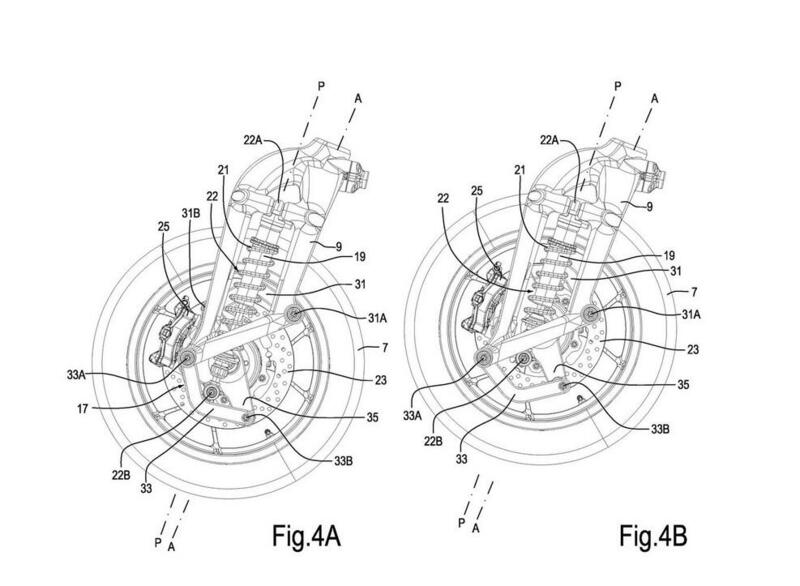
Ed è proprio dal Gruppo di Pontedera che provengono questi disegni che accompagnano la richiesta di brevetto di una sospensione anteriore che riprende il sistema di articolazione ideato nel 19esimo secolo da James Watt (anch'egli scozzese come Hossack).

Piaggio Beverly 300 HPE
Piaggio Beverly 300 HPE

 

Il sistema non è nuovo in campo automotive ma è probabilmente la prima volta che appare in un'applicazione sulla sospensione anteriore di una motocicletta e nei disegni presentati da Piaggio viene applicato attraverso un singolo ammortizzatore con una serie di link aggiuntivi che limiterebbero a valori trascurabili la “non rettilineità” intrinseca del moto del perno ruota insito nel meccanismo di Watt.

È una soluzione che ricorda quella in uso sulle Vespa, ma in questo caso il movimento risultante sarebbe più simile a quello di una convenzionale forcella telescopica rispetto alla quale potrebbe presentare una flessibilità e rigidezza più facilmente controllabili in senso trasversale e longitudinale, oltre a una diversa gestione dell'effetto anti-dive.

Ricordando che non sempre i brevetti si traducono in soluzioni industriali e che è ancora più raro che lo diventino rispettando l'applicazione mostrata nei disegni di brevetto, a quali mezzi potrebbe essere applicata da Piaggio questa sospensione anteriore? Certamente a uno scooter come il Beverly, nel quale potrebbe offrire un controllo ancora migliore della dinamica di guida, ma riteniamo che una sospensione del genere possa – condizionale obbligatorio – essere utilizzata in quella ipotetica moto a tre ruote che si pensa il Gruppo Piaggio stia sviluppando.

 

Hot now

Caricamento commenti...