Bosch ci insegna a stare in formazione!

Bosch ci insegna a stare in formazione!
Bosch ha depositato un brevetto per un sistema di ausilio alla guida quando si viaggia in gruppo. Il mondo auto sconfina in quello delle due ruote, che sia esagerato?
6 giugno 2024

Come segnalano i nostri colleghi di RideapartBosch sembra stia lavorando su qualcosa volto a rendere la guida in gruppo più sicura di quanto non lo sia già adesso.
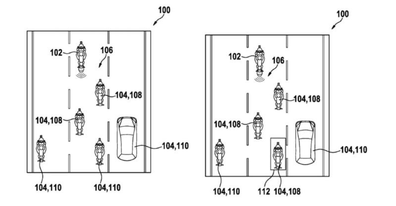
Sono stati depositati brevetti per un cosiddetto dispositivo di controllo che può essere utilizzato quando si affronta un viaggio in più di una moto.
Questo sistema utilizza sensori per individuare i membri del gruppo e capisce se altri veicoli nel traffico ne fanno parte o meno.
Il brevetto spiega che il sistema è abbastanza intelligente da includere non solo motociclette, ma anche automobili, camion ecc.
Sfruttando i sensori dei radar, e dei LiDAR (Light Detection And Ranging - nome che identifica la tecnologia che misura la distanza da un oggetto illuminandolo con una luce laser e che al contempo è in grado di restituire informazioni tridimensionali ad alta risoluzione sull'ambiente circostanteo fotocamera), questi sensori riportano i dati in un modulo alloggiato a bordo della motocicletta, che poi fornisce al pilota informazioni attraverso una "interfaccia uomo-macchina" (attraverso il display della moto o attraverso un'unità di comunicazione accoppiata), sui membri del loro gruppo e sulle loro rispettive posizioni.

L'obiettivo di Bosch per questo sistema è ridurre l'uso dello specchietto retrovisore da parte del pilota per controllare costantemente la posizione degli altri membri del proprio gruppo, concentrandosi invece sulla strada da percorrere per una maggiore sicurezza.
 

 

Naviga su Moto.it senza pubblicità
1 euro al mese

Il dispositivo potrebbe avere un input fisico per i comandi della motocicletta, simile a quello che troviamo nei sistemi avanzati di assistenza alla guida delle auto.
Cruise control adattivo che accelera e rallenta le nostre moto in autonomia, mantenimento della corsia che invia una notifica sui nostri display se ritiene che siamo disattenti. Sembra che il controllo venga lentamente ma inesorabilmente tolto al motociclista / automobilista, che invece quando guida, dovrebbe guidare e basta!

Al giorno d'oggi esistono sistemi di assistenza praticamente per tutto ciò che ha a che fare con la guida, almeno in campo automobilistico, e a quanto pare si sta sondando la possibilità di invadere anche il campo delle due ruote.
Voi cosa ne pensate?

Caricamento commenti...