BMW mette le luci sulle ali

BMW mette le luci sulle ali
Per le winglets delle moto BMW non soltanto una funzione aerodinamica ma anche quella di aumentare la sicurezza
19 giugno 2023

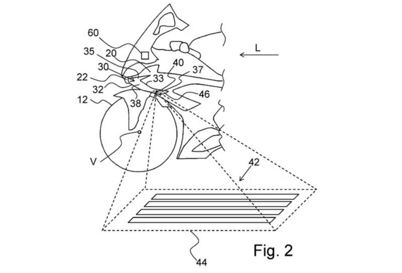
Forma e funzione, in questo caso al quadrato: BMW ha infatti brevettato - come riportano i nostri colleghi di Motorrad - ali aerodinamiche per i propri modelli nelle quali integrare luci di posizione o diurne (DRL), indicatori di direzione e luci di illuminazione laterale. Molte moto moderne fanno ormai uso delle cosidette winglets, le appendici aerodinamiche usate per caricare la ruota anteriore ad alta velocità, vero e proprio manifesto del legame tra le corse - sia MotoGP che SBK - e la produzione.

 

Naviga su Moto.it senza pubblicità
1 euro al mese

Se dal punto di vista puramente sportivo le alette aerodinamiche esauriscono la propria funzione nel garantire maggiore stabilità all'avantreno, sulle moto stradali queste appendici possono però rivelarsi provvidenziali - secondo i brevetti di BMW - per integrare elementi di sicurezza passiva.

Inserendo dei leggeri elementi a LED possono infatti alloggiare le DRL o gli indicatori di direzione: la loro funzione aerodinamica non ne verrebbe a soffrire e l'aumento del peso sulle ali sarebbe del tutto trascurabile, mentre lo stile e la libertà di disegnare una firma ottica personale ne avrebbero certamente beneficio, oltre alla sicurezza di poter disporre le luci su una sagoma più ampia. Ma un'ulteriore e non trascurabile applicazione richiamata nel brevetto richiesto da BMW è quella di utilizzare le winglets per alloggiare delle luci che illuminino la parte laterale della moto: un po' come già avviene con la K1600 (dove vengono usate più che altro per illuminare la zona d'appoggio del cavalletto), ma questa volta con la libertà di poter disporre anche di una illuminazione più ampia e magari anche in movimento o con sagome variabili.

 

Non è chiaro se e quando questi brevetti troveranno applicazione nella produzione di serie, ma quello che ci viene naturale pensare è che l'applicazione su un modello attualmente in line-up (magari come optional) non dovrebbe avere ostacoli tecnici insormontabili, per usare un eufemismo. Ci sarebbero probabilmente da risolvere problemi omologativi ma se la casa di Monaco ha brevettato queste soluzioni lo ha fatto, con ogni probabilità, avendo valutato preventivamente anche questo tema.

Caricamento commenti...