Autoliv: brevetto cinturino autoregolante

Autoliv: brevetto cinturino autoregolante
Il brevetto del cinturino autoregolante di Autoliv utilizza un meccanismo elettronico che automaticamente garantisce l’aderenza ottimale senza sacrificare il comfort durante la guida normale.
10 aprile 2026

La proposta di Autoliv non è solo un cambio di design, ma un cambio di paradigma. Ecco come questa tecnologia cerca di colmare il divario tra comfort e protezione estrema.

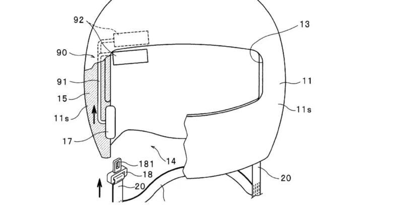
Il cuore dell'innovazione è un meccanismo di pretensionamento elettronico.
A differenza di un cinturino micrometrico o a doppia D tradizionale, che una volta regolato rimane statico, il sistema Autoliv è dinamico:

  1. Fase di Calzata: Il cinturino rimane leggermente più morbido per facilitare l'inserimento e il comfort iniziale.

  2. Rilevamento: Sensori integrati (spesso accelerometri e giroscopi) monitorano lo stato della moto e del pilota.

  3. Attivazione: In caso di collisione imminente o impatto rilevato, il sistema ritrae il cinturino in millisecondi, eliminando ogni gioco tra il mento e la cinghia.

Naviga su Moto.it senza pubblicità
1 euro al mese

Uno dei rischi maggiori negli incidenti ad alta velocità è che il casco ruoti in avanti o si sfili completamente a causa di un cinturino troppo lento. L'automazione garantisce che la tensione sia sempre quella ottimale per mantenere il casco in posizione critica, indipendentemente dalla pigrizia del pilota nell'allacciarlo.

2. Integrazione con l'Airbag da casco

Autoliv sta esplorando l'uso di airbag integrati all'interno o alla base del casco. Per far sì che un airbag si gonfi correttamente e protegga il collo, il casco deve essere perfettamente solidale alla testa. Il cinturino autoregolante è la chiave per rendere efficace questa tecnologia.

3. Comfort "adattivo"

Molti piloti allentano il cinturino perché dà una sensazione di soffocamento. Un sistema intelligente potrebbe allentarsi leggermente durante le soste al semaforo e stringersi non appena la velocità aumenta, migliorando l'esperienza di guida senza mai compromettere la sicurezza.
 

Se pensiamo al casco del futuro come a un sistema integrato, il cinturino di Autoliv agisce come il direttore d'orchestra.

  • Nel caso dell'Airbag: Senza un cinturino che si tensiona istantaneamente, l'espansione dell'airbag (che avviene con una forza d'urto notevole) rischierebbe di sollevare il casco invece di stabilizzare il collo. Il pretensionatore assicura che la forza dell'airbag sia scaricata correttamente sulla struttura del casco e non causi movimenti parassiti della calotta.

  • La gestione della "Pigrizia": È un dato di fatto che molti incidenti gravi vedono caschi scalzati perché allacciati male. Automatizzare la tensione significa eliminare l'errore umano alla base. Se il sistema rileva che il casco non è "solidale", potrebbe teoricamente avvisare il pilota tramite il cruscotto della moto (sfruttando protocolli di comunicazione come il V2X)

Lo spazio all'interno di un casco è prezioso quanto l'oro. Ogni millimetro occupato da un motore o da una batteria è un millimetro tolto all'EPS (polistirolo espanso), ovvero lo strato che assorbe l'energia dell'impatto.

  • Miniaturizzazione: Autoliv non sta cercando di inserire un pistone idraulico, ma piccoli motori brushless e attuatori simili a quelli dei pretensionatori delle cinture di sicurezza auto, ma in scala ridotta.

  • Distribuzione dei pesi: Il problema non è solo quanto pesa (si stima un aggravio tra i 150g e i 250g), ma dove è posizionato. Se i componenti sono nel sottogola o sulla nuca, possono sbilanciare il casco in avanti o indietro, aumentando l'affaticamento del collo.

Caricamento commenti...