Un po' scooter, un po' go-kart: perché Suzuki vuole brevettare un triciclo?

Un po' scooter, un po' go-kart: perché Suzuki vuole brevettare un triciclo?
Una curiosa richiesta di brevetto in Giappone mostra i progetti di Suzuki per un tre ruote con sospensioni basculanti ma più simile ad un go-kart che uno scooter. Vediamo di cosa si tratta
28 aprile 2023

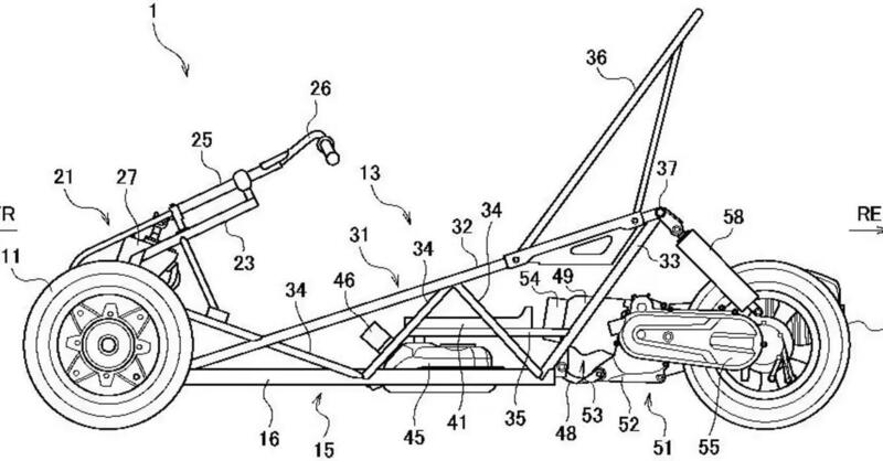
Dopo Piaggio, Yamaha e Quadro, anche Suzuki potrebbe in un futuro prossimo proporre un veicolo a tre ruote in grado di inclinarsi in curva. A differenza dei modelli già presenti sul mercato, però, quello della Casa di Hamamatsu sarebbe più simile ad un go-kart che uno scooter convenzionale. Lo scopriamo dalla richiesta di brevetto che i tecnici della Casa hanno presentato in Giappone. I disegni mostrano una struttura con due ruote anteriori ed una motrice posteriore che può semmai ricordare altri progetti come la Polaris Slingshot con la differenza rispetto a quest'ultima di poter ospitare un solo occupante centralmente. Inoltre c'è il classico manubrio anziché il volante e, come detto, c'è la possibilità di piegare in curva come su una moto.

Naviga su Moto.it senza pubblicità
1 euro al mese

Semplice ed economico

La differenza sostanziale, però, rispetto ad un veicolo come la Slingshot è che questo progetto di Suzuki non riguarda un triciclo ad alte prestazioni quanto ad un mezzo economico per il trasporto individuale. Come si nota dai disegni nella parte posteriore non troviamo lo spazio per un motore di grossa cubatura (niente trike Hayabusa, dunque... peccato!) ma per l'unità motrice e la trasmissione di un classico scooter. Non vengono forniti ulteriori dettagli sulla cilindrata o altro, ma i più nerd possono trovare alcune somiglianze con il monocilindrico 125 dell'attuale gamma Suzuki. La trasmissione sarà dunque a variazione continua come avviene tipicamente sugli scooter e non ci aspettiamo dunque una motorizzazione con prestazioni estreme. La descrizione fornita con il brevetto, infatti, parla di una "configurazione semplice ed economica" ed è perciò chiaro che si tratta di un veicolo per trasporto individuale dedicato a chi vuole muoversi in città in modo più agile di un'auto ma con meno rischi rispetto ad una due ruote. E voi cosa ne pensate? Vorreste vederlo in produzione? Fatecelo sapere nei commenti.

Argomenti

Caricamento commenti...