La prossima tourer CFMoto potrebbe avere una sospensione di tipo Hossack

La prossima tourer CFMoto potrebbe avere una sospensione di tipo Hossack
Seguendo le orme di BMW e di Honda anche CFMoto sta lavorando ad una sospensione anteriore alternativa per la sua prossima tourer 1250 e fa richiesta di brevetto per un progetto che ricorda quelli di Norman Hossack
28 aprile 2023

Tra le moto più lussuose e pensate per il turismo si è spesso e volentieri cercato una sospensione anteriore alternativa alla forcella telescopica. Se questa è una soluzione con molti vantaggi è altrettanto vera che presenta anche diversi limiti. Il classico esempio è quello offerto da BMW con il suo celebre Telelever che, a trent'anni dall'esordio, benché sia diventato uno dei simboli della produzione tedesca ha ora una diffusione ridotta all'interno della gamma. Proposte diverse non sono mancate e una di quelle meno celebri è probabilmente quella ideata dall'ingegnere scozzese Norman Hossack negli anni Settanta. Non ha conosciuto un'enorme diffusione ma ha di certo ispirato anche altri costruttori tra cui la stessa BMW nel progettare il sistema Duolever che ancora oggi troviamo sulla serie K1600. Anche Honda ha sposato lo stesso schema per l'ultima generazione della Gold Wing.

Naviga su Moto.it senza pubblicità
1 euro al mese

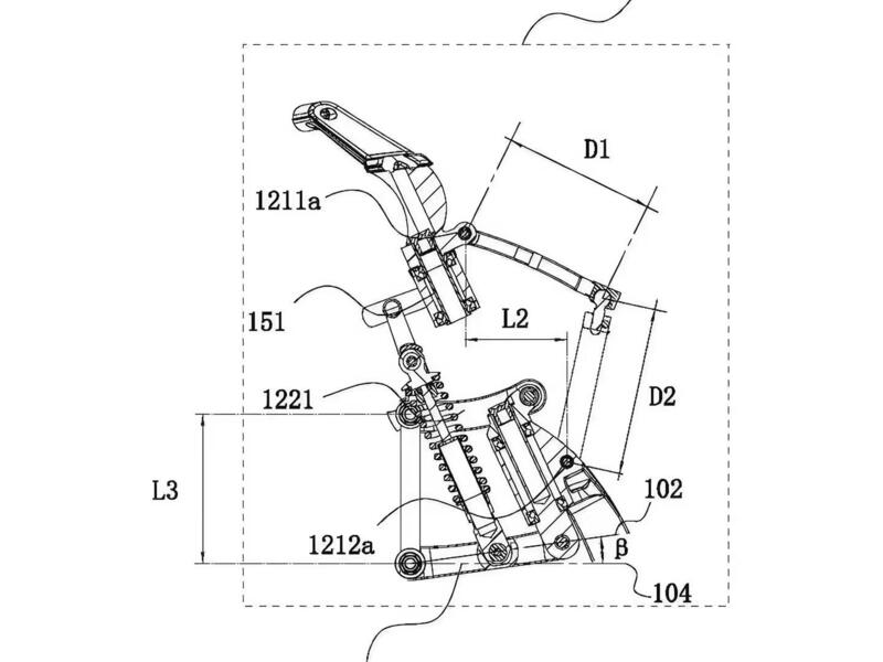
A questi marchi prestigiosi prossimamente potrebbe unirsi anche CFMoto, sempre più in rapida espansione anche in un segmento premium di mercato. La sua 1250TR-G è una tourer con bicilindrico a V da 1.279 cc e 140 CV derivato da quello del partner KTM e potrebbe essere la moto giusta su cui far debuttare il progetto di sospensione anteriore per la quale è stata fatta richiesta di brevetto e che vi mostriamo in questo articolo. L'avantreno che si vede ricorda abbastanza quello Duolever BMW che a sua volta come detto riprendeva la configurazione di Hossack. Il brevetto richiesto da CFMoto si riferisce a una parte piuttosto banale del progetto: un giunto sferico utilizzato nel tirante dello sterzo. Le illustrazioni depositate però ci mostrano chiaramente l'intera configurazione delle sospensioni e un pezzo della moto che parrebbe essere proprio la 1250TR-G.

Qual è il vantaggio?

Questa soluzione garantirebbe, rispetto ad una forcella tradizionale, una sospensione morbida senza soffrire di un cedimento eccessivo in fase di frenata, cosa particolarmente rilevante quando abbiamo una moto pesante e destinata ad offrire il massimo comfort possibile. Inoltre faciliterebbe l'adozione di tecnologie adattive come la regolazione elettronica del precarico. Di certo la proposta di una big tourer cinese con soluzioni così particolari poteva sembrare incredibile soltanto poco tempo fa mentre oggi appare quanto mai possibile specie per un marchio come CFMoto.

Caricamento commenti...

Hot now