Scooter anfibio? Zongshen lo ha brevettato: ecco come funziona

Il colosso cinese Zongshen ha brevettato un curioso e complesso sistema di sterzo posteriore per sviluppare uno scooter anfibio. Il brevetto
19 aprile 2024

Partire all'avventura, scoprire nuove strade e macinare chilometri sono alcuni dei motivi per i quali noi appassionati amiamo le due ruote, tuttavia all'avventura - al momento - possono esserci dei limiti: un guado troppo alto per esempio...

Zongshen ha brevettato un complesso e curioso sistema di sterzo posteriore, montato su su uno scooter, che trasformerebbe il veicolo terreste in un vero e proprio anfibio inarrestabile. 

Ecco di cosa si tratta.

Naviga su Moto.it senza pubblicità
1 euro al mese

Sterzo al posteriore

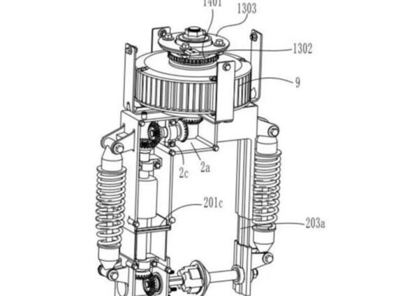
Il concetto si basa su una modifica del sistema di sterzo del veicolo, che passa dall'avere un canonico sterzo anteriore a uno posteriore. Questa soluzione permette al gruppo della sospensione posteriore - e alla gomma posteriore - di ruotare liberamente per la classica guida su asfalto. Questo sistema, in modalità "acquatica", ruoterebbe di 90° per disporsi trasversalmente rispetto all'asse longitudinale dello scooter e funzionare come una vera e propria elica.

Lo scooter in modalità "terrestre"
Lo scooter in modalità "acquatica"

Un progetto tutt'altro che semplice

Inizialmente, Zongshen ha realizzato il telaio dello scooter basandosi su una struttura in acciaio dotata di quattro galleggianti interni per garantire la "navigazione" del mezzo. Successivamente, ha reso mobile l'asse posteriore per consentire gli spostamenti sia via acqua che via terra.

Per la propulsione in acqua, la ruota posteriore si trasforma in un'elica, esigenza che richiede una sospensione che consenta questa particolare mobilità, senza compromettere la dinamica di guida su strada. La trasmissione, sia per l'acqua che per la guida su terra, è gestita da un motore elettrico situato sopra la sospensione posteriore.

Al momento, non disponiamo di ulteriori informazioni sull'applicazione pratica di questo veicolo e rimane anche difficile immaginare un utilizzo concreto, specialmente per la potenza molto contenuta.

Fonte e immagini: Motorbike Magazine

Argomenti

Hot now

Caricamento commenti...