Toyota al lavoro su uno scooter alimentato a idrogeno

Toyota al lavoro su uno scooter alimentato a idrogeno
Da tempo sostenitrice della alternativa a celle combustibili piuttosto che allo sviluppo delle powertrain elettriche tradizionali, accelera con nuovi brevetti che mettono al centro lo sviluppo di uno scooter alimentato a idrogeno
23 aprile 2026

Nel brevetto Toyota utilizza come base stilistica e tecnica lo scooter a idrogeno Suzuki Burgman, che risale già ai primi sviluppi di metà anni 2000 e fu presentato in versione fuel cell nel 2011 al Tokyo Motor Show. Il marchio giapponese mantiene quindi il focus sulle celle a combustibile, che convertono l’idrogeno in elettricità reagendo con l’ossigeno atmosferico, producendo come unico residuo vapore acqueo.

Il documento tecnico, registrato in Giappone, non presenta un progetto di produzione, ma esplora un concetto di scooter a pila a combustibile che sfrutta idrogeno in stile “tank‑swap”: invece di rifornire il veicolo con gas ad alta pressione, il sistema prevede serbatoi pre‑caricati facilmente sostituibili. Alla stazione di servizio, il conducente dovrebbe semplicemente sganciare il contenitore quasi vuoto e inserire al suo posto uno pieno, replicando l’esperienza di un cambio batteria, ma con un vettore energetico allo stato gassoso.

Naviga su Moto.it senza pubblicità
1 euro al mese

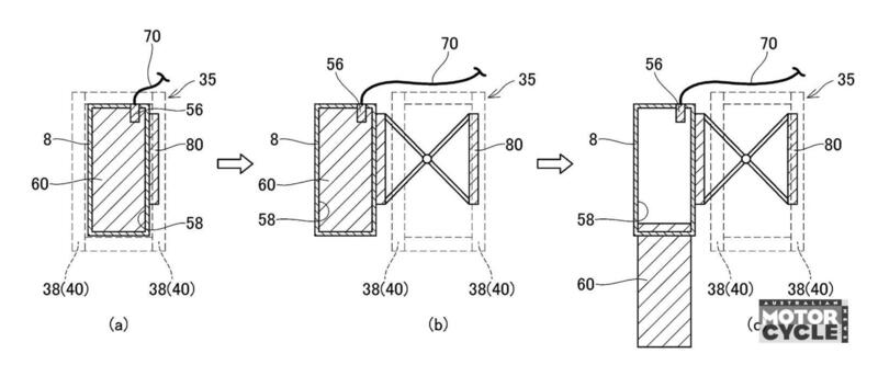
Il design del serbatoio è pensato per risolvere un problema tipico dei prototipi a idrogeno: è integrato nella struttura centrale del veicolo, in modo da abbassare il baricentro, ma tale soluzione rende difficile l’accesso e la sostituzione. Toyota propone di montare il contenitore in un supporto articolato che può ruotare lateralmente, facilitando il rimessaggio, con almeno due varianti: una a cerniera frontale che fa “sporgere” il serbatoio verso il lato della vettura e una soluzione a bracci a forbice che lo sposta rimanendo parallelo alla sagoma dello scooter.

Secondo il brevetto, il sistema a cartucce sostituibili è particolarmente adatto alle Fuel Cell, perché garantisce una maggiore efficienza e una portata tipicamente superiore rispetto ai motori a combustione ad idrogeno, oltre a rimanere esente da emissioni di ossidi di azoto. Inoltre, l’uso di contenitori sigillati riduce il rischio che contaminanti entrino nel sistema, tutelando i delicati materiali della cella e mantenendo invariata la qualità del gas durante il rifornimento.

Non ci sono segnali che Toyota avrà uno scooter a idrogeno in listino, ma il progetto dimostra una volontà coerente di estendere la sua visione di “società dell’idrogeno” anche alla micromobilità urbana. In un orizzonte più lungo, il brevetto lascia aperta la possibilità che, in alcuni mercati, gli scooter possano trovare spazio accanto a batterie ricaricabili, con idrogeno come vettore energetico alternativo per le due ruote.

Foto: AMCN.com

Argomenti