Il faro montato sul gimbal. Ecco un altro curioso brevetto BMW

Il faro montato sul gimbal. Ecco un altro curioso brevetto BMW
L'idea è di utilizzare uno stabilizzatore, come i gimbal delle telecamere dei droni, per migliorare le prestazioni delle luci quando si è in piega e non solo
18 marzo 2024

Potrebbe presto esserci un nuovo sviluppo al concetto di "cornering lights" e non sorprende che possa arrivare da BMW, marchio da sempre all'avanguardia su questo tipo di soluzioni. L'ultima idea contenuta in una domanda di brevetto presentata da BMW trae ispirazione dai gimbal ovvero gli stabilizzatori meccanici utilizzati per le telecamere come quelle impiegate sui droni ma anche dai nostri colleghi del reparto video. Per chi non avesse dimestichezza con l'oggetto, si tratta di un supporto per la telecamera che la tiene in posizione mentre noi ci muoviamo. A prescindere da dove e come ci spostiamo la camera viene stabilizzata su tre assi. Essenzialmente quello che fa il collo della gallina, non so se ci avete mai fatto caso...

Naviga su Moto.it senza pubblicità
1 euro al mese

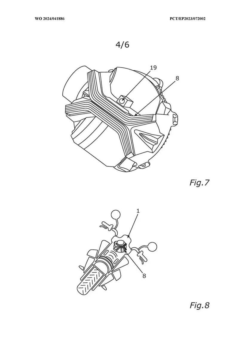
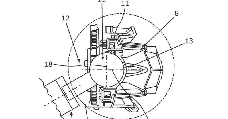
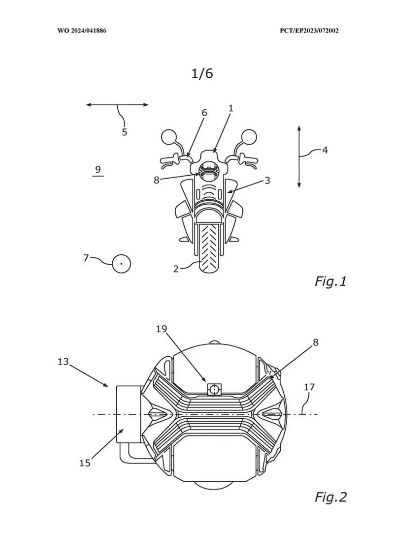
BMW ha già creato luci che possono muoversi all'interno dei propri alloggiamenti per contrastare l'inclinazione e l'oscillazione. Ad esempio, l'opzione angolare adattiva Headlight Pro sulla R 1250 GS consente al faro a bassa intensità di ruotare fino a 35 gradi in ciascuna direzione per compensare l'inclinazione durante le curve e corregge le variazioni di oscillazione dovute ai cambiamenti di altezza da terra e carico. Ma la nuova domanda di brevetto è un ulteriore passo avanti perché l'intera unità sarebbe montata su un gimbal a tre assi essenzialmente identico ai sistemi per le telecamere o gli smartphone di cui sopra. Il primo asse consente al faro di rimanere livellato mentre la moto si inclina. Il secondo compensa l'oscillazione per mantenerlo livellato anteriormente e posteriormente, mentre il terzo consente alla luce di girarsi fisicamente verso l'apice di una curva, illuminando esattamente il tratto di strada verso cui ti stai dirigendo.

L'intero sistema è controllato dalla stessa piattaforma inerziale (IMU) che già monitora l'inclinazione, l'oscillazione e il beccheggio della moto. Proprio come i gimbal utilizzati per le telecamere, il risultato dovrebbe essere in grado di mantenere il faro stranamente stabile anche mentre il resto della moto si muove sotto di esso.

Apparentemente questa innovazione sarebbe in contrasto con fari come quello che proprio BMW ha scelto per la nuova R 1300 GS. Qui il sistema opzionale di luci angolari Headlight Pro utilizza una matrice LED, accendendo e spegnendo singole luci per puntare il fascio nella giusta direzione mentre la moto si inclina. Nella nuova domanda di brevetto però c'è anche una telecamera montata all'interno del faro. Il documento del brevetto non rivela l'esatto scopo della telecamera, limitandosi a dire che è "progettata per catturare almeno un'area dell'ambiente", specificamente quella illuminata dal faro.

Potremmo però ipotizzare che la telecamera possa essere collegata a sistemi aggiuntivi di assistenza al conducente, come assistenza alla corsia, assistenza alla frenata o controllo automatico della velocità adattativo ma forse più banalmente potrebbe servire per i cosiddetti fari a matrice attiva già impiegati sulle auto. Questi consentono di lasciare accesi i fari abbaglianti anche quando si incrociano altri veicoli perché spengono selettivamente parti del fascio luminoso onde evitare di infastidire chi ci viene incontro mantenendo allo stesso tempo il resto della strada illuminato.

Nel brevetto BMW vengono messi assieme un gimbal, una telecamera ed un faro a matrice LED. Questo potrebbe aprire la via ai fari automatici anche sulle motociclette, in grado di accendersi e regolarsi in base a ciò che "vedono". Sarà davvero così? Prima o poi lo sapremo...

Fonte: CycleWorld

Caricamento commenti...