I freni senza cavi arrivano sulle e-bike. E sulle moto?

I freni senza cavi arrivano sulle e-bike. E sulle moto?
Shimano ha registrato altri brevetti per i suoi brake by wire, in pratica la frenata wireless. Esiste già su aerei e auto, ma ancora non sulle due ruote. Vi fidereste ad averli sulla moto?
25 giugno 2024

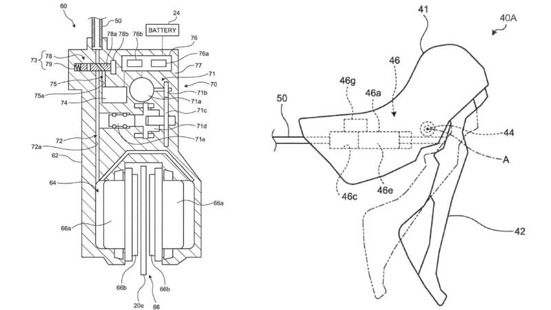
Freni senza cavi. Nella testa di chi - come il sottoscritto - è nato nel ventunesimo secolo probabilmente si sente in questo momento una sorta di scricchiolio, di inceppo, di corto circuito. Difficile da assimilare come concetto specie se parliamo di un oggetto che ha soltanto due ruote e non sta in equilibrio da solo. Eppure questa tecnologia wireless è già realtà in alcuni settori come quello aeronautico e persino quello automobilistico. A breve potrà esserlo anche in quello ciclistico perché Shimano ha brevettato il proprio sistema di brake by wire che non necessita di collegamento meccanico per funzionare. Non vi è trasmissione di vibrazioni sulle leve quando si attiva il sistema anti-bloccaggio. I vantaggi? Peso, spazi di frenata, maggior velocità nella progettazione del veicolo e un design pulito senza bisogno di preoccuparsi di dove far passare i cavi dato che puff sono spariti per magia.

Il miglioramento della sicurezza e degli spazi d'arresto non è forse di immediata comprensione. Forse non appare così intuitivo, ma in realtà non avendo più organi meccanici tra la leva e la pinza i tempi tra la reazione e il bloccaggio sono minori. La stessa Brembo presentò i suoi nel 2018 pensati per le auto elettriche con frenata rigenerativa dove conta anche il fatto di non aver alcuna vibrazione.

Naviga su Moto.it senza pubblicità
1 euro al mese

Ne abbiamo davvero bisogno?

La domanda retorica che ci si pone quasi sempre quando abbiamo davanti una nuova tecnologia è se ci serve davvero. In questo caso ci riferiamo ovviamente alle due ruote e in particolare a bici ed e-bike, oggetti che (perlomeno le prime) hanno tutto il fascino della semplicità. D'altra parte la stessa Shimano ha già da tempo introdotto il cambio wireless e anche di quello ci si chiedeva se serviva davvero. Qui però c'è il fattore sicurezza che spaventa di più. Anche perché per funzionare questi dispositivi hanno bisogno di energia e questo si traduce in batterie. Devo supporre che se sono "carico" posso frenare e se sono "scarico" invece è meglio non provarci? Non suona come un'ipotesi così allettante. Ma rimaniamo ai fatti: Shimano ha proposto tre progetti. Il primo è un sistema ibrido elettrico-idraulico, il secondo un sistema ibrido meccanico-elettrico e il terzo un sistema completamente elettrico. Quindi nei primi due la parte meccanica o idraulica c'è e questo ci fa dedurre che nella situazione di prima possiamo star tranquilli anche se, di fatto, andiamo a perdere parte dei vantaggi del wireless perché davvero wireless non sarebbe. Nel terzo caso, invece, abbiamo il vero wireless senza neppure un minimo collegamento fisico tra i vari organi. Quanta fiducia dobbiamo riporre in questa tecnologia? Certo che un'azienda come Shimano non ha alcun motivo di mandare in produzione qualcosa che sarebbe rischioso, ma ci si muove ancora in un campo a noi ignoto e come di consueto ci sarà chi è entusiasta dell'innovazione e ripone fiducia cieca nella tecnologia e chi sarà per sua natura scettico anche di fronte all'evidenza contraria. Siamo fatti così.

Avrebbe senso su una moto?

Probabilmente la prima risposta sarebbe no. Su una moto c'è molto meno la necessità di ridurre così tanto i pesi e pulire così tanto il design, l'aerodinamica. In fondo un cavo in più non è poi così grave. Ma se parliamo di efficacia e scopriamo che questo sistema consente frenate qualitativamente migliori, perché dovremmo a quel punto scartarlo a priori? Fateci sapere come la vedete qui sotto nei commenti.

Argomenti

Hot now

Caricamento commenti...