Honda al lavoro su una CB1000R (forse Hornet 1000) completamente nuova?

I progettisti Honda starebbero lavorando alla nuova generazione della naked CB1000R. A rivelarlo sono dei disegni di brevetto che mostrano novità tecniche ed estetiche
11 ottobre 2022

Poche settimana fa Honda ha presentato la versione 2023 della sua CB1000R, modello di punta della famiglia Neo Sports Cafè. Gli interventi sono stati unicamente cromatici per un modello che è stato lanciato nel 2019.

La naked e a quattro cilindri Honda è in produzione dal 2008 e nelle sue evoluzioni ha generalmente utilizzato un motore a potenza ridotta derivato dalla precedente generazione della più sportiva CBR1000RR. Quest'ultima iper sportiva è stata modificata l'ultima volta nel 2020.

Disegni di brevetto da poco depositati riguardano una possibile e importante evoluzione della CB1000R. Oggetto del brevetto sono tre soluzioni tecniche, ma a cambiare ci sarebbe anche dell'altro.

Naviga su Moto.it senza pubblicità
1 euro al mese
La versione 2023 della CB1000R
La versione 2023 della CB1000R

Se, infatti, la prossima naked Honda (che potrebbe anche trattarsi di una Hornet 1000 che vada ad affiancarsi alla nota CB1000R) utilizza una versione più recente del quattro cilindri, compare un nuovo telaio in lega di alluminio simile a quello delle CBR Fireblade.

Facile ipotizzare un aumento della potenza rispetto ai 145 cavalli della CB1000R per avere una streetfighter più competitiva in termini di prestazioni con le varie BMW S1000R, KTM 1290 Super Duke R, Triumph Speed Triple 1200 RS o Yamaha MT-10, mentre la nuova ciclistica andrebbe in una direzione altrettanto sportiva.

Oggetto di brevetto sono intanto la sospensione posteriore articolata al forcellone monobraccio sempre con rinvio progressivo ma con il posizionamento laterale del monoammortizzatore. Una soluzione che ricorda quanto già visto sulla Ducati Panigale e che fra l'altro libera spazio in favore dell'impianto di scarico.
Impianto che nei disegni di brevetto è mostrato con un'originale terminale sdoppiato.

Un secondo brevetto è dedicato alla coppia di ali aerodinamiche montate nella posizione ideale alle spalle della forcella e sopra al radiatore. Delle appendici aerodinamiche che paiono molto curate sotto il profilo della deportanza e non un semplice espediente estetico.

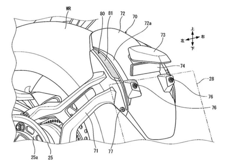
Un terzo brevetto si scorge nella zona posteriore, ai lati del parafango basso che ospita anche la targa si notano gli indicatori di direzione a sviluppo verticale: un espediente che compatta l'insieme e dona una coda ancora più slanciata poiché priva di frecce.

Come sempre in questa fase è difficile pensare a scadenze produttive e prevedere quali soluzioni saranno realmente adottate.
Tuttavia la prossima generazione CB1000R, o magari una nuova Hornet 1000, potrebbero farne effettivamente tesoro.

Hot now

Caricamento commenti...
Honda CB 1000 R (2021 - 25)
Honda

Honda
Via della Cecchignola, 13
00143 Roma (RM) - Italia
848846632
https://www.honda.it/motorcycles.html

  • Prezzo 13.590 €
  • Cilindrata 998 cc
  • Potenza 145 cv
  • Peso 201 kg
  • Sella 830 mm
  • Serbatoio 16 lt
Honda

Honda
Via della Cecchignola, 13
00143 Roma (RM) - Italia
848846632
https://www.honda.it/motorcycles.html

Scheda tecnica Honda CB 1000 R (2021 - 25)

Cilindrata
998 cc
Cilindri
4 in linea
Categoria
Naked
Potenza
145 cv 107 kw 10.500 rpm
Peso
201 kg
Sella
830 mm
Pneumatico anteriore
120/70 ZR17M/C (58W)
Pneumatico posteriore
190/55 ZR17M/C (73W)
Inizio produzione
2021
tutti i dati

Maggiori info