Ecco come potrebbere essere la prossima Yamaha: Turbo

Ecco come potrebbere essere la prossima Yamaha: Turbo
La Casa di Iwata continua sulla strada della sovralimentazione: rilasciato il brevetto a suo tempo richiesto per la gestione dell'erogazione e un'ipotetica Yamaha MT Turbo sembra più vicina
25 agosto 2022

Che Yamaha avesse allo studio una versione sovralimentata del suo tre cilindri è cosa nota da un paio d'anni e l'idea di una naked tre cilindri con 180 cavalli e 18 Kgm di coppia strappabraccia a un regime contenuto pensiamo abbia stuzzicato la fantasia di molti. La strada perseguita dalla Casa di Iwata nello sviluppo di questo progetto (sempre ammesso che non ce ne siano altri di cui non siamo a conoscenza) sembra infatti quello di ricercare una risposta immediata del motore, avere un'erogazione ricca di coppia, contenere il regime di rotazione massimo ma allo stesso tempo ottenere una potenza entusiasmante rispettando i limiti delle norme antinquinamento che in futuro diventeranno sempre più restrittive.

 

Naviga su Moto.it senza pubblicità
1 euro al mese

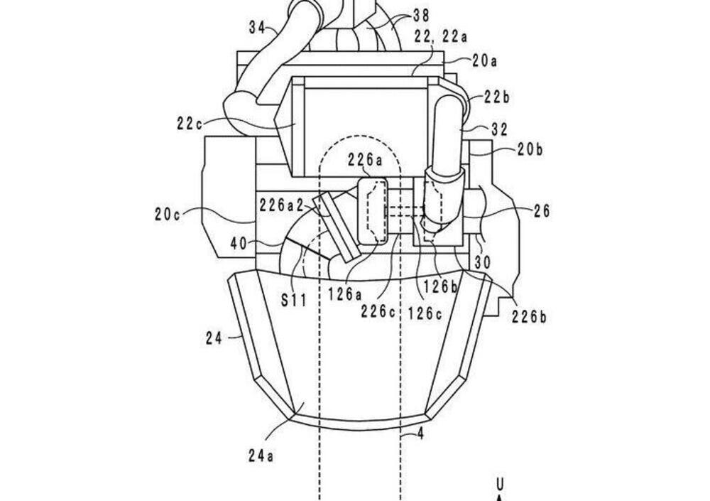
Per far questo si è arrivati a studiare - e a questo si riferisce il brevetto richiesto nel 2020 e rilasciato il 17 agosto 2022 come riportato dai colleghi di Youngmachine - un sistema che sfrutta una singola valvola a farfalla per l'intero gruppo termico (dotato di iniezione diretta e turbocompressore posto davanti ai cilindri), al posto di una valvola per ciascuno dei tre cilindri. Si tratta di tecnologie mutuate dal settore automobilistico dove il brevetto Yamaha potrebbe effettivamente essere significativo per la riduzione del ritardo nella risposta del Turbo, aspetto particolarmente critico sulla dinamica di guida di una motocicletta.

L'impatto di questa scelta tecnica sulle performance sembra quindi quello di avere una risposta più pronta, ma sopratutto contenere al minimo le emissioni: si parla di una riduzione del 30% di CO2 e in ogni caso più che dimezzate per il monossido di carbonio e degli ossidi di azoto rispetto ai limiti Euro 5 per il tre cilindri in linea di 847 cc, stessa cilindrata della precedente versione dell'MT-09 aspirato ma dotato di distribuzione a fasatura variabile, che erogherebbe così 180 cv a 8.500 giri con una curva di coppia favorevolissima e l'impressionante valore di 18 kgm nel range di utilizzo che va dai 3.000 ai 7.000 giri. Se già la MT-10 è nota per un'erogazione "robusta", immaginate cosa potrebbe fare dotata di questo motore...

 

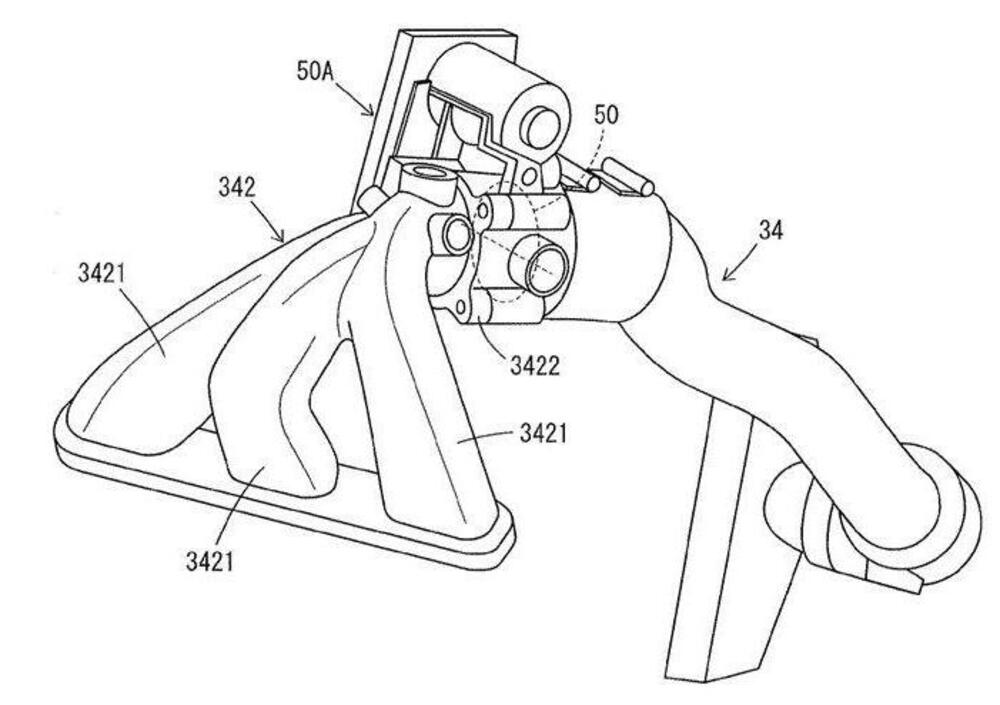
I disegni e la foto  mostrano il propulsore dotato di sovralimentazione montato, appunto, su una MT-10, questo non vuol necessariamente dire che sarà questa la moto designata a riceverlo, si tratta - come solito nel caso dei brevetti - di ipotesi di studio e sviluppo e non è nemmeno certo che la moto o il motore turbo arrivino poi in produzione.

Argomenti

Caricamento commenti...