Difficoltà in manovra? Ci pensa Michelin

Difficoltà in manovra? Ci pensa Michelin
Dal costruttore di pneumatici il brevetto di un dispositivo elettrico, montabile semplicemente su tutte le moto, che aiuta nelle manovre di parcheggio
20 gennaio 2021

Selle alte da terra, moto pesanti, pendenze da affrontare: sono tutte condizioni che possono complicare le semplici manovre da fermo alla guida di una moto.

Il costruttore di pneumatici francese Michelin ha brevettato una soluzione al problema.
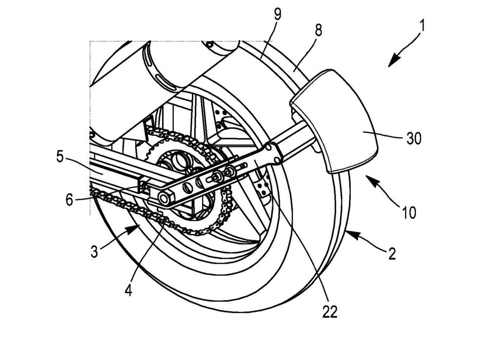
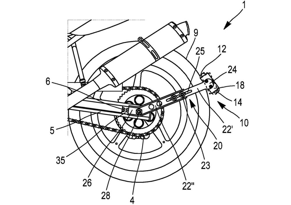
Si tratta di un dispositivo elettrico dotato di batteria autonoma agli ioni di litio (da 2 Ah) azionabile con due pulsanti che si possono fissare al manubrio e che tramite un rullo può far muovere in avanti o indietro la ruota posteriore o l'anteriore.

Naviga su Moto.it senza pubblicità
1 euro al mese

Il motore elettrico da 3,6 V offre una coppia dai 2 ai 4 Nm in grado di imprimere, attraverso due rulli che entrano in contatto con uno dei pneumatici, una velocità molto bassa (circa 1 km/h) che però è sufficiente a muovere la moto se si dovesse presentare una situazione più difficile del solito.

Il dispositivo, di misure molto compatte, può essere alloggiato sfruttando gli attacchi esistenti per i parafanghi posteriori bassi o i portatarga vicini alla ruota.

Allo stesso modo può trovare spazio fra il parafango anteriore e il pneumatico. Una volta azionato il telecomando, il rullo si avvicina al pneumatico e il gioco è fatto.

Finirà in produzione? Impossibile dirlo, per ora si tratta di un brevetto e qualcosa di simile già esiste nel campo dei caravan; ma effettivamente compattezza, semplicità e – crediamo – costi contenuti potrebbero trasformarlo in realtà.

fonte motorcycle.com

 

Caricamento commenti...