BMW. Il ritorno del C1, ma sarà elettrico e pieno di tecnologia

BMW ha brevettato un tettuccio per il C Evolution. Una soluzione che ricorda il C1, ma con airbag e protezioni attive
4 agosto 2020

Vi ricordate il BMW C1? Lo scooter con il tettuccio della Casa bavarese? Divise il pubblico in fatto di estetica, ma chi lo ha acquistato no lo ha più abbandonato, diversamente da quanto fatto dalla stessa BMW, che per anni ha messo in un angolo il progetto. 

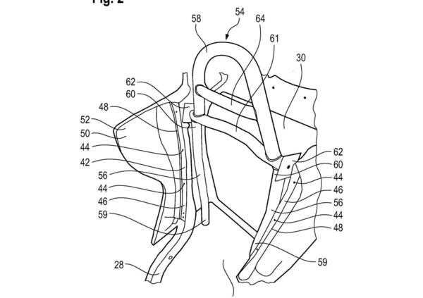
Oggi, a giudicare dai brevetti depositati, quel concetto è stato rispolverato e migliorato. Infatti BMW ha progettato un tettuccio per il C Evolution, totalmente rimovibile, che non solo protegge da pioggia e vento, ma che offre anche protezione al conducente

Resta la cintura di sicurezza, come nel C1, ma si aggiungono anche airbag laterali e anche protezioni aerodinamiche attive. Inoltre BMW  ha progettato uno schienale dotato di sezioni imbottite gonfiabili, che fungono da ammortizzatori in caso di impatto posteriore per attutire il colpo.
Il più grande passo avanti rispetto al tettuccio del C1 è probabilmente nella struttura stessa. Il peso del telaio in alluminio del C1 infatti aveva ripercussioni poco gradevoli sulla dinamica di guida: quindi, per ovviare al problema, in BMW ha deciso di passare alla fibra di carbonio. 

Naviga su Moto.it senza pubblicità
1 euro al mese

Hot now

Caricamento commenti...