Anche Honda sta lavorando ad una pocket bike elettrica. Ma ha la forcella della Gold Wing e un foro sul faro

Anche Honda sta lavorando ad una pocket bike elettrica. Ma ha la forcella della Gold Wing e un foro sul faro
Un nuovo brevetto ridesta l'attenzione su un progetto Honda di cui siamo a conoscenza da un paio d'anni di una piccola "Grom" elettrica e innovativa. Ma a cosa serve questo buco?
3 settembre 2024

Le prime domande di brevetto da parte di Honda su questa moto risalgono al 2021, ma da allora se ne erano perse un po' le tracce. Si tratterebbe di una moto elettrica dalle dimensioni compatte, paragonabili a quelle di una MSX Grom per intenderci, ma con un design totalmente diverso. In queste ore ritorna di attualità in quanto i colleghi di Cycle World, sempre molto attenti alle registrazioni di brevetto, ne hanno scovato uno nuovo che la riguarda. La richiesta è inerente al faro anteriore, ma cerchiamo di capirne qualcosa di più.

Il brevetto di Honda di una pocket bike elettrica con sospensione Hossack e il particolare "ring light"
Il brevetto di Honda di una pocket bike elettrica con sospensione Hossack e il particolare "ring light"
Naviga su Moto.it senza pubblicità
1 euro al mese

Si lavora sulle elettriche compatte

Sembra che il segmento delle elettriche ultra compatte da città possa rappresentare un mercato interessante. Altrimenti non si spiegherebbe perché le Case stiano investendo su questo tipo di moto che possono in verità rappresentare l'alternativa urbana agli scooter ma anche alle stesse moto di maggiori dimensioni più complicate da gestire e, si presume, anche da comprare. Dimensioni compatte significa più agilità, pesi inferiori e non c'è necessità di batterie più grandi e quindi pesanti e appunto costose. Pochi giorni fa vi abbiamo parlato del progetto di Zero Motorcycles e abbiamo usato come "metro di misura" per rendervi meglio l'idea dimensionale proprio la Honda Grom, in Italia nota come MSX125. Lo stesso rapporto si può fare per quest'altro progetto che però è proprio di Honda. Come sappiamo la Casa giapponese ha in programma di avere almeno dieci moto elettriche nella sua gamma globale entro il 2025. Presupponendo che la maggior parte siano scooter e ciclomotori, delle dieci è lecito aspettarsi che almeno tre siano invece a carattere più di divertimento. Tra queste noi ci aspettiamo ci possa essere proprio la moto di questo brevetto, il cui design, almeno stando ai brevetti che la riguardano, pare essere rimasto pressoché invariato.

Niente sterzi, siamo Hossack

Una delle particolarità chiare sin da subito di questo progetto di Honda, oltre alle sue dimensioni compatte, riguarda la ciclistica. Probabilmente per alleggerire la struttura centrale e ridurre il numero di componenti, i disegni mostrano una sospensione anteriore poco convenzionale. Si tratta di uno schema Hossack come quello adottato dalla Honda Gold Wing quindi con monoammortizzatore centrale. Interessante è anche notare che la Casa aveva registrato dei nuovi brevetti proprio su questo schema nel 2020. Una soluzione, quella Hossack, che in genere si abbina a moto di dimensioni importanti e pesi elevati come, per l'appunto, la Gold Wing e che risulta particolarmente insolito su una piccola motocicletta con ruote da dodici o quattordici pollici. Il telaio in questo caso praticamente non esiste ed è lo stesso involucro della batteria a fornire l'elemento rigido centrale al quale si ancora lo schema sospensivo anteriore attraverso un telaietto piccolo e leggero. Il telaietto posteriore per la sella viene imbullonato alla cassa batteria e lo schema mostra un notevole sbalzo della ruota posteriore. Il motore è in pratica nel perno forcellone che, a sua volta, è monobraccio e si aggancia sempre al corpo centrale con un monoammortizzatore molto inclinato. La trasmissione sembrerebbe a cinghia dentata ma contenuta all'interno del forcellone secondo uno schema che ci ricorda quello delle nuove Can-Am elettriche.

Il disegno del "ring light" di forma circolare su una cruiser
Il disegno del "ring light" di forma circolare su una cruiser

Il foro con il faro attorno

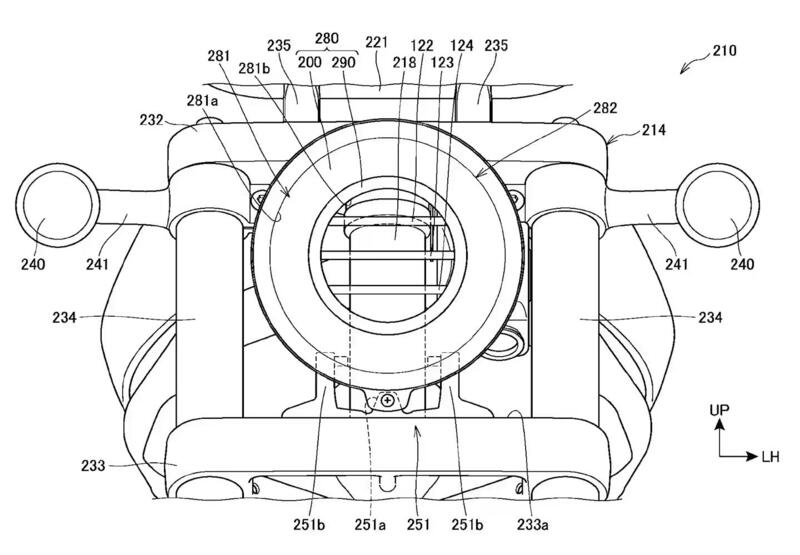
Oggetto dell'ultimo brevetto è il faro che ha la particolarità di avere un grande foro al centro. L'obiettivo sembra essere quello di convogliare il flusso d'aria attraverso per raffreddare i LED del faro stesso, certo, ma anche per rinfrescare il pacco batteria. La batteria è infatti raffreddata ad aria e il sistema di sospensione anteriore a trave consente di non avere un cannotto di sterzo. Perciò ulteriore aria di raffreddamento passa attraverso lo spazio tra il muso e la parte superiore della ruota anteriore.

Nel disegno si notano anche dei dissipatori di calore orizzontali al centro della presa d'aria. Sono loro l'oggetto del brevetto in quanto considerati essenziali per l'affidabilità del faro stesso. I fari a LED ad anello che vediamo attualmente in commercio, come quello ad esempio della KTM 990 Duke, hanno poi al centro un altro faro principale per la luce anabaggliante e abbagliante mentre questo proposto da Honda funziona esso stesso come unica fonte di luce. Nel brevetto, inoltre, viene mostrata anche una versione circolare del faro. è montata su una cruiser con motore endotermico in stile Rebel. Qui si nota come dall'apertura del faro si veda il cannotto di sterzo e deduciamo che l'obiettivo di avere una "ring light" di questo tipo sia quello di avere un vantaggio in termini di temperatura d'esercizio oltre che estetiche.

Argomenti

Caricamento commenti...